Pioneer MVH-330DAB, MVH-130DAB - Digital Media Receiver Quick Start Guide

Before You Start
To ensure proper use, please read through this guide before using this product. It is especially important that you read and observe WARNINGS and CAUTIONS in this guide. Please keep the guide in a safe and accessible place for future reference.

If you want to dispose this product, do not mix it with general household waste. There is a separate collection system for used electronic products in accordance with legislation that requires proper treatment, recovery and recycling.
Private households in the member states of the EU, in Switzerland and Norway may return their used electronic products free of charge to designated collection facilities or to a retailer (if you purchase a similar new one).
For countries not mentioned above, please contact your local authorities for the correct method of disposal. By doing so you will ensure that your disposed product undergoes the necessary treatment, recovery and recycling and thus prevent potential negative effects on the environment and human health.
- Do not attempt to install or service this product by yourself. Installation or servicing of this product by persons without training and experience in electronic equipment and automotive accessories may be dangerous and could expose you to the risk of electric shock, injury or other hazards.
- Do not attempt to operate the unit while driving. Make sure to pull off the road and park your vehicle in a safe location before attempting to use the controls on the device.
- Slots and openings in the cabinet are provided for ventilation to ensure reliable operation of the product, and to protect it from overheating. To prevent fire hazard, the openings should never be blocked or covered with items (such as papers, floor mat, cloths).
- Do not allow this unit to come into contact with moisture and/or liquids. Electrical shock could result. Also, damage to this unit, smoke, and overheating could result from contact with liquids.
- Always keep the volume low enough to hear outside sounds.
- The Pioneer CarStereo-Pass is for use only in Germany.
- This product is evaluated in moderate and tropical climate condition under the Audio, video and similar electronic apparatus - Safety requirements, IEC 60065.
If you experience problems
Should this unit fail to work properly, please contact your dealer or nearest authorised PIONEER Service Station.
Connections
-
When installing this unit in a vehicle without an ACC (accessory) position on the ignition switch, failure to connect the red cable to the terminal that detects operation of the ignition key may result in battery drain.
![Pioneer - MVH-330DAB - ACC position ACC position]()
- Use of this unit in conditions other than the following could result in fire or malfunction.
- Vehicles with a 12-volt battery and negative grounding.
- When speaker output is used by 4 channels, use speakers over 50 W (maximum input power) and between 4 Ω to 8 Ω (impedance value). Do not use 1 Ω to 3 Ω speakers for this unit.
- When rear speaker output is used by 2 Ω of subwoofer, use speakers over 70 W (maximum input power).
* Please refer to connections for a connection method.
-
To prevent a short-circuit, overheating or malfunction, be sure to follow the directions below.
-
Disconnect the negative terminal of the battery before installation.
-
Secure the wiring with cable clamps or adhesive tape. Wrap adhesive tape around wiring that comes into contact with metal parts to protect the wiring.
-
Place all cables away from moving parts, such as the shift lever and seat rails.
-
Place all cables away from hot places, such as near the heater outlet.
-
Do not connect the yellow cable to the battery by passing it through the hole to the engine compartment.
-
Cover any disconnected cable connectors with insulating tape.
-
Do not shorten any cables.
-
Never cut the insulation of the power cable of this unit in order to share the power with other devices. The current capacity of the cable is limited.
-
Use a fuse of the rating prescribed.
-
Never wire the negative speaker cable directly to ground.
-
Never band together negative cables of multiple speakers.
-
- When this unit is on, control signals are sent through the blue/white cable. Connect this cable to the system remote control of an external power amp or the vehicle's auto-antenna relay control terminal (max. 300mA 12 V DC). If the vehicle is equipped with a glass antenna, connect it to the antenna booster power supply terminal.
- Never connect the blue/white cable to the power terminal of an external power amp. Also, never connect it to the power terminal of the auto antenna. Doing so may result in battery drain or a malfunction.
- The black cable is ground. Ground cables for this unit and other equipment (especially, highcurrent products such as power amps) must be wired separately. If they are not, an accidental detachment may result in a fire or malfunction.
- The graphical symbol
placed on the product means direct current. - The function and audio settings other than the setting of RCA pre-outs are stored in memory if the unit is disconnected from power supply.
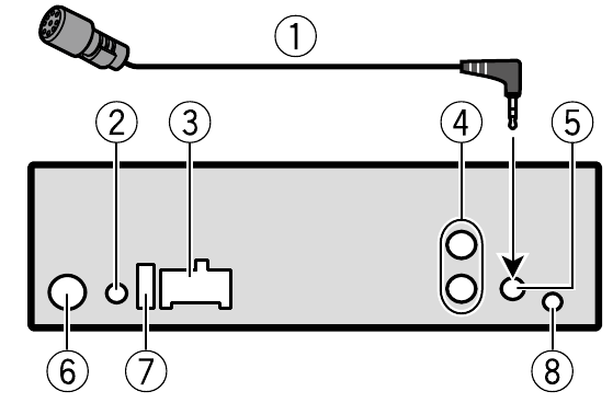
This unit

- Microphone (Only for MVH-330DAB) 3 m
- DAB antenna input
To receive DAB signals, connect a DAB antenna (CA-AN-DAB.001) (sold separately) to the unit. - Power cord input
- Rear output
- Microphone input (Only for MVH-330DAB)
- Antenna input
- Fuse (10 A)
- Wired remote input
Hard-wired remote control adapter can be connected (sold separately).
Power cord

- To power cord input
- Depending on the kind of vehicle, the function of
and
may be different. In this case, be sure to connect
to
and
to
. - Yellow
Back-up (or accessory) - Yellow
Connect to the constant 12 V supply terminal. - Red
Accessory (or back-up) - Red
Connect to terminal controlled by the ignition switch (12 V DC). - Connect leads of the same colour to each other.
- Black (chassis ground)
- Blue/white
The pin position of the ISO connector will differ depending on the type of vehicle. Connect
and
when Pin 5 is an antenna control type. In another type of vehicle, never connect
and
. - Blue/white
Connect to the system control terminal of the power amp (max. 300 mA 12 V DC). - Blue/white
Connect to the auto-antenna relay control terminal (max. 300 mA 12 V DC). - Speaker leads
White: Front left![]()
White/black: Front left![]()
Gray: Front right![]()
Gray/black: Front right![]()
Green: Rear left![]()
Green/black: Rear left![]()
Violet: Rear right![]()
Violet/black: Rear right![]()
- ISO connector
In some vehicles, the ISO connector may be divided into two. In this case, be sure to connect to both connectors.
NOTE
When using a subwoofer of 2 Ω, be sure to connect the subwoofer to the violet and violet/black leads of this unit. Do not connect anything to the green and green/black leads.
Power amp (sold separately)
Perform these connections when using the optional amplifier.

- System remote control
Connect to blue/white cable. - Power amp (sold separately)
- Connect with RCA cables (sold separately)
- To rear output
- Rear speaker
Installation
- Check all connections and systems before final installation.
- Do not use unauthorised parts as this may cause malfunctions.
- Consult your dealer if installation requires drilling of holes or other modifications to the vehicle.
- Do not install this unit where:
- it may interfere with operation of the vehicle.
- it may cause injury to a passenger as a result of a sudden stop.
- Install this unit away from hot places such as near the heater outlet.
- Optimum performance is obtained when the unit is installed at an angle of less than 60°.
![]()
- When installing, to ensure proper heat dispersal when using this unit, make sure you leave ample space behind the rear panel and wrap any loose cables so they are not blocking the vents.
![Pioneer - MVH-330DAB - Installation Installation]()
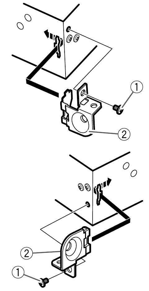
DIN mount installation
- Insert the supplied mounting sleeve into the dashboard.
- Secure the mounting sleeve by using a screwdriver to bend the metal tabs (90°) into place.
- Dashboard
- Mounting sleeve
- Make sure that the unit is installed securely in place. An unstable installation may cause skipping or other malfunctions
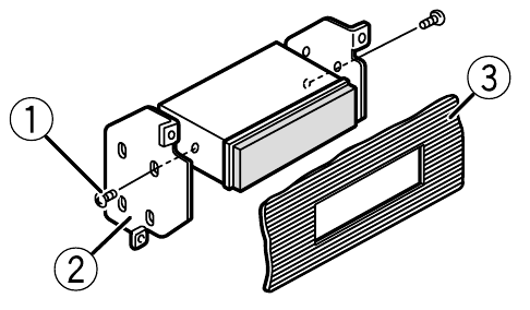
When not using the supplied mounting sleeve
- Line up the holes on the mounting bracket with the holes on the sides of the unit to attach the bracket.
![]()
- Screw in one screw on each side to hold the unit in place.
- Tapping screw (5 mm × 9 mm, not supplied with product)
- Mounting bracket
- Dashboard or console
Using the included bracket
Check to make sure that the included bracket matches your particular model of vehicle and then attach it to the unit as shown below.

- Screw
- Bracket
Removing the unit (installed with the supplied mounting sleeve)
- Remove the trim ring.
- Trim ring
- Notched tab
- Releasing the front panel allows easier access to the trim ring.
- When reattaching the trim ring, point the side with the notched tab down.
- Insert the supplied extraction keys into both sides of the unit until they click into place.
- Pull the unit out of the dashboard.
![Pioneer - MVH-330DAB - Removing the unit - Step 2 Removing the unit - Step 2]()
Installing the microphone
(Only for MVH-330DAB)
- The microphone should be placed directly in front of the driver at a suitable distance to pick up their voice clearly.
- Be sure to turn off (ACC OFF) the product before connecting the microphone.
It is extremely dangerous to allow the microphone lead to become wound around the steering column or shift lever. Be sure to install the microphone in such a way that it will not obstruct driving. It is recommended to use the clamps (sold separately) to arrange the lead.
NOTE
Depending on the vehicle model, the microphone cable length may be too short when you mount the microphone on the sun visor. In such cases, install the microphone on the steering column.
Mounting on the sun visor
- Fit the microphone into the microphone clip.
![Pioneer - MVH-330DAB - Mounting on the sun visor - Step 1 Mounting on the sun visor - Step 1]()
- Mount the microphone clip to the sun visor.
Lowering the sun visor reduces the voice recognition rate.
- Microphone clip
- Clamps
Use separately sold clamps to secure the lead where necessary inside the vehicle.
To install on the steering column
- Fit the microphone into the Microphone Base.
- Microphone
- Microphone base with double-sided tape
- Install the microphone on the rear side of the steering column.
- Microphone Base
- Clamps
Use separately sold clamps to secure the lead where necessary inside the vehicle.
- Keeping it away from the steering wheel.
Basic operation
MVH-330DAB

MVH-130DAB

About the main menu
You can adjust various settings in the main menu.
- Press the M.C. dial to display the main menu.
- Turn the M.C. dial to select one of the categories below, then press to confirm.
- FUNCTION settings
- AUDIO settings
- SYSTEM settings
- Turn the M.C. dial to select the options, then press to confirm.
Frequently used operations
| Purpose | Operation |
| Turn on the power | Press SRC/OFF to turn on the power. Press and hold SRC/OFF to turn off the power. |
| Adjust the volume | Turn the M.C. dial. |
| Select a source | Press SRC/OFF repeatedly. |
| Change the display information | Press DISP/DISP OFF repeatedly. Press and hold DISP/DISP OFF to turn off the display information and key illumination. |
| Return to the previous display/list | Press BAND/DIMMER . |
| Return to the normal display from the menu | Press and hold BAND/DIMMER . |
Setup operation
When you turn the ignition switch to ON after installation, [SETUP:YES] appears in the display.
- Press the M.C. dial.
- Turn the M.C. dial to select the options, then press to confirm. To proceed to the next menu option, you need to confirm your selection.
| Menu Item | Description |
| LANG [ENG](English), [FRA](French), [DEU](German) | Select the language to display. |
| CLOCK | Set the clock.
|
| FM STEP [100KHZ], [50KHZ] | Select the FM tuning step from 100 kHz or 50 kHz. |
| DAB ANT [ON] | Supply power to a DAB antenna. Select this when using the optional DAB antenna (CA-AN-DAB.001, sold separately) with the unit. |
| [OFF] | No power is supplied to a DAB antenna. Select this when using a passive antenna with no booster. |
- [QUIT:YES] appears when all the settings have been made. To return to the first item of the setup menu, turn the M.C. dial to select [QUIT:NO], then press to confirm.
- Press the M.C. dial to confirm the settings. [UPDATING] appears in the display and the service list will be updated.
Tuner operation
Receiving preset stations
- Press SRC/OFF to select [RADIO].
- Press BAND/DIMMER
to select the band.
[F1]
[F2]
[F3]
[AM] - Press a number button (1/
to 6/
).
Best stations memory (BSM)
- After selecting the band, press the M.C. dial to display the main menu.
- Turn the M.C. dial to select [FUNCTION], then press to confirm.
- Turn the M.C. dial to select [BSM], then press to confirm.
To store stations manually
- While receiving the station you want to store, press and hold one of the number buttons (1/
to 6/
) until it stops flashing.
USB/AUX operation
USB
- Open the USB port cover.
- Plug in the USB device using an appropriate cable.
AUX
- Insert the stereo mini plug into the AUX input jack.
- Press SRC/OFF to select [AUX] as the source.
Bluetooth® connection
Only for MVH-330DAB
- Turn on the Bluetooth function of the device.
- Select the unit name shown in the device display.
- Make sure the same 6-digit number appears on this unit and the device.
- Perform the pairing operation by operating the unit and the device.
NOTE
The Bluetooth® word mark and logos are registered trademarks owned by Bluetooth SIG, Inc. and any use of such marks by Pioneer Corporation is under licence. Other trademarks and trade names are those of their respective owners.
Bluetooth telephone
Only for MVH-330DAB
Basic operations
| Purpose | Operation |
| Answer an incoming call | Press any button when a call is received. |
| End a call | Press . |
| Reject an incoming call | Press and hold when a call is received. |
Bluetooth audio
- Connect the Bluetooth device as explained in the "Bluetooth connection" section.
- PressSRC/OFF to select [BT AUDIO] as the source.
Playback starts automatically.
Bass and treble control
- Press the M.C. dial to display the main menu.
- Turn the M.C. dial to select [AUDIO], then press to confirm.
- Turn the M.C. dial to select [BASS&TRE], then press to confirm.
- Turn the M.C. dial to select a tone control from [FLAT] to [EQ: 3] or select [CUSTOM], then press to confirm.
- In case [CUSTOM] has been selected, turn the M.C. dial to select [BASS] for bass adjustment or [TRE] for treble adjustment, then press to confirm.
- Turn the M.C. dial to change boost level of bass or treble respectively. The last changed value is stored as [CUSTOM].
To exit the audio setting mode, press BAND/DIMMER
.

Download manual
Here you can download full pdf version of manual, it may contain additional safety instructions, warranty information, FCC rules, etc.
Download Pioneer MVH-330DAB, MVH-130DAB - Digital Media Receiver Quick Start Guide

placed on the product means direct current.
and
may be different. In this case, be sure to connect
to
to
and
when Pin 5 is an antenna control type. In another type of vehicle, never connect 






.
[F2]
[F3]
to 6/
.