Pioneer MVH-S520BT - Digital Media Receiver Quick Start Guide
- 1 Connections
- 2 Installation
- 3 Installing the microphone
- 4 Basic operation
- 5 Setup operation
- 6 Tuner operation
- 7 USB/iPhone/AUX operation
- 8 Bluetooth connection
- 9 Bluetooth telephone
- 10 Making a connection with Pioneer Smart Sync
- 11 Listening to Spotify
- 12 References
- 13 Download manual
- 14 In Other Languages

Connections
In the following, "NW" represents network mode and "STD" represents standard mode. According to the connections you have established, change the speaker mode to standard mode (STD) or network mode (NW).

- When installing this unit in a vehicle without an ACC (accessory) position on the ignition switch, failure to connect the red cable to the terminal that detects operation of the ignition key may result in battery drain.
![]()
- Use of this unit in conditions other than the following could result in fire or malfunction.
- Vehicles with a 12-volt battery and negative grounding.
- When speaker output is used by 4 channels, use speakers over 50 W (maximum input power) and between 4 Ω to 8 Ω (impedance value). Do not use 1 Ω to 3 Ω speakers for this unit.
- When rear speaker output is used by 2 Ω of subwoofer, use speakers over 70 W (maximum input power).
* Please refer to connections for a connection method.
- To prevent a short-circuit, overheating or malfunction, be sure to follow the directions below.
- Disconnect the negative terminal of the battery before installation.
- Secure the wiring with cable clamps or adhesive tape. Wrap adhesive tape around wiring that comes into contact with metal parts to protect the wiring.
- Place all cables away from moving parts, such as the shift lever and seat rails.
- Place all cables away from hot places, such as near the heater outlet.
- Do not connect the yellow cable to the battery by passing it through the hole to the engine compartment.
- Cover any disconnected cable connectors with insulating tape.
- Do not shorten any cables.
- Never cut the insulation of the power cable of this unit in order to share the power with other devices. The current capacity of the cable is limited.
- Use a fuse of the rating prescribed.
- Never wire the negative speaker cable directly to ground.
- Never band together negative cables of multiple speakers.
- When this unit is on, control signals are sent through the blue/white cable. Connect this cable to the system remote control of an external power amp or the vehicle's auto-antenna relay control terminal (max. 300 mA 12 V DC). If the vehicle is equipped with a glass antenna, connect it to the antenna booster power supply terminal.
- Never connect the blue/white cable to the power terminal of an external power amp. Also, never connect it to the power terminal of the auto antenna. Doing so may result in battery drain or a malfunction.
- The graphical symbol
placed on the product means direct current.
This unit

- Microphone (3 m)
- Power cord input
- Microphone input
- Rear output (STD) or middle range output (NW)
- Front output (STD) or high range output (NW)
- Antenna input
- Fuse (10 A)
- Wired remote input
Hard-wired remote control adapter can be connected (sold separately). - Subwoofer output
Power cord

- To power cord input
- Depending on the kind of vehicle, the function of
and
may be different. In this case, be sure to connect
to
and
to
. - Yellow
Back-up (or accessory) - Yellow
Connect to the constant 12 V supply terminal. - Red
Accessory (or back-up) - Red
Connect to terminal controlled by the ignition switch (12 V DC). - Connect leads of the same colour to each other.
- Black (chassis ground)
- Blue/white
The pin position of the ISO connector will differ depending on the type of vehicle. Connect
and
when Pin 5 is an antenna control type. In another type of vehicle, never connect
and
. - Blue/white
Connect to the system control terminal of the power amp (max. 300 mA 12 V DC). - Blue/white
Connect to the auto-antenna relay control terminal (max. 300 mA 12 V DC). - Speaker leads
White: Front left
(STD) or high range left
(NW)
White/black: Front left
(STD) or high range
left (NW)
Gray: Front right
(STD) or high range right
(NW)
Gray/black: Front right
(STD) or high range right
(NW)
Green: Rear left
(STD) or middle range left
(NW)
Green/black: Rear left
(STD) or middle range left
(NW)
Violet: Rear right
(STD) or middle range right
(NW)
Violet/black: Rear right
(STD) or middle range right
(NW) - Orange/white
Connect to a car's illumination signal. - ISO connector
In some vehicles, the ISO connector may be divided into two. In this case, be sure to connect to both connectors.
NOTES
- Change the initial menu of this unit. Refer to [REAR-SP]. The subwoofer output of this unit is monaural.
- When using a subwoofer of 2 Ω, be sure to connect the subwoofer to the violet and violet/ black leads of this unit. Do not connect anything to the green and green/black leads.
Power amp (sold separately)
Perform these connections when using the optional amplifier.

- System remote control
Connect to blue/white cable. - Power amp (sold separately)
- Connect with RCA cables (sold separately)
- To rear output (STD) or middle range output (NW)
- Rear speaker (STD) or middle range speaker (NW)
- To front output (STD) or high range output (NW)
- Front speaker (STD) or high range speaker (NW)
- To subwoofer output
- Subwoofer
Installation
- Check all connections and systems before final installation.
- Do not use unauthorised parts as this may cause malfunctions.
- Consult your dealer if installation requires drilling of holes or other modifications to the vehicle.
- Do not install this unit where:
- it may interfere with operation of the vehicle.
- it may cause injury to a passenger as a result of a sudden stop.
- Install this unit away from hot places such as near the heater outlet.
- Optimum performance is obtained when the unit is installed at an angle of less than 60°.
![]()
- When installing, to ensure proper heat dispersal when using this unit, make sure you leave ample space behind the rear panel and wrap any loose cables so they are not blocking the vents.
![Pioneer - MVH-S520BT - Leave Ample Space Leave Ample Space]()
DIN mount installation
- Insert the supplied mounting sleeve into the dashboard.
- Secure the mounting sleeve by using a screwdriver to bend the metal tabs (90°) into place.
- Dashboard
- Mounting sleeve
- Make sure that the unit is installed securely in place. An unstable installation may cause skipping or other malfunctions.
When not using the supplied mounting sleeve
- Line up the holes on the mounting bracket with the holes on the sides of the unit to attach the bracket.
![]()
- Screw in one screw on each side to hold the unit in place.
- Tapping screw (5 mm × 9 mm, not supplied with product)
- Mounting bracket
- Dashboard or console
Using the included bracket
Check to make sure that the included bracket matches your particular model of vehicle and then attach it to the unit as shown below.


- Screw
- Bracket
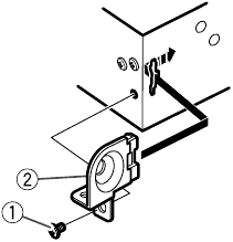
Removing the unit (installed with the supplied mounting sleeve)
- Remove the trim ring.
- Trim ring
- Notched tab
- Releasing the front panel allows easier access to the trim ring.
- When reattaching the trim ring, point the side with the notched tab down.
- Insert the supplied extraction keys into both sides of the unit until they click into place.
- Pull the unit out of the dashboard.
![Pioneer - MVH-S520BT - Removing the Unit - Step 2 Removing the Unit - Step 2]()
Installing the microphone
The microphone should be placed directly in front of the driver at a suitable distance to pick up their voice clearly.
It is extremely dangerous to allow the microphone lead to become wound around the steering column or shift lever. Be sure to install the microphone in such a way that it will not obstruct driving. It is recommended to use the clamps (sold separately) to arrange the lead.
NOTE
Depending on the vehicle model, the microphone cable length may be too short when you mount the microphone on the sun visor. In such cases, install the microphone on the steering column.
To install on the sun visor
- Fit the microphone lead into the groove.
- Microphone lead
- Groove
- Install the microphone clip on the sun visor.
Lowering the sun visor reduces the voice recognition rate.
- Microphone clip
To install on the steering column
- Slide the microphone base to detach it from the microphone clip.
- Microphone
- Microphone clip
- Microphone base
- Install the microphone on the rear side of the steering column.
- Double-sided tape
Basic operation
MVH-S520BT

About the main menu
You can adjust various settings in the main menu.
- Press the M.C. dial to display the main menu.
- Turn the M.C. dial to select one of the categories below, then press to confirm.
- FUNCTION settings
- AUDIO settings
- SYSTEM settings
- ILLUMINATION settings
- MIXTRAX settings
- MICROPHONE settings
- Turn the M.C. dial to select the options, then press to confirm.
Frequently used operations
| Purpose | Operation |
| Turn on the power | Press SRC/OFF to turn on the power. Press and hold SRC/OFF to turn off the power. |
| Adjust the volume | Turn the M.C. dial. |
| Select a source | Press SRC/OFF repeatedly. |
| Change the display information | Press DISP repeatedly. |
| Return to the previous display/list | Press BAND/ . |
| Return to the normal display from the menu | Press and hold BAND/ . |
| Change the display brightness | Press and hold BAND/ . |
Setup operation
When you turn the ignition switch to ON after installation, the setup menu appears in the display.
Do not use the unit in standard mode when a speaker system for network mode is connected to the unit. Do not use the unit in network mode when a speaker system for standard mode is connected to the unit. This may cause damage to the speakers.
- Turn the M.C. dial to select the options, then press to confirm.
To proceed to the next menu option, you need to confirm your selection.
| Menu Item | Description |
| LANGUAGE [ENG](English), | Select the language to display the text information from a compressed audio file. |
| CLOCK SET | Set the clock.
|
| FM STEP [100], [50] | Select the FM tuning step from 100 kHz or 50 kHz. |
| SPEAKER MODE [STANDARD], | Switch between two operation modes: the 2-way network mode (NETWORK) and the standard mode (STANDARD) according to the connections you have established. After selecting the appropriate mode, turn the M.C. dial to select [YES], then press to confirm.
|
- [QUIT:YES] appears.
To return to the first item of the setup menu, turn the M.C. dial to select [QUIT:NO], then press to confirm. - Press the M.C. dial to confirm the settings.
Tuner operation
Receiving preset stations
- Press SRC/OFF to select [RADIO].
- Press BAND/
to select the band.
[FM1]
[FM2]
[FM3]
[MW]/[LW] - Press a number button (1/
to 6/
).
Best stations memory (BSM)
- After selecting the band, press the M.C. dial to display the main menu.
- Turn the M.C. dial to select [FUNCTION], then press to confirm.
- Turn the M.C. dial to select [BSM], then press to confirm.
To store stations manually
- While receiving the station you want to store, press and hold one of the number buttons (1/
to 6/
) until it stops flashing.
USB/iPhone/AUX operation
(iPhone source is not available when [USB MTP] is set to [ON] in the SYSTEM settings.)
USB/iPhone
- Open the USB port cover.
- Plug in the USB device/iPhone using an appropriate cable.
MTP connection
A device installed with Android OS 4.0 or most of later versions can be connected to the unit via MTP, using the cable supplied with the Android device. However, depending on the connected device, OS version or the numbers of the files in the device, audio files/songs may not be able to be played back via MTP.
NOTE
If you use an MTP connection, [USB MTP] needs to be set to [ON] in the SYSTEM settings.
AUX
- Insert the stereo mini plug into the AUX input jack.
- Press SRC/OFF to select [AUX IN] as the source.
Bluetooth connection
Up to two Bluetooth telephones can be connected simultaneously.
- Turn on the Bluetooth function of the device.
- Select the unit name shown in the device display.
- Make sure the same 6-digit number appears on this unit and the device.
- Select [YES].
Bluetooth telephone
Basic operations
| Purpose | Operation |
| Answer an incoming call | Press any button when a call is received. |
| End a call | Press . |
| Reject an incoming call | Press and hold when a call is received. |
Activating voice recognition mode
- Press and hold
and then talk into the microphone to input voice commands.
To exit the voice recognition mode, press BAND/
.
Making a connection with Pioneer Smart Sync
Pioneer Smart Sync is the application that intelligently brings your maps, messages, and music together in the vehicle.
Do not attempt to operate the application while driving. Make sure to pull off the road and park your vehicle in a safe location before attempting to use the controls on the application.
- Enter the SYSTEM menu (refer to "About the main menu").
- Turn the M.C. dial to select [APP CONTROL], then press to confirm.
- Turn the M.C. dial to select one of the below.
- Select [WIRED] for the USB connection.
- Select [BLUETOOTH] for the Bluetooth connection.
- Turn the M.C. dial to select [AUTO APP CONN], then press to confirm.
- Turn the M.C. dial to select [ON], then press to confirm.
- Connect this unit with the mobile device via USB or Bluetooth. Pioneer Smart Sync on the iPhone/Android device starts automatically.
NOTE
Regardless of whether the [AUTO APP CONN] setting is set to [ON] or [OFF], you can also perform the following to start Pioneer Smart Sync.- For devices other than the USB-connected Android device, press SRC/OFF to select any source and press and hold the M.C. dial.
- For iPhone, launch Pioneer Smart Sync on the mobile device.
Listening to Spotify®
(Not available when [USB MTP] is set to [ON] in the SYSTEM settings.)
Update the firmware of the Spotify application to the latest version before use.
Before you start, connect this unit with the mobile device via USB (iPhone only) or Bluetooth.
- Enter the SYSTEM menu (refer to "About the main menu").
- Turn the M.C. dial to select [APP CONTROL], then press to confirm.
- Turn the M.C. dial to select one of the below.
- Select [WIRED] for the USB connection.
- Select [BLUETOOTH] for the Bluetooth connection.
- Press SRC/OFF to select [SPOTIFY].
- Launch the Spotify application on the mobile device and start playback.

References
Download manual
Here you can download full pdf version of manual, it may contain additional safety instructions, warranty information, FCC rules, etc.
Download Pioneer MVH-S520BT - Digital Media Receiver Quick Start Guide

placed on the product means direct current.
and
may be different. In this case, be sure to connect
to
to
and
when Pin 5 is an antenna control type. In another type of vehicle, never connect 



.
.
to select the band.
[FM2]
to 6/
. 