Horizon Fitness GR3, GR5, GR6 - SISÄPYÖRÄN käsikirja

LAITTEEN KÄYTTÖ
LAITTEEN SIIRTÄMINEN
Sisäpyörän painon vuoksi on suositeltavaa, että kaksi henkilöä siirtää sitä. Kun toinen henkilö nostaa sisäpyörän takaosan ylös, toinen henkilö pitää tukevasti kiinni ohjaustangosta ja kallistaa sisäpyörää eteenpäin, kunnes se rullaa pyörien päällä. Siirrä sisäpyörä varovasti haluttuun paikkaan ja laske se sitten alas.
Jos sisäpyörä heiluu lattialla, kun se on laskettu alas, käännä etu- tai takavakaajan alla olevia säätöjalkoja, kunnes heiluminen lakkaa.

LAITTEEN SIJAINTI
Aseta sisäpyörä tasaiselle alustalle. Sisäpyörän ympärillä tulisi olla 60 cm tilaa kummallakin sivulla. Älä aseta pyörää millekään alueelle, joka tukkii tuuletusaukkoja tai ilmanvaihtoaukkoja. Sisäpyörää ei saa sijoittaa autotalliin, katetulle patiolle, veden lähelle tai ulos.

Loukkaantumisriskin vähentämiseksi ole erittäin varovainen siirtäessäsi sisäpyörää. Älä yritä siirtää sitä epätasaisilla pinnoilla ja varmista, että lähimpään laitteeseen on suositeltavaa vähintään 50 cm:n turvaetäisyys.
LAITTEEN SÄÄTÄMINEN
Sisäpyörää voidaan säätää maksimaalisen mukavuuden ja harjoitustehokkuuden saavuttamiseksi. Alla olevissa ohjeissa kuvataan yksi tapa säätää sisäpyörä optimaalisen käyttömukavuuden ja ihanteellisen kehon asennon varmistamiseksi; voit halutessasi säätää sisäpyörää eri tavalla.
SATULAN SÄÄTÖ
Oikea satulan korkeus auttaa varmistamaan maksimaalisen harjoitustehokkuuden ja mukavuuden sekä vähentämään loukkaantumisriskiä. Säädä satulan korkeus varmistaaksesi, että se on oikeassa asennossa, joka pitää polvessa pienen taivutuksen, kun jalat ovat ojennetussa asennossa.
OHJAUSTANGON SÄÄTÖ
Ohjaustangon oikea asento perustuu pääasiassa mukavuuteen. Yleensä ohjaustangon tulisi olla hieman satulaa korkeammalla aloitteleville pyöräilijöille. Kokeneemmat pyöräilijät voivat kokeilla eri korkeuksia löytääkseen itselleen sopivimman asennon.

SATULAN KORKEUDEN SÄÄTÄMINEN
Kierrä säätövipua vastapäivään ja säädä satula mukavaan polkemisasentoon. Kierrä vipua myötäpäivään lukitaksesi satulan asennon.

SATULAN VAAKA-ASENNON SÄÄTÄMINEN
Kierrä säätövipua vastapäivään siirtääksesi satulaa eteen- tai taaksepäin halutulla tavalla. Kierrä vipua myötäpäivään lukitaksesi satulan asennon. Testaa satulan liukua varmistaaksesi sen oikean toiminnan.
OHJAUSTANGON KORKEUDEN SÄÄTÄMINEN
Kierrä säätövipua vastapäivään säätääksesi ohjaustangon korkeutta. Nosta tai laske ohjaustankoa haluttuun korkeuteen. Kierrä vipua myötäpäivään lukitaksesi ohjaustangon asennon.

POLKIMEN REMMIEN SÄÄTÄMINEN
Aseta kukin nilkka polkimelle ja varvasklipsiin siten, että nilkka on polkimen karan (polkimen keskipisteen) päällä. Kierrä toista jalkaa käsivarren ulottuville ja vedä varvasklipsin remmiä ylös. Toista toiselle jalalle. Pidä polvet jalkojen päällä polkiessasi. Irrottaaksesi jalkasi varvasklipsistä, löysää remmiä ja vedä jalka ulos.
VASTUKSEN SÄÄTÖ JA HÄTÄJARRU
Polkemisen haluttu vaikeustaso (vastus) voidaan säätää hienovaraisesti vastuksen säätönupilla. Lisää vastusta kiertämällä vastuksen säätönuppia myötäpäivään. Vähennä vastusta kiertämällä nuppia vastapäivään.

- Pysäytä vauhtipyörä polkemisen aikana painamalla punaista hätäjarrun vipua.
- Vauhtipyörän tulisi pysähtyä nopeasti kokonaan.
- Varmista, että kenkäsi on kiinnitetty varvasklipsiin.
- Käytä täyttä vastusta, kun pyörä ei ole käytössä, jotta vältät liikkuvien voimansiirto-osien aiheuttamat vammat.
Sisäpyörässä ei ole vapaasti liikkuvaa vauhtipyörää; polkimet liikkuvat edelleen yhdessä vauhtipyörän kanssa, kunnes vauhtipyörä pysähtyy. Nopeutta on vähennettävä hallitusti. Pysäytä vauhtipyörä välittömästi painamalla punaista hätäjarrun vipua. Polje aina hallitusti ja säädä haluamasi kadenssi omien kykyjesi mukaan. Punaisen vivun painaminen alas = hätäpysäytys.
Sisäpyörässä käytetään kiinteää vauhtipyörää, joka kasvattaa vauhtia ja pitää polkimet pyörimässä, vaikka käyttäjä lopettaisi polkemisen tai jos käyttäjän jalat liukuvat pois. ÄLÄ YRITÄ IRROTTAA JALKOJASI POLKIMISTA TAI POISTUA LAITTEESTA, ENNEN KUIN SEKÄ POLKIMET ETTÄ VAUHTIPYÖRÄ OVAT PYSÄHTYNEET TÄYSIN. Näiden ohjeiden noudattamatta jättäminen voi johtaa hallinnan menettämiseen ja mahdollisiin vakaviin vammoihin.
KOKOONPANO
Kokoonpanoprosessin aikana on useita alueita, joihin on kiinnitettävä erityistä huomiota. On erittäin tärkeää noudattaa kokoonpano-ohjeita oikein ja varmistaa, että kaikki osat on kiristetty tiukasti. Jos kokoonpano-ohjeita ei noudateta oikein, kuntopyörässä voi olla osia, jotka eivät ole tiukasti kiinni ja tuntuvat löysiltä ja voivat aiheuttaa ärsyttäviä ääniä. Kuntopyörän vaurioitumisen estämiseksi kokoonpano-ohjeet on tarkistettava ja korjaavat toimenpiteet on suoritettava.
Ennen kuin jatkat, etsi kuntopyörän sarjanumero, joka sijaitsee pyörän etuvakaimessa, ja kirjoita se muistiin myöhempää käyttöä varten.


» Ilmoita SARJANUMERO ja MALLIN NIMI, kun soitat huoltoon.
» Muista syöttää sekä SARJANUMERO että MALLIN NIMI takuukorttiisi.
MALLITIEDOT

MUKANA TOIMITETUT PÄÄOSAT
- 1 päärunko
- Etu- ja takavakaaja
- Ohjaustankosarja
- Ohjaustangon mastosarja (vain GR6)
- Satulatolppasarja
- Poljinsarja
MUKANA TOIMITETUT OSAT PAKKAUS
- 1 osalaatikko
- 1 käyttöohje
PURKAMINEN
Kuntopyörän painon vuoksi on suositeltavaa, että kaksi henkilöä suorittaa kokoonpanon. Aseta kuntopyörä tyhjälle alueelle ja poista kaikki pakkausmateriaalit; älä hävitä pakkausmateriaaleja ennen kuin kokoonpano on valmis.
HUOMAUTUS: Varmista jokaisen kokoonpanovaiheen aikana, että KAIKKI mutterit ja pultit ovat paikallaan ja osittain kierteellä ennen kuin kiristät YHDEN pultin kokonaan.
HUOMAUTUS: Kevyt rasvan levitys voi auttaa laitteiston asennuksessa. Kaikkia rasvoja, kuten litiumpyörän rasvaa, suositellaan.
TARVITSETKO APUA?
Jos sinulla on kysyttävää tai jos puuttuu osia, ota yhteyttä paikalliseen jälleenmyyjään. Yhteystiedot löytyvät tämän oppaan takakannesta tai takuukortista.
GR3 KOKOONPANO
VAIHE 1
| VAIHEEN 1 LAITTEISTO: | ||
| NRO | KUVAUS | MÄÄRÄ |
| 1 | OHJAUSTANKO | 1 |
| 2 | SATULATOLPPA | 1 |
| 3 | VASEN POLJIN | 1 |
| 4 | OIKEA POLJIN | 1 |
| 5 | YHDISTELMÄVÄÄNNIN | 1 |

- Asenna OHJAUSTANKO (1) rungon vastaanottimeen ja kiinnitä nupilla.
- Asenna SATULATOLPPA (2) rungon vastaanottimeen ja kiinnitä nupilla.
- Kierrä VASEN POLJIN (3), jossa on "L" karassa, pyörän vasemman puolen varteen käyttämällä YHDISTELMÄVÄÄNNINTÄ (5). Huomaa, että L-poljin on vasenkätinen kierre, jota on kierrettävä vastapäivään kiristääksesi.
- Kierrä OIKEA POLJIN (4), jossa on "R" karassa, pyörän oikean puolen varteen käyttämällä YHDISTELMÄVÄÄNNINTÄ (5). Huomaa, että R-poljin on oikeakätinen kierre, jota on kierrettävä myötäpäivään kiristääksesi.
VAIHE 2
| VAIHEEN 2 LAITTEISTO: | ||
| NRO | KUVAUS | MÄÄRÄ |
| 6 | KUUSIOAVAIN | 1 |
| 7 | KUUSIOPOULTIT (M8 X 16L) | 8 |
| 8 | ALUSLEVYT | 8 |
| 9 | ETUVAKAAJA | 1 |
| 10 | TAKA VAKAAJA | 1 |

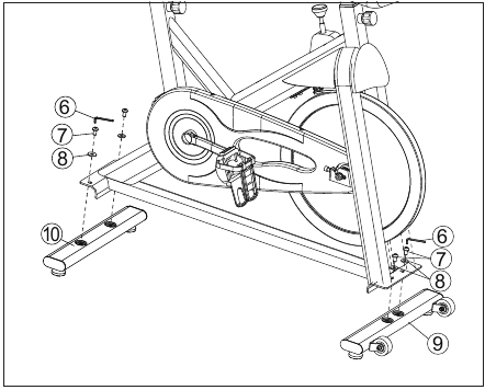
- Kiinnitä ETUVAKAAJA (9) runkoon 2 KUUSIOPOULTILLA (7) ja 2 ALUSLEVYLLÄ (8) ja kiinnitä tukevasti KUUSIOAVAIMELLA (6).
- Kiinnitä TAKA VAKAAJA (10) runkoon 2 KUUSIOPOULTILLA (7) ja 2 ALUSLEVYLLÄ (8) ja kiinnitä tukevasti KUUSIOAVAIMELLA (6).
GR5 KOKOONPANO
VAIHE 1
| VAIHEEN 1 LAITTEISTO: | ||
| NRO | KUVAUS | MÄÄRÄ |
| 1 | TAKA VAKAAJA | 1 |
| 2 | POULTIT | 4 |
| 3 | MUTTERIT | 4 |
| 4 | ALUSLEVYT | 4 |
| 5 | VÄÄNNIN | 1 |
| 6 | ETUVAKAAJA | 1 |

- Kiinnitä TAKA VAKAAJA (1) runkoon 2 MUTTERILLA (3), 2 ALUSLEVYLLÄ (4) ja 2 POULTILLA (2) ja kiinnitä tukevasti säädettävällä VÄÄNNIMELLÄ (5).
- Kiinnitä ETUVAKAAJA (6) runkoon 2 MUTTERILLA (3), 2 ALUSLEVYLLÄ (4) ja 2 POULTILLA (2) ja kiinnitä tukevasti säädettävällä VÄÄNNIMELLÄ (5).
VAIHE 2
| VAIHEEN 2 LAITTEISTO: | ||
| NRO | KUVAUS | MÄÄRÄ |
| 5 | VÄÄNNIN | 1 |
| 7 | OIKEA POLJIN | 1 |
| 8 | VASEN POLJIN | 1 |
| 9 | OHJAUSTANKO | 1 |

- Kierrä VASEN POLJIN (8), jossa on "L" karassa, pyörän vasemman puolen varteen käyttämällä säädettävää VÄÄNNINTÄ (5). Huomaa, että L-poljin on vasenkätinen kierre, jota on kierrettävä vastapäivään kiristääksesi.
- Kierrä OIKEA POLJIN (7), jossa on "R" karassa, pyörän oikean puolen varteen käyttämällä säädettävää VÄÄNNINTÄ (5). Huomaa, että R-poljin on oikeakätinen kierre, jota on kierrettävä myötäpäivään kiristääksesi.
- Asenna OHJAUSTANKO (9) rungon vastaanottimeen ja kiinnitä pikakiinnityksellä.
GR6 KOKOONPANO
VAIHE 1
| VAIHEEN 1 LAITTEISTO: | ||
| NRO | KUVAUS | MÄÄRÄ |
| 1 | POULTIT | 4 |
| 2 | MUTTERIT | 4 |
| 3 | ALUSLEVYT (M8) | 4 |
| 4 | ETUVAKAAJA | 1 |
| 5 | TAKA VAKAAJA | 1 |
| 6 | VÄÄNNIN | 1 |
- Kiinnitä ETUVAKAAJA (4) ja TAKA VAKAAJA (5) runkoon käyttämällä 4 POULTTIA (1) ja 4 ALUSLEVYÄ (3) ja 4 MUTTERIA (2) ja kiinnitä tukevasti VÄÄNTIMELLÄ (6).
![Horizon Fitness - GR3 - GR6 KOKOONPANO - VAIHE 1 GR6 KOKOONPANO - VAIHE 1]()
VAIHE 2
| VAIHEEN 2 LAITTEISTO: | ||
| NRO | KUVAUS | MÄÄRÄ |
| 6 | VÄÄNNIN | 1 |
| 7 | OHJAUSTANGON MASTO | 1 |
| 8 | SATULATOLPPA | 1 |
| 9 | OIKEA POLJIN | 1 |
| 10 | VASEN POLJIN | 1 |

- Kierrä VASEN POLJIN (10), jossa on "L" karassa, pyörän vasemman puolen varteen käyttämällä VÄÄNNINTÄ (6). Huomaa, että L-poljin on vasenkätinen kierre, jota on kierrettävä vastapäivään kiristääksesi.
- Kierrä OIKEA POLJIN (9), jossa on "R" karassa, pyörän oikean puolen varteen käyttämällä VÄÄNNINTÄ (6). Huomaa, että R-poljin on oikeakätinen kierre, jota on kierrettävä myötäpäivään kiristääksesi.
- Asenna OHJAUSTANGON MASTO (7) rungon vastaanottimeen ja kiinnitä pikakiinnityksellä.
- Asenna SATULATOLPPA (8) rungon vastaanottimeen ja kiinnitä pikakiinnityksellä.
VAIHE 3
| VAIHEEN 3 LAITTEISTO: | ||
| NRO | KUVAUS | MÄÄRÄ |
| 11 | PIKAKIINNITYS | 2 |
| 12 | OHJAUSTANKO | 1 |
| 13 | ALUSLEVYT (M10) | 4 |
| 14 | SATULA | 1 |
| 15 | SATULAN LIUKU | 1 |

- Asenna OHJAUSTANKO (12) ohjaustangon maston vastaanottimeen käyttämällä 2 ALUSLEVYÄ (13) ja kiinnitä PIKAKIINNITYKSELLÄ (11).
- Asenna SATULA (14) SATULAN LIU’UN (15) vastaanottimeen ja kiinnitä vääntimellä.
- Kiinnitä SATULAN LIUKU (15) SATULATOLPPAAN (8) käyttämällä 2 ALUSLEVYÄ (13) ja kiinnitä PIKAKIINNITYKSELLÄ (11).
YLEISIÄ TUOTTEESEEN LIITTYVIÄ KYSYMYKSIÄ
OVATKO LAITTEENI PITÄMÄT ÄÄNET NORMAALEJA?
Indoor Cycle -kuntopyörämme ovat hiljaisimpia saatavilla olevia, koska niissä käytetään hihnakäyttöjä ja ulokevastusta. Käytämme korkealaatuisimpia laakereita ja ketjuja/hihnoja melun minimoimiseksi. Koska vastusjärjestelmä itsessään on niin hiljainen, kuulet toisinaan muita pieniä mekaanisia ääniä. Toisin kuin vanhemmissa, äänekkäämmissä teknologioissa, Indoor Cycle -kuntopyörissämme ei ole tuulettimia, kitkahihnoja tai vaihtovirtageneraattorin ääniä peittämässä näitä ääniä. Nämä mekaaniset äänet, jotka voivat olla ajoittaisia, ovat normaaleja ja johtuvat huomattavan energiamäärän siirtymisestä nopeasti pyörivään vauhtipyörään. Kaikki laakerit, ketjut/hihnat ja muut pyörivät osat tuottavat jonkin verran ääntä, joka välittyy kotelon ja rungon läpi. On myös normaalia, että nämä äänet muuttuvat hieman harjoituksen aikana ja ajan myötä osien lämpölaajenemisen vuoksi.
MIKSI TOIMITETTU Indoor Cycle ON ÄÄNEKKÄÄMPI KUIN KAUPASSA OLLUT?
Kaikki kuntotuotteet vaikuttavat hiljaisemmilta suuressa myymälässä, koska siellä on yleensä enemmän taustamelua kuin kotonasi. Lisäksi ääni kaikuu vähemmän betonilattialla kuin puulattialla. Joskus paksu kumimatto auttaa vähentämään lattian kautta kantautuvaa kaikua. Jos kuntolaite sijoitetaan lähelle seinää, ääni heijastuu enemmän.
KUINKA KAUAN HIHNA KESTÄÄ
Tekemämme tietokonemallinnuksen mukaan hihna kestää käytännössä tuhansia huoltovapaita tunteja. Hihnaa ei pitäisi joutua vaihtamaan niin kauan kuin sinulla on Indoor Cycle.
VOINKO SIIRTÄÄ Indoor Cycle -KUNTOPYÖRÄÄ HELPPOSTI, KUN SE ON KOOTTU?
Indoor Cycle -kuntopyörässäsi on kaksi kuljetuspyörää, jotka on sisäänrakennettu etummaiseen vakaintankoon. Noudata Indoor Cycle -kuntopyörän siirtämistä koskevia ohjeita kuljettaaksesi Indoor Cycle -kuntopyörääsi. On tärkeää, että sijoitat Indoor Cycle -kuntopyöräsi mukavaan ja kutsuvaan huoneeseen. Indoor Cycle -kuntopyöräsi on suunniteltu käyttämään mahdollisimman vähän lattiatilaa. Monet ihmiset sijoittavat Indoor Cycle -kuntopyöränsä TV:tä tai maisemaikkunaa vastapäätä. Jos mahdollista, vältä Indoor Cycle -kuntopyörän sijoittamista keskeneräiseen kellariin. Jotta liikunnasta tulisi sinulle toivottavaa päivittäistä toimintaa, Indoor Cycle -kuntopyörän tulisi olla mukavassa ympäristössä.
VIANMÄÄRITYS
Laite pitää vinkuvaa tai sirisevää ääntä
Varmista seuraavat asiat:
- Indoor Cycle on tasaisella pinnalla.
- Löysää kaikkia asennusprosessin aikana kiinnitettyjä pultteja, rasvaa kierteet ja kiristä uudelleen.
Jos tämä ei korjaa ongelmaa, voit
OTTAA YHTEYTTÄ ASIAKASTUEN TEKNIIKKAAN TIEDOTUSKORTISSA OLEVASTA NUMEROSTA.
Seuraavia tietoja voidaan kysyä sinulta, kun soitat. Pidä nämä tiedot helposti saatavilla:
- Mallin nimi
- Sarjanumero
- Ostotodistus (kuitti tai luottokorttilasku)
Löydät lisää vianmääritysehdotuksia verkkosivustomme asiakastukiosiosta. Ota yhteyttä asiakastukeen TIEDOTUSKORTISSA olevien yhteystietojen avulla.
Jotta asiakastuen tekniikka voi huoltaa Indoor Cycle -kuntopyörääsi, heidän on ehkä esitettävä yksityiskohtaisia kysymyksiä esiintyvistä oireista. Joitakin mahdollisia vianmäärityskysymyksiä ovat:
- Kuinka kauan ongelma on jatkunut?
- Esiintyykö ongelma jokaisen käyttökerran yhteydessä? Jokaisen käyttäjän kanssa?
- Jos kuulet ääntä, tuleeko se edestä vai takaa? Minkälainen ääni se on (jyskyttävä, kirskuttava, vinkuva, sirisevä jne.)?
- Onko kone voideltu ja huollettu huolto-ohjelman mukaisesti?
Näihin ja muihin kysymyksiin vastaaminen antaa teknikoille mahdollisuuden lähettää oikeat varaosat ja tarvittavan huollon, jotta sinä ja Indoor Cycle -kuntopyöräsi toimivat jälleen!
HUOLTO
Indoor Cycle -kuntopyörän suunnittelun tarjoama turvallisuustaso voidaan säilyttää vain, kun laitteet tutkitaan säännöllisesti vaurioiden ja kulumisen varalta. Toimimattomat osat on vaihdettava tai laitteet on poistettava käytöstä, kunnes ne on korjattu.
PÄIVITTÄIN
- Pyyhi Indoor Cycle jokaisen käyttökerran jälkeen, jotta hiki ja kosteus poistuvat. Käytä saippuaa ja vettä tai laimennettua, hankaamatonta kotitalouksien puhdistusaineliuosta. Huuhtele pesuainejäämien poistamiseksi ja kuivaa sitten.
- Tarkista ennen jokaista harjoituskertaa, onko siinä löysiä osia, kuten polkimia tai kampia, ennen seuraavan käyttökerran aloittamista. Kiristä kaikki löysät osat.
VIIKOTTAIN
- Tarkista vauhtipyörän oikea kohdistus. Kiristä vauhtipyörän mutterit tarvittaessa.
- Irrota ketjusuoja ja tarkista, onko ketju löysällä. Säädä ja voitele ketju tarvittaessa.
- Varmista, että kammet ovat tiukasti kiinni keskiölaakerissa.
- Tarkista kaikki osat, mutterit, pultit tai ruuvit säätöjen, vaihto-osien tai huollon varalta.
KUUKAUSITTAIN
- Tarkista rungon ja pääkokoonpanon osien ruosteen tai korroosion varalta. Kallista kuntopyörää tai aseta se ylösalaisin löytääksesi alueet, joissa ruostetta ja korroosiota voi kehittyä. Poista pieniä ruostekertymiä pienellä teräsharjalla pienistä koloista, kuten tasoitusjaloista, pikavapautusvivuista ja muista pulttikokoonpanoista.
- Tarkista kaikkien kuluvien osien säädöt tai mahdolliset osien vaihdot. Kiinnitä erityistä huomiota seuraaviin:
- Tarkista jarrupalojen kuluminen. Liiallinen kuluminen tai kuivuminen edellyttää vaihtoa.
- Tarkista istuintyynyn kuluminen. Repeämät, repeilyt tai liiallinen liike edellyttävät vaihtoa.
- Tarkista polkimien väljyys. Polkimien liiallinen liike edellyttää vaihtoa.
- Tarkista ketjun kireys pyörittämällä kampea vauhtipyörän pyörittämiseksi eteenpäin. Tee tämä liike 1/4 kierroksin arvioidaksesi, onko kammen ja vauhtipyörän välillä vapaaliikettä.
- Kuivuminen tai pitkäaikainen käyttö voi aiheuttaa istuimen ja ohjaustangon korkeuden ja ulottuvuuden säädön kiristymisen. Jos näin on, liukukokoonpano on irrotettava rungosta ja liukupinnalle on levitettävä ohut kerros kevyttä rasvaa ennen kokoamista. Samoin, levitä hieman kevyttä rasvaa kiinnityskokoonpanoon varmistaaksesi, että se ei jumitu. Pyyhi ylimääräinen rasva pois ennen kokoamista.
- Voitele satulatolppa, jarrupala ja ohjaustangon säätö säännöllisesti osapaketissasi olevalla voiteluaineella.
GR3-RAKENNEKUVA

GR3-OSALUETTELO


GR5-RAKENNEKUVA

GR5-OSALUETTELO



GR6-RAKENNEKUVA

GR6-OSALUETTELO



Lataa käyttöohje
Täältä voit ladata täydellisen pdf-version käyttöohjeesta, se voi sisältää lisäturvallisuusohjeita, takuutietoja, FCC-sääntöjä jne.
Lataa Horizon Fitness GR3, GR5, GR6 - SISÄPYÖRÄN käsikirja
