Priručnik za seriju Cisco 1000

Zamijenite poklopce kućišta za C111X i C1111x
Integrirani usmjerivači serije Cisco 1100 imaju interne module i jedinice koje se mogu zamijeniti na terenu (FRU), a koje se mogu brzo i jednostavno ukloniti i zamijeniti bez potrebe za slanjem cijelog usmjerivača na popravak.
Da biste pristupili internim modulima na usmjerivaču, prvo morate ukloniti poklopac kućišta. U nastavku pogledajte upute o tome kako ukloniti, a kasnije i zamijeniti poklopac kućišta na usmjerivačima.
Samo obučeno i kvalificirano osoblje smije instalirati, zamjenjivati ili servisirati ovu opremu. Izjava 1030
ISR-ovi serije Cisco 1100 imaju uklonjive poklopce. Nemojte pokretati usmjerivače bez poklopca. To može uzrokovati vrlo brzo pregrijavanje usmjerivača.
Za obavljanje sljedećih zadataka koristite odvijač Phillips broj 2.
Uklonite poklopac

1. i 2. korak:
Uklonite 14 vijaka s obje strane poklopca.

1. korak: Pročitajte sigurnosna upozorenja i isključite napajanje prije izvođenja bilo kakve zamjene modula.
2. korak: Provjerite je li usmjerivač isključen i odspojen od napajanja.
3. korak: Odspojite sve kabele priključaka spojene na usmjerivač. Pobrinite se da ne radite na usmjerivaču s kabelima koji su još uvijek pričvršćeni na usmjerivač u slučaju udara groma ili prenapona.
4. korak: Instalater treba odspojiti sve kabele spojene na sustav.
5. korak: Postavite kućište na ravnu površinu.
6. korak: Uklonite 14 vijaka poklopca s dvije strane poklopca usmjerivača. Pogledajte sliku.
7. korak: Kliznite poklopac od strane okvira do I/O strane dok se ne zaustavi.
8. korak: Povucite poklopac okomito kako biste ga odvojili od kućišta.
Vratite poklopac
Da biste vratili poklopac, učinite sljedeće korake:
Poklopci su sastavni dio sigurnosnog dizajna proizvoda. Ne koristite jedinicu bez postavljenih poklopaca. Izjava 1077.

1 i 2: Vratite 14 vijaka s obje strane poklopca.

1. korak: Pročitajte sigurnosna upozorenja i isključite napajanje prije izvođenja bilo kakve zamjene modula.
2. korak: Provjerite je li usmjerivač isključen i odspojen od napajanja.
3. korak: Odspojite sve kabele priključaka spojene na usmjerivač. Pobrinite se da ne radite na usmjerivaču s kabelima koji su još uvijek pričvršćeni na usmjerivač u slučaju udara groma ili prenapona.
4. korak: Postavite kućište na ravnu površinu.
5. korak: Poravnajte kuke na poklopcu s utorima na podnožju kućišta i spustite poklopac na podnožje kućišta.
6. korak: Kliznite poklopac od I/O strane do strane okvira
7. korak: Ugradite četrnaest vijaka s obje strane kućišta. Zakrenite na 6-8 in-lbs.
Vanjski moduli
Integrirani usmjerivači serije Cisco 1100 imaju vanjske module i jedinice koje se mogu zamijeniti na terenu (FRU), a koje se mogu brzo i jednostavno ukloniti i zamijeniti bez potrebe za slanjem cijelog usmjerivača na popravak.
Ovaj odjeljak opisuje kako instalirati vanjske module i FRU-ove u ISR-ove serije Cisco 1100. Informacije se nalaze u sljedećim odjeljcima:
Samo obučeno i kvalificirano osoblje smije instalirati, zamjenjivati ili servisirati ovu opremu. Izjava 1030.
Pronađite vanjske utore za module
Ovaj odjeljak opisuje lokacije vanjskih modula na matičnoj ploči usmjerivača.
Instaliranje i uklanjanje malih modula koji se mogu priključiti
Ovaj odjeljak opisuje kako instalirati i ukloniti male module koji se mogu priključiti (SFP) u ISR-ovima serije Cisco 1100. Informacije se nalaze u sljedećim odjeljcima:
Uključivi optički moduli usklađeni su s IEC 60825-1 Ed. 3 i 21 CFR 1040.10 i 1040.11 sa ili bez iznimke za usklađenost s IEC 60825-1 Ed. 3 kako je opisano u obavijesti o laseru br. 56, od 8. svibnja 2019.
Instalirajte mali modul koji se može priključiti
Ovaj odjeljak opisuje kako instalirati opcionalne male module koji se mogu priključiti (SFP) u integrirane usmjerivače serije Cisco ISR1000 kako bi se osigurala optička Gigabit Ethernet veza.
Samo SFP moduli certificirani od strane Cisca i u skladu s IEC 60825-1:2014 podržani su na ovim usmjerivačima. Za više informacija pogledajte SFP-ove Podržano na Ciscu 1100 ISR-ovima.
Napomena
SFP modul-GLC-GE-100FX V01 nije podržan na seriji Cisco111x.
Laserski proizvod klase 1. Izjava 1008.
Uključivi optički moduli usklađeni su s IEC 60825-1 Ed. 3 i 21 CFR 1040.10 i 1040.11 sa ili bez iznimke za usklađenost s IEC 60825-1 Ed. 3 kako je opisano u obavijesti o laseru br. 56, od 8. svibnja 2019.
Uklonite mali faktor priključnog modula
Da biste uklonili mali faktor priključnog (SFP) modula iz kućišta:
1. korak: Odspojite sve kabele s SFP-a.
2. korak: Odspojite zasun SFP-a.
Napomena: SFP moduli koriste različite dizajne zasuna za pričvršćivanje modula u SFP priključak. Za informacije o vrsti i modelu SFP tehnologije pogledajte naljepnicu na bočnoj strani SFP modula.
Savjet: Upotrijebite olovku, odvijač ili drugi mali ravni alat da biste nježno otpustili ručku kopče ako je ne možete dohvatiti prstima.
3. korak: Uhvatite SFP s obje strane i uklonite ga iz kućišta.
Instaliranje LTE priključnog modula
Kako biste smanjili rizik od strujnog udara, šasija ove opreme mora biti povezana s trajnim uzemljenjem tijekom normalne uporabe. Izjava 445
Prazne prednje ploče i ploče s poklopcima služe trima važnim funkcijama: sprječavaju izloženost opasnim naponima i strujama unutar šasije; sadrže elektromagnetske smetnje (EMI) koje bi mogle ometati drugu opremu; i usmjeravaju protok zraka za hlađenje kroz šasiju. Nemojte koristiti sustav ako sve kartice, prednje ploče, prednji poklopci i stražnji poklopci nisu na svom mjestu. Izjava 1029.
Samo obučenom i kvalificiranom osoblju treba dopustiti instaliranje, zamjenu ili servisiranje ove opreme. Izjava 1030.
Priključni optički moduli usklađeni su s IEC 60825-1 Ed. 3 i 21 CFR 1040.10 i 1040.11 sa ili bez iznimke za usklađenost s IEC 60825-1 Ed. 3 kako je opisano u laserskoj obavijesti br. 56, od 8. svibnja 2019. Izjava 1255.
| LTE Pluggables | LTE Pluggable Technology |
| P-LTEA-EA | 3.0 LTEEA (CAT6) |
| P-LTEA-LA | 3.0 LTELA (CAT6) |
P-LTEAP18-G![]() | Pro (CAT18) |
| P-LTE-VZ | System and spare CAT4 LTE Pluggable |
| P-LTE-US | System and spare CAT4 LTE Pluggable |
| P-LTE-GB | System and spare CAT4 LTE Pluggable |
| P-LTE-JN | WP7605-G LTE CAT4 |
| P-LTE-IN | WP7608-G LTE CAT4 |
| P-LTE-MNA | WP7610-G LTE CAT4 |
Instaliranje LTE priključnog modula na C1101-4P
Da biste umetnuli LTE priključni modul u usmjerivač, učinite sljedeće korake:
1. korak: Umetnite, a zatim nježno gurnite LTE priključni modul u priključni utor C1101-4P dok se čvrsto ne učvrsti.
2. korak: Zategnite vijak, preporučeni zakretni moment je 10-12 in-lb.

Slika 1: LTE priključni - C1101-4P
| Stavka | Opis |
| 1 | GPS antena |
| 2 | LTE antena |
| 3 | Uzemljivač |
| 4 | Utor za Kensingston bravu |

Slika 2: LTE priključni - C1127X-8PLTEP
| Stavka | Opis |
| 1 | GPS antena |
| 2 | LTE antena |
| 3 | Uzemljivač |
| 4 | Utor za Kensingston bravu |

Slika 3: LTE priključni - C1118-8PLTEAP
| Stavka | Opis |
| 1 | Mini-PCIE |
| 2 | Zajednički raspršivač topline + termalno sučelje |
| 3 | I/O |
| 4 | Osnova kućišta za podršku 4 antene |
| 5 | Sklop kabela 4-1 SMA-MHF4 |
| 6 | SMA antenska raznolikost za upotrebljivost i pristup Micro-USB priključku |

Slika 4: LTE priključni - C1118-8PLTEAP stražnja ploča

Slika 5: C1118-8PLTEAP s Micro SIM utorima
Ovaj odjeljak opisuje kako umetnuti Micro-SIM karticu u LTE priključni modul.
Da biste umetnuli Micro-SIM kartice u LTE priključni modul:
Napomena:
Pobrinite se da koristite ispravan alat za uklanjanje vrata Micro-SIM kartice.
- Postavite priključni modul na donju stranu, uklonite vijak vrata SIM kartice, upotrijebite odvijač Philips #1 za uklanjanje vijaka, a zatim pažljivo uklonite Micro-SIM poklopac s priključnog modula.
Ne dodirujte nijedan dio izloženog područja PCB kruga kada je Micro-SIM poklopac uklonjen. - Na slici, korak 2 u nastavku prikazuje Micro-SIM utor 1 (oznaka 1) i Micro-SIM utor 0 (oznaka 2).
- Gurnite svaku Micro-SIM karticu (oznaka 3) u utor dok ne klikne. Osigurajte Micro-SIM poklopac vijkom, upotrijebite odvijač Philips broj 1 za pričvršćivanje vijka na Micro-SIM poklopcu. Preporučeni zakretni moment je 2,8 - 3,8 inča LBF.
- Sada ste uspješno umetnuli Micro-SIM kartice u LTE priključni modul. Oznaka na Mirco-SIM vratima trebala bi se poravnati s Micro-SIM0 na priključnom modulu sa strelicom usmjerenom prema gore.

Slika 6: Umetnite Micro-SIM kartice
Instaliranje Micro-SIM kartice u USB LTE Dongle
Ovaj odjeljak opisuje kako umetnuti micro-SIM karticu u USB LTE dongle u usmjerivaču C1101-4P.

Slika 7: Utor za Micro-SIM karticu s poklopcem za prašinu
1. korak
Da biste umetnuli micro-SIM karticu u USB LTE dongle, učinite sljedeće korake:
- Kucnite kako biste otvorili zaštitni poklopac micro-SIM kartice na USB dongleu, nježno umetnite micro-SIM karticu s rubom usmjerenim kao što je prikazano na slici dok SIM kartica ne sjedne u utičnicu.
- Kucnite da zatvorite zaštitni poklopac micro-SIM kartice na USB-u kako biste zatvorili utor.
2. korak
Da biste uklonili micro-SIM karticu u USB LTE dongle, učinite sljedeće korake:
- Kucnite da otvorite poklopac za prašinu, a zatim nježno gurnite micro-SIM karticu kako biste je izbacili iz SIM utora.
- Kucnite da zatvorite zaštitni poklopac micro-SIM kartice na USB-u kako biste zatvorili utor.
Napomena
Možda će biti potrebno prilagoditi usmjerenje antene za optimalne performanse.
Slijedite sljedeće korake da biste umetnuli USB LTE dongle sa SIM karticom u vodoravni utor na stražnjoj ploči usmjerivača serije C110x:
- Provjerite je li micro-SIM instaliran u LTE USB dongleu.
- Priključite LTE USB dongle u magnetski držač.
- Pričvrstite magnetski držač u USB priključak na metalnoj prednjoj ploči C1101-4P.

| Broj | Opis |
| 1 | Potporni prsten |
| 2 | Magnet |
| 3 | Proteže se prema van 30 mm |
| 4 | Smjer priključka |

| Broj | Opis |
| 1 | Potporni prsten |
| 2 | Držač donglea s magnetom |
| 3 | Router-C1101-4PLTEPW |
Slijedite isti postupak za instaliranje USB LTE donglea na usmjerivače s okomitim USB utorom.
Upute za montiranje antene
Ovaj odjeljak opisuje kako montirati antenu na Cisco 1000 Series ISR. Informacije se nalaze u sljedećim odjeljcima:
Montaža antene na stalak
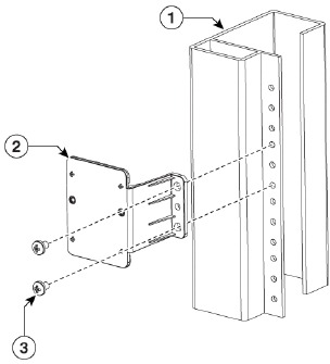
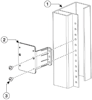
Da biste instalirali antenu na stalak, učinite sljedeće korake:
Opcija A - Montaža na stalak na različitoj visini s platformom
1. korak: Uzmite R-nosače (700-121611-01)
2. korak: Postavite i pričvrstite nosač na odgovarajuće mjesto na stalku pomoću dva vijka
3. korak: Zategnite vijak, preporučeni zakretni moment je 10-12 in-lb.

Opcija A - Montaža na stalak na istoj visini s platformom
1. korak: Uzmite R-nosače (700-121611-01)Postavite i pričvrstite nosač na odgovarajuće mjesto na stalku pomoću dva vijka.
2. korak: Zategnite vijak, preporučeni zakretni moment je 10-12 in-lb.

Obje opcije - A i B trebale bi slijediti ove preostale korake za dovršetak postupka montiranja:
- Sastavite dongle, USB, kabel i antenu zajedno unaprijed.
- Uzmite nosač za montažu na zid (700-121609-01) i 2 VIJKA (48-0580-01).
- Poravnajte i pričvrstite vijke.
- Uključite USB kabel u USB priključak na šasiji da biste dovršili postupak montiranja.
![Cisco - Serija 1000 - Montaža antene na stalak - 3. korak Montaža antene na stalak - 3. korak]()
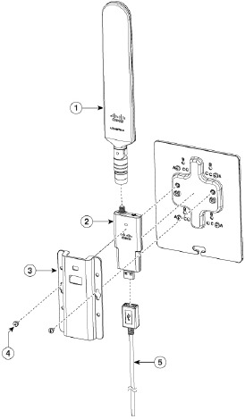
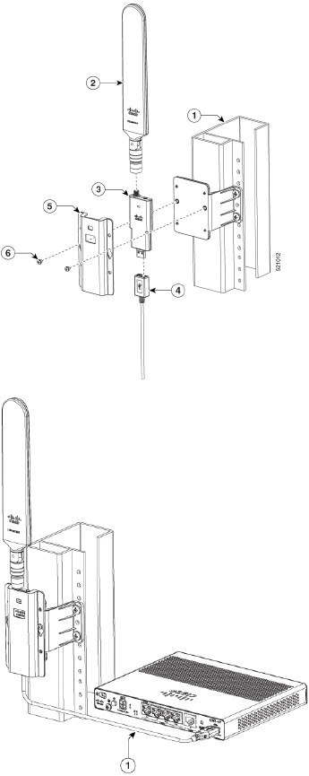
Montaža antene na zid

Da biste instalirali antenu na zid, učinite sljedeće korake:
1. korak: Uzmite C-nosač (700-121628-01), postavite nosač i zatim ga pričvrstite na zid pomoću četiri vijka.
2. korak: Sastavite USB kabel (74-122795-01), dongle i antenu (07-100470-01) zajedno. Uzmite nosač za montažu na zid (700-121609-01), dva VIJKA (48-0580-01). Poravnajte i pričvrstite vijke (preporučeni zakretni moment je 10-12 in-lb), zidna montaža je dovršena.
Povežite antenu s uređajem

1. korak: Provjerite je li duljina rezerviranog USB kabela dovoljna za dopiranje do uređaja.
2. korak: Provjerite koristite li kopču za kabel unutar kompleta USB kabela (74-122795-01) za upravljanje usmjeravanjem kabela i držanje težine kabela.
3. korak: Provjerite nema li oštrih radijusa unutar usmjeravanja USB kabela.
Montaža antene na strop

Da biste instalirali antenu na stalak, učinite sljedeće korake:
Opcija A - Montaža na stalak na različitoj visini s platformom
1. korak: Uzmite R-nosače (700-121611-01)
2. korak: Postavite i pričvrstite nosač na odgovarajuće mjesto na stalku pomoću dva vijka.
3. korak: Zategnite vijak, preporučeni zakretni moment je 10-12 in-lb.
Opcija A - Montaža na stalak na istoj visini s platformom

1. korak: Uzmite R-nosače (700-121611-01)Postavite i pričvrstite nosač na odgovarajuće mjesto na stalku pomoću dva vijka.
1. korak: Zategnite vijak, preporučeni zakretni moment je 10-12 in-lb
Obje opcije - A i B trebale bi slijediti ove preostale korake za dovršetak postupka montiranja:

- Sastavite dongle, USB, kabel i antenu zajedno unaprijed.
- Uzmite nosač za montažu na zid (700-121609-01) i 2 VIJKA (48-0580-01).
- Poravnajte i pričvrstite vijke.
- Uključite USB kabel u USB priključak na šasiji da biste dovršili postupak montiranja.
![Cisco - Serija 1000 - Montaža antene na strop - 3. korak Montaža antene na strop - 3. korak]()
Reference
Preuzmi priručnik
Ovdje možete preuzeti punu pdf verziju priručnika, koja može sadržavati dodatne sigurnosne upute, informacije o jamstvu, FCC pravila, itd.
Preuzmi Priručnik za seriju Cisco 1000


