Crosley C6B - Hoparlörlü Pikap Kullanım Kılavuzu
- 1 Önemli Güvenlik Talimatları
- 2 Bu paketteki öğeler
- 3 Teknik Özellikler
- 4 Ürün Açıklaması
- 5 İlk Kurulum
- 6 Stereo Sistem Bağlantısı
- 7 Pikap Çalışması
- 8 Kaymayı Önleyici Ayar
- 9 Tabla Otomatik Durdurma
- 10 Kartuş Değişimi
- 11 Azimut Ayarı
- 12 İğne Değişimi
- 13 Pikap Bakımı
- 14 Sorun Giderme
- 15 Referanslar
- 16 Kılavuzu indir
- 17 Diğer Dillerde
Önemli Güvenlik Talimatları
Bu ürünü kullanmadan önce bu kılavuzun tamamını okuyun ve anlayın. Bu talimatları ileride başvurmak üzere saklayın.
- Bu ürünü su yakınında kullanmayın.
- Bu ürün yalnızca işaretleme etiketinde veya bu kullanım kılavuzunda belirtilen türde bir güç kaynağıyla çalıştırılmalıdır.
- Polarize fişin güvenlik amacını ortadan kaldırmayın. Polarize fişin iki ucu vardır ve bir uç diğerinden daha geniştir. Bu fiş, prize yalnızca tek bir şekilde takılabilir. Fişi prize tam olarak takamıyorsanız, fişi ters çevirmeyi deneyin. Fiş hala uymuyorsa, elektrikçinize başvurun.
- Güç kablosunu, özellikle fişlerde, prizlerde ve üründen çıktığı noktada üzerine basılmaktan veya sıkışmaktan koruyun.
- Duvar prizlerini, uzatma kablolarını veya entegre prizleri aşırı yüklemeyin, çünkü bu yangın veya elektrik çarpması riskine neden olabilir.
- Tehlikeli voltaj noktalarına dokunabilecekleri veya yangın veya elektrik çarpmasına neden olabilecek parçaları kısa devre yapabilecekleri için bu ürünün içine açıklıklardan herhangi bir nesne itmeyin. Ürünün üzerine asla herhangi bir sıvı dökmeyin.
- Kapakları açmak veya çıkarmak sizi tehlikeli voltaja veya diğer tehlikelere maruz bırakabileceğinden, bu ürüne kendiniz servis vermeye çalışmayın. Tüm servis işlemleri için yetkili servis personeline başvurun.
- Uyumluluktan sorumlu tarafça açıkça onaylanmayan bu ünitede yapılan değişiklikler veya modifikasyonlar, kullanıcının ekipmanı çalıştırma yetkisini geçersiz kılabilir.
- Tehlikelere neden olabileceğinden, ürün üreticisi tarafından tavsiye edilmeyen ekleri kullanmayın.
- Bir ürün ve araba kombinasyonu dikkatle taşınmalıdır. Ani duruşlar, aşırı güç ve düz olmayan yüzeyler, ürün ve araba kombinasyonunun devrilmesine neden olabilir.
- Kabindeki yuvalar ve açıklıklar, havalandırma sağlamak ve ürünün güvenilir çalışmasını sağlamak ve aşırı ısınmaya karşı korumak için sağlanmıştır. Bu açıklıkları kapatmayın veya üzerini örtmeyin.
- Şimşekli havalarda veya uzun süre kullanılmadığında ürünün fişini çekin.
Bu paketteki öğeler
Herhangi bir ambalaj malzemesini atmadan önce, lütfen iyice kontrol edin ve bu paketle birlikte gelen aşağıdaki öğeleri bulduğunuzdan emin olun:
- Pikap
- Pikap Kapağı
- Pikap Kaydırmaz Matı
- Pikap Tabla
- Tonkol Denge Ağırlığı
- Kartuş Hizalama İletkisi
- Güç Adaptörü
- 45 RPM adaptörü
- RCA kablosu
Pakette eksik bir aksesuar varsa lütfen Crosley müşteri hizmetleriyle iletişime geçin. Değişim veya iade amaçları için orijinal ambalaj malzemelerini saklayın.
Teknik Özellikler
Crosley C6B
| Güç | AC-DC güç adaptörü, DC çıkışı 12V 0.5A |
| Güç Tüketimi | 2W |
| Pikap Hızı | 33 1/3, 45 RPM |
| Hız Varyansı | +%1.5 |
| Vay ve Titreme | <%0.15 |
| Sinyal Gürültü Oranı | 72dB |
| Etkili Tonkol Uzunluğu | 8.74" (222mm) |
| Çıkıntı | 0.75" |
| Ağırlık | 13.23 lbs |
İğne: Crosley NP-5
| Frekans Tepkisi | 20Hz – 20kHz |
| Kanal Dengesi | <2.5 dB |
| Kanal Ayrımı | >18 dB |
| Çıkış Voltajı | 2.5 mV |
| Önerilen Yük Direnci | 47k Ω |
| Amplifikatör bağlantısı | MM – giriş |
| Önerilen İzleme Basıncı | 3.5±0.5g |
| Ağırlık | 0.18oz |
Not:
- Tasarım ve teknik özellikler önceden haber verilmeksizin değiştirilebilir.
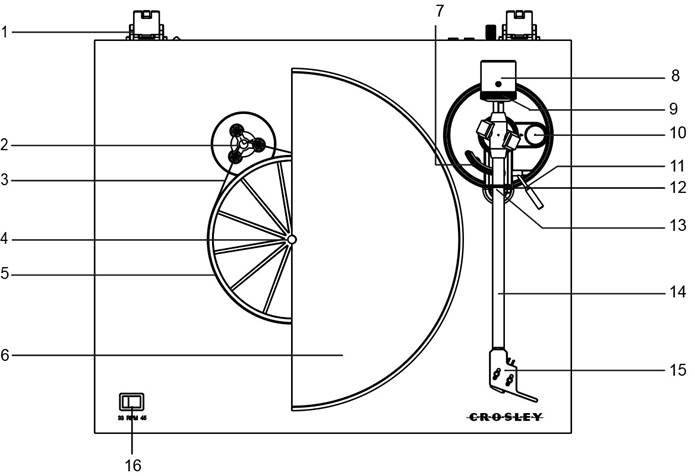
Ürün Açıklaması

- Menteşe
- Tahrik Kasnağı
- Tahrik Kayışı
- Pikap Mili
- Pikap Göbeği
- Pikap Tabla
- Tonkol Kaldırma
- Tonkol Denge Ağırlığı
- Aşağı Kuvvet Ölçeği Kadranı
- Kaymayı Önleyici Ayar Kadranı
- İşaret Kolu
- Aşağı Tutma Klipsi
- Tonkol Desteği
- Tonkol
- Kafa Kabuğu
- Hız Seçici
- Topraklama Konnektörü
- RCA Jakları
- Otomatik Durdurma Anahtarı
- Telefon/Hat Anahtarı
- Güç Jakı
- Bluetooth Göstergesi
- Güç Anahtarı
İlk Kurulum
Temel Kurulum
- Üniteyi düz ve seviyeli bir yüzeye yerleştirin. Seçilen konum sabit ve titreşimsiz olmalıdır.
- Pikap kapağını menteşelere takın.
- Tonkolu tutan bağlama telini çıkarın.
- Pikap tablasını ve tahrik kayışını uygun şekilde takın
- Kaydırmaz matı pikap tablasının üzerine yerleştirin.
- Tonkol Denge Ağırlığını tonkola kaydırın ve tonkolun arka miline hafifçe çevirerek takın.
- Doğru iğne basıncını ayarlamak için denge ağırlığını ayarlayın.
- DC adaptörünü ünitenin Güç Jakına bağlayın.
Not: Tüm montaj tamamlanmadan DC güç adaptörünü prize takmayın. Gücü açmadan önce, tüm bağlantı ayarlarının doğru olduğundan tekrar emin olun. Bağlarken veya bağlantıyı keserken daima gücü kapatın.
İğne Basıncı için Tonkol Denge Ağırlığı Ayarı
- Kartuştan iğne koruyucusunu çıkarın ve ayar sırasında iğne ucuna dokunmaktan kaçının.
- Tonkolu desteğinden kaldırın ve nazikçe tutun. Tonkol bu noktada dengesizdir.
- Tonkol yatay olarak dengelenene ve iğne tabla yüzeyine dokunmadan tabla üzerinde serbestçe asılı kalana kadar Denge Ağırlığını dikkatlice pikabın önüne doğru döndürün.
- Tonkolu Tonkol Desteğine geri döndürün.
- Denge ağırlığını herhangi bir dönüş olmadan sabit tutarken, ölçekteki "0" tonkolun üst kısmında işaretlenmiş merkez çizgiyle hizalanana kadar yalnızca Aşağı Kuvvet Ölçeği Kadranını dikkatlice döndürün.
- Basıncı iğne üreticisinin önerilerine göre ayarlamak için denge ağırlığını aşağı kuvvet ölçeği kadranı dahil olmak üzere saat yönünün tersine (pikabın önünden görüldüğü gibi) döndürün.
Not:
- Ölçekteki her işaret 0.05g (gram) değerini temsil eder.
- Fabrikada takılan kartuş için önerilen basınç 3.5g'dir.
- Denge ağırlığının bir tam dönüşü 2.0g basınç sağlayacaktır. 2.0 g'dan daha büyük bir iğne basıncına ulaşmak için denge ağırlığını ileri doğru döndürmeye devam edin.
Pikap Tabla ve Kayış Kurulumu
- Tahrik kayışını Pikap Göbeğinin etrafına yerleştirin ve ardından kayışı motor kasnağının yuvasına takmak için sağlanan tahrik kayışı montaj aletini kullanın.
- Pikap tablasını pikap milinden geçirin.
Stereo Sistem Bağlantısı
RCA Jakları
- Bu ünitenin RCA Jakları hem Fono çıkış jakları hem de Hat çıkış jakları olarak paylaşılır. Bunlar Fono/Hat Anahtarı ile belirlenir.
- Bir hat çıkışı olarak kullanıldığında, jaklar analog hat seviyesi sinyalleri verir ve doğrudan bir çift aktif hoparlör veya stereo sisteminizin uygun girişiyle bağlanabilir. Bir Fono çıkışı olarak kullanıldığında, fono ön amplifikatörüne veya stereo sisteminin fono girişine bağlanmalıdır.
- Kırmızı fiş Sağ kanalla, Beyaz fiş ise Sol kanalla bağlanır.
Not:
- Fono/Hat anahtarı HAT konumuna ayarlanmışsa ancak RCA jakları stereo sisteminin fono girişine bağlıysa, giriş aşırı yüklenmesi nedeniyle ses bozulabilir ve stereo sisteminize zarar verebilir.
- Fono/Hat anahtarı FONO konumuna ayarlanmışsa ancak RCA jakı stereo sisteminin hat girişine bağlıysa, sinyal ön amplifikasyonu eksikliği nedeniyle ses çok düşük olacaktır.
- RCA Jakı, pasif/güçsüz hoparlörlere doğrudan bağlanmak için tasarlanmamıştır ve bağlanırsa ses çok düşük olacaktır.
Pikap Çalışması
- Gücü açmak için Güç Anahtarına basın. Pikap otomatik olarak harici bir Bluetooth hoparlör aramaya başlayacaktır.
Not: Yanlışlıkla Bluetooth bağlantısı kurulmasını önlemek için lütfen eşleştirme modunda çalışan 30 feet içinde Bluetooth hoparlör bulunmadığından emin olun.- Bluetooth hoparlör başarıyla eşleştirildikten sonra, Bluetooth göstergesi sabit mavi olacaktır.
Not: 2 dakika içinde pikapla eşleştirilmiş bir Bluetooth hoparlör yoksa, pikap Bluetooth arama işlevini devre dışı bırakacaktır. Pikabı 2 dakikalık süreden sonra daha sonra Bluetooth hoparlöre bağlamaya karar verirseniz, pikabı KAPATMANIZ ve yukarıdaki 1. Adımdan yeniden başlamanız gerekecektir.
- Bluetooth hoparlör başarıyla eşleştirildikten sonra, Bluetooth göstergesi sabit mavi olacaktır.
- Hız Anahtarını uygun şekilde ayarlayın.
- Plağı pikaba yerleştirin. Gerekirse 45 RPM Adaptörünü kullanın.
- İğne tertibatından iğne koruyucusunu çıkarın.
Not: İğne hasarını önlemek için, pikap taşınırken veya temizlenirken daima birlikte verilen iğne koruyucusunun yerinde olduğundan emin olun. - Tonkol Aşağı Tutma Klipsini serbest bırakın.
Not: Pikap kullanımda değilken, aşağı tutma klipsini tekrar kilitlemeyi unutmayın. - Tonkolu kaldırmak için İşaret Kolunu kullanın.
- Tonkolu çalmanın başlaması istenen plağın üzerine nazikçe hareket ettirin. İşaret Kolunu aşağı konumuna geri ayarlayın, tonkol yavaşça plağın üzerine inecek ve çalmaya başlayacaktır.
- Plak çalmayı bitirdiğinde, tonkolu kaldırmak için İşaret Kolunu tekrar kullanın ve ardından Tonkol Desteğine geri döndürün. Tonkolun desteğine geri oturmasını sağlamak için kolu serbest bırakın. Çalmayı askıya almak için aynı adımları tekrarlayın.
- Tonkolu sabitlemek için Aşağı Tutma Klipsini kilitleyin.
Kaymayı Önleyici Ayar
- Kolun plağın merkezine doğru çekilmesine neden olan "kayma" kuvvetini telafi etmek için tonkola küçük bir dışa doğru "kaymayı önleyici" kuvvet uygulanabilir.
- Normal pikap kullanımı sırasında en iyi performansı elde etmek için, kaymayı önleyici kontrol düğmesini aşağı kuvvet ölçeği kadranının gösterdiği değerle aynı değere ayarlamanız önerilir.
Tabla Otomatik Durdurma
Otomatik Durdurma Anahtarı AÇIK konumuna ayarlanmışsa, plak sonuna kadar çaldığında tabla otomatik olarak dönmeyi durduracaktır. Nadir durumlarda, pikap plak sonundan önce çalmayı durdurursa, anahtarı KAPALI konumuna ayarlayın, pikap bu sorunun üstesinden gelmelidir.
Kartuş Değişimi
- Değiştirmeden önce, değiştirme işlemi sırasında iğneye zarar gelmesini önlemek için iğne koruyucusunu tekrar iğnenin üzerine yerleştirin.
- Kablo uçlarını orijinal kartuştan dikkatlice çıkarın.
- Kartuşu sabitleyen kafa kabuğundaki iki vidayı gevşetin ve ardından orijinal kartuşu çıkarın.
- Yeni kartuşu kafa kabuğuna monte edin ve hafifçe sıkın. Şu anda vidaları tamamen sıkmayın.
- Kablo uçlarını yeni kartuşun terminallerine bağlayın. Kablo ucu renk kodları aşağıdaki gibidir:
| Beyaz | Sol kanal pozitif | (L+) |
| Siyah | Sol kanal negatif | (L–) |
| Kırmızı | Sağ kanal pozitif | (R+) |
| Siyah | Sağ kanal negatif | (R-) |
- Kartuşun konumunu, iğnenin olukları mükemmel şekilde paralel olarak izleyeceğinden emin olmak için kafa kabuğunda tam olarak hizalandığından emin olacak şekilde ayarlayın.
Bunu başarmak için, birlikte verilen kağıt kartuş hizalama iletkisini pikap milinin üzerine yerleştirin, tonkolu dikkatlice kaldırın ve iğnenin ucunu sırasıyla 130 mm ve 250 mm olarak işaretlenmiş noktalara yerleştirin. Kartuşun kafa kabuğundaki konumunu, kartuş her iki noktadaki referans çizgilerine mükemmel şekilde paralel olana kadar ince ayar yapın. - Mükemmel hizalama sağlandıktan sonra vidaları tamamen sıkın.
Azimut Ayarı
Oluk duvarı modülasyonlarını doğru bir şekilde izlemek için iğne plak oluğuna dik olmalıdır. Nadir durumlarda, fabrika kurulumu mükemmel değilse, aşağıdaki ayarı yapabilirsiniz:
- Kol borusunu gevşetmek için bir Allen Anahtarı kullanarak tonkolun yatak ucunda bulunan vidayı yeterince gevşetin. Not: Vidayı tamamen çıkarmayın.
- İğne plak yüzeyine dik olana kadar tonkolu nazikçe döndürün.
Not: Ayar yapılırken iğne ucunun plağa dokunmadığından emin olun, aksi takdirde iğneye ve konsol süspansiyonuna zarar verir. - Ayar bittiğinde vidayı sıkın.
![]()
İğne Değişimi
İğneyi Çıkarma
- İğnenin ön kenarını nazikçe aşağı çekin.
![Crosley - C6B - İğneyi Çıkarma - Adım 1 İğneyi Çıkarma - Adım 1]()
- İğneyi öne doğru çekin.
![]()
- Dışarı çekin ve çıkarın.
İğneyi Takma
- İğneyi ucu aşağı bakacak şekilde konumlandırın.
![Crosley - C6B - İğneyi Takma - Adım 1 İğneyi Takma - Adım 1]()
- İğnenin arkasını kartuşla hizalayın.
![]()
- İğneyi ön ucu aşağı doğru bir açıyla yerleştirin ve yerine oturana kadar iğnenin önünü nazikçe yukarı kaldırın.
Pikap Bakımı
- İğne ucuna parmaklarınızla dokunmayın. İğnenin pikap matına veya bir plağın kenarına çarpmasından kaçının.
- İğneyi yalnızca arkadan öne doğru hareketlerle yumuşak bir fırça ile sık sık temizleyin.
- Toz veya yağı gidermek için plakları bir plak temizleme fırçası ve plak temizleme solüsyonuyla temizleyin.
- Pikap kapağını ve pikap kabinini hafif nemli bir mikrofiber bezle temizleyin.
Not: Pikabın boyasına ve yüzeyine zarar verebilecek alkol, benzen veya başka herhangi bir sert kimyasal içeren temizleyici kullanmayın.
** Crosley, farklı temizleme aksesuarlarından oluşan bir ürün yelpazesi sunmaktadır. Lütfen satıcınıza sorun veya daha fazla temizlik ürünü bilgisi için web sitemizi www.crosleyradio.com adresinden kontrol edin.
Sorun Giderme
Güç yok
- Güç adaptörü doğru bağlanmamış.
- Prizde güç yok.
Güç açık, ancak tabla dönmüyor
- Pikapın tahrik kayışı takılı değil veya kaymış.
Pikap dönüyor, ancak ses yok veya ses yeterince yüksek değil
- İğne koruyucusu hala üzerinde.
- Tonkol kol tarafından kaldırılmış.
Plak çok hızlı veya çok yavaş çalıyor.
- Plak için yanlış hız seçilmiş.
Fono girişinde güçlü uğultu
- Kablo doğru topraklanmamış.
Sorular, sorunlar, eksik parçalar?
Mağazaya geri dönmeden önce Müşteri Hizmetlerini arayın
8 a.m. – 6 p.m., EST, Pazartesi – Cuma
1-888-CROSLEY
www.crosleyradio.com
Referanslar
Kılavuzu indir
Burada kılavuzun tam PDF sürümünü indirebilirsiniz, ek güvenlik talimatları, garanti bilgileri, FCC kuralları vb. içerebilir.
Crosley C6B - Hoparlörlü Pikap Kullanım Kılavuzu indir




