Manfrotto 322RC2 - Manual del accesorio para cámara
- 1 INTRODUCCIÓN
- 2 CONFIGURACIÓN
- 3 PERSONALIZACIÓN DE LA POSICIÓN DEL DISPOSITIVO
- 4 PERSONALIZACIÓN DE LA RÓTULA DEL DISPOSITIVO PARA USO CON TELEOBJETIVOS EQUIPADOS CON SOPORTES DE FIJACIÓN PARA TRÍPODE
- 5 EXTRACCIÓN DE LA PLACA DE LIBERACIÓN RÁPIDA DE LA RÓTULA
- 6 FIJACIÓN DE LA CÁMARA A LA PLACA
- 7 MONTAJE DE LA CÁMARA EN LA RÓTULA
- 8 EXTRACCIÓN DE LA CÁMARA DE LA RÓTULA
- 9 USO DE LA RÓTULA
- 10 MANTENIMIENTO
- 11 Descargar manual
- 12 En otros idiomas

INTRODUCCIÓN
Rótula fotográfica ideal para usar con cámaras de 35 mm con objetivos de distancia focal corta o media, ideal para tomas de acción.
CARACTERÍSTICAS PRINCIPALES
- palanca única para un control rápido de todos los movimientos
- placa de liberación rápida con pasador de seguridad secundario incorporado
- nivel de burbuja incorporado
- control de fricción ajustable para diferentes pesos de cámara
- personalizable para uso con la mano izquierda o derecha, en posición vertical u horizontal
CONFIGURACIÓN
Fije la rótula 322RC2 a su trípode a través de la rosca hembra de 3/8" "A". Para fijar la rótula de forma segura, inserte un destornillador (o una palanca larga similar) en el orificio "B" y utilícelo para ejercer más fuerza para bloquear la rótula firmemente al trípode.

La placa superior de los trípodes Manfrotto está equipada con tres tornillos "C" que se aprietan contra la base de la rótula para asegurar un bloqueo aún más eficaz y seguro.
PERSONALIZACIÓN DE LA POSICIÓN DEL DISPOSITIVO
La 322RC2 le permite personalizar la posición de la placa de la cámara para que se adapte a su posición de trabajo ideal, ya sea que sea diestro o zurdo, y si prefiere usar la rótula horizontal o verticalmente.
Diestro – posición horizontal
La rótula 322RC2 viene ensamblada de fábrica en esta posición. No necesita ajustar nada para usar la rótula en esta configuración.
Zurdo – posición horizontal
Para configurar la rótula para uso con la mano izquierda en la posición horizontal, debe quitar el conjunto de la placa de liberación rápida del cuerpo de la 322RC2 y luego volver a colocarlo en la ubicación correcta.
- Para quitar la placa de liberación rápida "G" (fig. 2), primero abra la palanca "H". Esta no se puede abrir mientras el pasador de seguridad secundario "I" esté en la posición cerrada. Para liberar el seguro, gire el pasador de seguridad "I" completamente en la dirección de la flecha. Tire hacia atrás de la palanca "H" hasta que la clavija "L" haga clic hacia arriba y mantenga "H" abierta.
Ahora use la llave Allen suministrada "W" (fig. 2) para aflojar los tornillos "K" y quitar la placa base.
![Manfrotto - 322RC2 - Configuración de la rótula para uso con la mano izquierda - Paso 1 Configuración de la rótula para uso con la mano izquierda - Paso 1]()
- Mueva la empuñadura de la rótula a la posición correcta para uso con la mano izquierda apretando el gatillo "D" y girando toda la empuñadura hacia la izquierda de la bola central y luego "boca abajo" para que el gatillo quede orientado hacia afuera como se muestra en la fig. 3.
![Manfrotto - 322RC2 - Configuración de la rótula para uso con la mano izquierda - Paso 2 Configuración de la rótula para uso con la mano izquierda - Paso 2]()
- Retire los tapones de los orificios de los tornillos "Z"
- Coloque la placa base sobre la rótula de modo que la palanca de bloqueo gris de la placa de la cámara esté en el lado opuesto de la rótula al gatillo. Fije la placa base en su posición usando la llave Allen "W" para apretar los tornillos "K" en los orificios roscados "X" de la izquierda.
Posición vertical
Para configurar la rótula para uso con la mano izquierda o derecha en la posición vertical, debe quitar el conjunto de la placa de liberación rápida del cuerpo de la 322RC2 y luego volver a colocarlo en la ubicación correcta.
- Para quitar la placa de liberación rápida "G" (fig. 2), primero abra la palanca "H". Esta no se puede abrir mientras el pasador de seguridad secundario "I" esté en la posición cerrada. Para liberar el seguro, gire el pasador de seguridad "I" completamente en la dirección de la flecha. Tire hacia atrás de la palanca "H" hasta que la clavija "L" haga clic hacia arriba y mantenga "H" abierta. Ahora use la llave Allen suministrada "W" (fig. 2) para aflojar los tornillos "K" y quitar la placa base.
- Mueva la empuñadura de la rótula a la vertical como se muestra en la figura 4.
![Manfrotto - 322RC2 - Configuración de la rótula para uso en posición vertical Configuración de la rótula para uso en posición vertical]()
- Retire los tapones de los orificios de los tornillos "Z"
- Coloque la placa base sobre la rótula de modo que la palanca de bloqueo gris de la placa de la cámara esté en el lado opuesto de la rótula al gatillo. Fije la placa base en su posición usando la llave Allen "W" para apretar los tornillos "K" en los orificios roscados "J" ubicados en el centro.
PERSONALIZACIÓN DE LA RÓTULA DEL DISPOSITIVO PARA USO CON TELEOBJETIVOS EQUIPADOS CON SOPORTES DE FIJACIÓN PARA TRÍPODE
Puede ser útil (o incluso esencial) cambiar la posición del conjunto de la placa de la cámara de la 322RC2 si tiene la intención de usar la rótula con un teleobjetivo equipado con un soporte de fijación para trípode. Si descubre que el cuerpo de la cámara que cuelga detrás del teleobjetivo le impide usar la palanca gris de la placa de liberación rápida "H" (y, por lo tanto, le impide fijar o liberar su cámara), debe girar todo el conjunto de la placa 180° para que la palanca gris de la placa de liberación rápida "H" esté en el mismo lado de la rótula que el gatillo principal:

- Para quitar la placa de liberación rápida "G" (fig. 2), primero abra la palanca "H". Esta no se puede abrir mientras el pasador de seguridad secundario "I" esté en la posición cerrada. Para liberar el seguro, gire el pasador de seguridad "I" completamente en la dirección de la flecha. Tire hacia atrás de la palanca "H" hasta que la clavija "L" haga clic hacia arriba y mantenga "H" abierta. Ahora use la llave Allen suministrada "W" (fig. 2) para aflojar los tornillos "K" y quitar la placa base.
- Gire la placa base 180° y colóquela sobre la rótula de modo que la palanca de bloqueo gris de la placa de la cámara esté en el mismo lado de la rótula que el gatillo. Fije la placa base en su posición usando la llave Allen "W" para apretar los tornillos "K" en los orificios roscados "V".
EXTRACCIÓN DE LA PLACA DE LIBERACIÓN RÁPIDA DE LA RÓTULA

Para quitar la placa de liberación rápida "G" (fig. 2), primero abra la palanca "H". Esta no se puede abrir mientras el pasador de seguridad secundario "I" esté en la posición cerrada. Para liberar el seguro, gire el pasador de seguridad "I" completamente en la dirección de la flecha. Tire hacia atrás de la palanca "H" hasta que la clavija "L" haga clic hacia arriba y mantenga "H" abierta.
FIJACIÓN DE LA CÁMARA A LA PLACA
Fije la placa "G" a su cámara u objetivo (si está usando un teleobjetivo con soporte para trípode) apretando el tornillo "M" en el orificio roscado de la cámara/objetivo. Asegúrese de que la cámara/objetivo esté alineado en la dirección que muestra la flecha marcada como "LENS" (objetivo) en la parte inferior de la placa "G". Para una fijación segura, apriete con el anillo "Q" SIN APLICAR EXCESIVA FUERZA.

Asegúrese de que su cámara esté bien bloqueada en la placa de liberación antes de usarla.
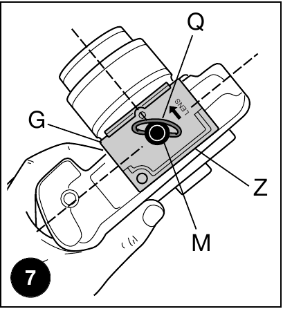
MONTAJE DE LA CÁMARA EN LA RÓTULA
Empuje el anillo "Q" (fig. 7) hacia abajo para que quede plano contra la placa "G". Inserte la placa de la cámara "G" (fig. 8) de modo que el borde posterior no contorneado "Z" (vea también la fig. 7) encaje contra la palanca de bloqueo "H" en la parte superior de la rótula. Empuje hacia abajo la cámara y la placa "G" hasta que la palanca de bloqueo "H" haga clic para cerrarse.

¡La fijación segura de su cámara a la rótula 322RC2 solo se puede lograr ajustando la placa de la cámara en la placa base en la orientación correcta como se describe anteriormente!
Asegúrese de que la placa "G" (fig. 9) esté completamente bloqueada empujando la palanca gris de liberación rápida con fuerza contra la placa de la cámara. Finalmente, gire la palanca de seguridad secundaria "I" en el sentido de las agujas del reloj para que se levante y evite que la palanca gris de liberación rápida se abra accidentalmente.

EXTRACCIÓN DE LA CÁMARA DE LA RÓTULA

Para quitar la cámara de la rótula, desenganche el bloqueo de seguridad secundario "I", sostenga la cámara de forma segura con una mano y luego tire hacia atrás de la palanca gris de liberación rápida "H" con la otra. Levante la cámara hacia arriba y hacia atrás para sacarla de la rótula.
USO DE LA RÓTULA
Todos los movimientos de la cámara se controlan usando la empuñadura "D" (fig. 1). Al apretar el gatillo grande en la parte delantera de la empuñadura "D" se libera el mecanismo de bloqueo y permite que la rótula se mueva, siguiendo los movimientos de su mano/muñeca. Suelte el gatillo nuevamente para bloquear la rótula en la posición requerida.
La 322RC2 tiene un control de fricción ajustable (anillo "F" – fig. 11) que establece la firmeza con la que el mecanismo de bloqueo sujeta la bola. Gire el anillo "F" en la dirección del símbolo "+" para aumentar la fricción; gírelo en la dirección del símbolo "–" para disminuir la fricción.
El nivel de fricción se muestra mediante el índice "N".
La 322RC2 también tiene un nivel de burbuja (fig. 11) para ayudarle a nivelar su cámara con el horizonte. Se puede extraer de su posición estándar (si no sale fácilmente, intente usar suavemente un par de alicates) e insertar en el lado opuesto de la rótula si está usando la 322RC2 en su configuración para zurdos.

MANTENIMIENTO
Después de un uso prolongado, puede notar que el mecanismo de bloqueo de la bola se afloja un poco. Puede reajustar esto apretando el tornillo "R" muy ligeramente con la llave Allen suministrada "W". Solo son necesarios pequeños ajustes para recuperar la potencia de bloqueo total.
La rótula 322RC2 se puede equipar con el disparador opcional (mod. 322RS, 322RSM) para controlar la cámara mientras mueve la rótula.


Descargar manual
Aquí puedes descargar la versión completa en pdf del manual, puede contener instrucciones de seguridad adicionales, información de garantía, reglas de la FCC, etc.
Descargar Manfrotto 322RC2 - Manual del accesorio para cámara


