Manual da Serra Sabre Makita JR3000V
DUPLO ISOLAMENTO
Para sua segurança pessoal, LEIA e COMPREENDA antes de usar. GUARDE ESTAS INSTRUÇÕES PARA REFERÊNCIA FUTURA.
ESPECIFICAÇÕES
| Modelo | JR3000V |
| Comprimento do curso | 30 mm (1-3/16") |
| Golpes por minuto | 0 - 2,300/min. |
| Comprimento total | 400 mm (15-3/4") |
| Peso líquido | 2.9 kg (6.4 lbs) |
- O fabricante reserva-se o direito de alterar as especificações sem aviso prévio.
- As especificações podem diferir de país para país.
REGRAS GERAIS DE SEGURANÇA
(Para Todas as Ferramentas)
Leia e compreenda todas as instruções. O não cumprimento de todas as instruções listadas abaixo pode resultar em choque elétrico, incêndio e/ou ferimentos pessoais graves.
GUARDE ESTAS INSTRUÇÕES
Área de Trabalho
- Mantenha sua área de trabalho limpa e bem iluminada. Bancadas desorganizadas e áreas escuras convidam a acidentes.
- Não opere ferramentas elétricas em atmosferas explosivas, como na presença de líquidos, gases ou poeira inflamáveis. Ferramentas elétricas criam faíscas que podem inflamar a poeira ou os vapores.
- Mantenha espectadores, crianças e visitantes afastados ao operar uma ferramenta elétrica. Distrações podem fazer com que você perca o controle.
Segurança Elétrica
- Ferramentas com isolamento duplo são equipadas com um plugue polarizado (uma lâmina é mais larga que a outra). Este plugue se encaixará em uma tomada polarizada apenas de uma maneira. Se o plugue não encaixar totalmente na tomada, inverta o plugue. Se ainda não encaixar, entre em contato com um eletricista qualificado para instalar uma tomada polarizada. Não altere o plugue de forma alguma. O isolamento duplo
elimina a necessidade do cabo de alimentação aterrado de três fios e do sistema de alimentação aterrado. - Evite o contato do corpo com superfícies aterradas, como canos, radiadores, fogões e refrigeradores. Há um risco aumentado de choque elétrico se seu corpo estiver aterrado.
- Não exponha ferramentas elétricas à chuva ou condições úmidas. A entrada de água em uma ferramenta elétrica aumentará o risco de choque elétrico.
- Não abuse do cabo. Nunca use o cabo para carregar as ferramentas ou puxar o plugue de uma tomada. Mantenha o cabo longe de calor, óleo, bordas afiadas ou peças móveis. Substitua os cabos danificados imediatamente. Cabos danificados aumentam o risco de choque elétrico.
- Ao operar uma ferramenta elétrica ao ar livre, use um cabo de extensão para exteriores marcado com "W-A" ou "W". Esses cabos são classificados para uso externo e reduzem o risco de choque elétrico.
Segurança Pessoal
- Fique alerta, observe o que você está fazendo e use o bom senso ao operar uma ferramenta elétrica. Não use a ferramenta enquanto estiver cansado ou sob a influência de drogas, álcool ou medicamentos. Um momento de desatenção ao operar ferramentas elétricas pode resultar em ferimentos pessoais graves.
- Vista-se adequadamente. Não use roupas largas ou joias. Prenda o cabelo comprido. Mantenha seu cabelo, roupas e luvas longe de peças móveis. Roupas largas, joias ou cabelos compridos podem ficar presos em peças móveis.
- Evite partidas acidentais. Certifique-se de que o interruptor esteja desligado antes de conectar. Carregar ferramentas com o dedo no interruptor ou conectar ferramentas com o interruptor ligado convida a acidentes.
- Remova chaves de ajuste ou chaves inglesas antes de ligar a ferramenta. Uma chave inglesa ou uma chave que é deixada presa a uma parte rotativa da ferramenta pode resultar em ferimentos pessoais.
- Não se estique demais. Mantenha a postura e o equilíbrio adequados em todos os momentos. A postura e o equilíbrio adequados permitem um melhor controle da ferramenta em situações inesperadas.
- Use equipamento de segurança. Sempre use proteção para os olhos. Máscara contra poeira, sapatos de segurança antiderrapantes, capacete ou proteção auditiva devem ser usados para condições apropriadas. Óculos comuns ou óculos de sol NÃO são proteção para os olhos.
Uso e Cuidados com a Ferramenta
- Use grampos ou outra forma prática de fixar e apoiar a peça de trabalho em uma plataforma estável. Segurar o trabalho com a mão ou contra o corpo é instável e pode levar à perda de controle.
- Não force a ferramenta. Use a ferramenta correta para sua aplicação. A ferramenta correta fará o trabalho melhor e com mais segurança na taxa para a qual foi projetada.
- Não use a ferramenta se o interruptor não ligar ou desligar. Qualquer ferramenta que não possa ser controlada com o interruptor é perigosa e deve ser reparada.
- Desconecte o plugue da fonte de alimentação antes de fazer quaisquer ajustes, trocar acessórios ou guardar a ferramenta. Essas medidas preventivas de segurança reduzem o risco de ligar a ferramenta acidentalmente.
- Guarde as ferramentas ociosas fora do alcance de crianças e outras pessoas não treinadas. As ferramentas são perigosas nas mãos de usuários não treinados.
- Faça a manutenção das ferramentas com cuidado. Mantenha as ferramentas de corte afiadas e limpas. Ferramentas devidamente mantidas com arestas de corte afiadas têm menos probabilidade de emperrar e são mais fáceis de controlar.
- Verifique se há desalinhamento ou emperramento de peças móveis, quebra de peças e qualquer outra condição que possa afetar o funcionamento da ferramenta. Se danificada, leve a ferramenta para ser reparada antes de usar. Muitos acidentes são causados por ferramentas mal conservadas.
- Use apenas acessórios recomendados pelo fabricante para o seu modelo. Acessórios que podem ser adequados para uma ferramenta podem se tornar perigosos quando usados em outra ferramenta.
SERVIÇO
- O serviço da ferramenta deve ser realizado apenas por pessoal de reparo qualificado. O serviço ou manutenção realizado por pessoal não qualificado pode resultar em risco de ferimentos.
- Ao fazer a manutenção de uma ferramenta, use apenas peças de reposição idênticas. Siga as instruções na seção de Manutenção deste manual. O uso de peças não autorizadas ou o não cumprimento das instruções de Manutenção pode criar risco de choque elétrico ou ferimentos.
USE O CABO DE EXTENSÃO ADEQUADO: Certifique-se de que seu cabo de extensão esteja em boas condições. Ao usar um cabo de extensão, certifique-se de usar um cabo grosso o suficiente para transportar a corrente que seu produto consumirá. Um cabo de tamanho insuficiente causará uma queda na tensão da linha, resultando em perda de energia e superaquecimento. A Tabela 1 mostra o tamanho correto a ser usado, dependendo do comprimento do cabo e da classificação de amperagem da placa de identificação. Em caso de dúvida, use o próximo calibre mais grosso. Quanto menor o número do calibre, mais grosso é o cabo.
Tabela 1: Calibre mínimo para cabo
| Classificação de Amperagem | Volts | Comprimento total do cabo em pés | ||||
| 120 V | 25 pés | 50 pés | 100 pés | 150 pés | ||
| Mais que | Não Mais que | AWG | ||||
| 0 | 6 | 18 | 16 | 16 | 14 | |
| 6 | 10 | 18 | 16 | 14 | 12 | |
| 10 | 12 | 16 | 16 | 14 | 12 | |
| 12 | 16 | 14 | 12 | Não Recomendado | ||
REGRAS DE SEGURANÇA ESPECÍFICAS
NÃO deixe que o conforto ou a familiaridade com o produto (adquiridos com o uso repetido) substituam a estrita adesão às regras de segurança da serra recíproca. Se você usar esta ferramenta de forma insegura ou incorreta, poderá sofrer ferimentos pessoais graves.
- Segure a ferramenta pelas superfícies de aperto isoladas ao realizar uma operação onde a ferramenta de corte possa entrar em contato com fiação oculta ou com o próprio cabo. O contato com um fio "vivo" tornará as partes metálicas expostas da ferramenta "vivas" e chocará o operador.
- Sempre use óculos de segurança ou protetores. Óculos comuns ou óculos de sol NÃO são óculos de segurança.
- Evite cortar pregos. Inspecione a peça de trabalho em busca de pregos e remova-os antes da operação.
- Não corte peças de trabalho de tamanho excessivo.
- Verifique se há folga adequada além da peça de trabalho antes de cortar, para que a lâmina não atinja o chão, a bancada de trabalho, etc.
- Segure a ferramenta com firmeza.
- Certifique-se de que a lâmina não esteja em contato com a peça de trabalho antes de ligar o interruptor.
- Mantenha as mãos longe das peças móveis.
- Não deixe a ferramenta funcionando. Opere a ferramenta apenas quando estiver segurando-a com a mão.
- Sempre desligue e espere que a lâmina pare completamente antes de remover a lâmina da peça de trabalho.
- Não toque na lâmina ou na peça de trabalho imediatamente após a operação; elas podem estar extremamente quentes e podem queimar sua pele.
- Alguns materiais contêm produtos químicos que podem ser tóxicos. Tenha cuidado para evitar a inalação de poeira e o contato com a pele. Siga os dados de segurança do fornecedor do material.
GUARDE ESTAS INSTRUÇÕES
O USO INCORRETO ou a falha em seguir as regras de segurança declaradas neste manual de instruções pode causar ferimentos pessoais graves.
DESCRIÇÃO FUNCIONAL
- Sempre certifique-se de que a ferramenta esteja desligada e desconectada antes de ajustar ou verificar a função na ferramenta.
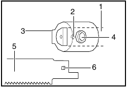
Ajustando a sapata

- Parafuso
- Sapata
Quando a lâmina perde sua eficiência de corte em um lugar ao longo de sua borda de corte, reposicione a sapata para utilizar uma porção afiada e não utilizada de sua borda de corte. Isso ajudará a prolongar a vida útil da lâmina. Para reposicionar a sapata, solte os dois parafusos que prendem a sapata e deslize a sapata para frente ou para trás até a posição desejada. Em seguida, aperte os dois parafusos para fixar firmemente a sapata.
Ação do interruptor
- Antes de conectar a ferramenta, sempre verifique se o gatilho do interruptor atua corretamente e retorna à posição "OFF" (DESLIGADO) quando liberado.
- O interruptor pode ser travado na posição "ON" (LIGADO) para facilitar o conforto do operador durante o uso prolongado. Tenha cuidado ao travar a ferramenta na posição "ON" (LIGADO) e mantenha firme

- Botão de trava
- Gatilho do interruptor
Para iniciar a ferramenta, basta puxar o gatilho do interruptor. A velocidade da ferramenta é aumentada aumentando a pressão no gatilho do interruptor. Solte o gatilho do interruptor para parar. Para operação contínua, puxe o gatilho do interruptor e, em seguida, pressione o botão de trava. Para parar a ferramenta da posição travada, puxe o gatilho do interruptor totalmente e, em seguida, solte-o.
MONTAGEM
- Sempre certifique-se de que a ferramenta esteja desligada e desconectada antes de realizar qualquer trabalho na ferramenta.
Instalando ou removendo a lâmina de serra
- Sempre limpe todas as lascas ou materiais estranhos aderidos à lâmina, à braçadeira da lâmina e/ou ao controle deslizante. Não fazer isso pode causar aperto insuficiente da lâmina, resultando em ferimentos graves.

- Parafuso
- Chave sextavada
Para instalar a lâmina, solte o parafuso na braçadeira da lâmina com a chave sextavada. Insira a lâmina entre a braçadeira da lâmina e o controle deslizante, de modo que o pino no controle deslizante se encaixe no orifício na haste da lâmina. Se o pino não conseguir se encaixar facilmente no orifício, remova a chave sextavada do parafuso e tente novamente. Depois que o pino se encaixar corretamente no orifício, aperte o parafuso no sentido horário com segurança, certificando-se de que a lâmina não possa ser extraída, mesmo que você tente puxá-la.
- Se você apertar o parafuso sem que o pino no controle deslizante se encaixe corretamente no orifício na haste da lâmina, o pino ou a haste da lâmina serão danificados. Isso pode fazer com que a lâmina seja extraída inesperadamente durante a operação.

- Controle deslizante
- Pino
- Braçadeira da lâmina
- Parafuso
- Lâmina
- Orifício
Para remover a lâmina, siga o procedimento de instalação ao contrário.
OPERAÇÃO
- Sempre pressione a sapata firmemente contra a peça de trabalho durante a operação. Se a sapata for mantida longe da peça de trabalho durante a operação, vibração e/ou torção fortes serão produzidas, fazendo com que a lâmina se quebre perigosamente.
- Sempre use luvas para proteger suas mãos de lascas voadoras quentes ao cortar metal.
- Certifique-se de sempre usar proteção ocular adequada que esteja em conformidade com os padrões nacionais atuais.

Pressione a sapata firmemente contra a peça de trabalho. Não deixe a ferramenta quicar. Traga a lâmina em contato leve com a peça de trabalho. Primeiro, faça um sulco piloto usando uma velocidade mais lenta. Em seguida, use uma velocidade mais rápida para continuar cortando.
MANUTENÇÃO
- Sempre certifique-se de que a ferramenta esteja desligada e desconectada antes de tentar realizar inspeção ou manutenção.
Para manter a SEGURANÇA e a CONFIABILIDADE do produto, os reparos, a inspeção e a substituição das escovas de carvão, qualquer outra manutenção ou ajuste devem ser realizados por Centros de Serviço Autorizados ou de Fábrica da Makita, sempre usando peças de reposição da Makita.
ACESSÓRIOS
- Estes acessórios ou anexos são recomendados para uso com sua ferramenta Makita especificada neste manual. O uso de quaisquer outros acessórios ou anexos pode apresentar risco de ferimentos às pessoas. Use apenas o acessório ou anexo para o propósito declarado.
Se precisar de ajuda para obter mais detalhes sobre esses acessórios, pergunte ao seu centro de serviço Makita local.
- Lâminas de serra recíproca
- Chave sextavada 4
- Maleta de transporte de plástico
Centros de Serviço de Fábrica
Sede: 1950 Forbes St., Whitby, Ontario, L1N 7B7 | (905) 571 - 2200 1-800-263-3734
Escritório Regional: 11771 Hammersmith Way, Richmond B.C. V7A 5H6 | (604) 272 - 3104 1-800-663-0909
Escritório Regional (Montreal): 6389 boul. Couture, St. Leonard, Quebec H1P 3J5 | (514) 323 - 1223 1-800-361-7049
Dartmouth: 202 Brownlow Avenue Dartmouth, N.S., B3B 1T5 | (902) 468 - 7064 1-888-625-4821
Ville St. Laurent (Montreal): 1140 Rue Bégin, Ville St. Laurent, Quebec H4R 1X1 | (514) 745 - 5025 1-888-745-5025
Les Saules (Quebec): 1200 St. Jean Baptiste, Unit 106, Les Saules, Quebec, G2E 5E8 | (418) 871 - 5720 1-800-663-5757
Nepean (Ottawa): 210 Colonnade Road, Unit 11, Nepean, Ontario, K2E 7M1 | (613) 224 - 5022 1-888-560-2214
Whitby: 1950 Forbes St., Whitby, Ontario, L1N 7B7 | (905) 571 - 2200 1-800-263-3734
London: 317 Adelaide St. S., Unit 117, London, Ontario, N5Z 3L3 | (519) 686 - 3115 1-800-571-0899
Mississauga: 6350 Tomken Rd., Unit 8, Mississauga, Ontario, L5T 1Y3 | (905) 670 - 7255 1-888-221-9811
Calgary: #8-6115 Fourth St. S.E., Calgary Alberta, T2H 2H9 | (403) 243 - 3995 1-800-267-0445
Edmonton: 11614-149 Street, Edmonton, Alberta, T5M 3R3 | (780) 455 - 6644 1-888-455-6644
Richmond: 11771 Hammersmith Way, Richmond, B.C., V7A 5H6 | (604) 272 - 3104 1-800-663-0909
Coquitlam: 2131 Hartley Ave., #103 Coquitlam, B.C. V3K 2Z3 | (604) 525 - 7434 1-800-266-7738
Winnipeg: 1670 St. James Street, Winnipeg, Manitoba, R3H 0L3 | (204) 694 - 0402 1-800-550-5073
Saskatoon: 206A-2750 Faithful Avenue Saskatoon, Saskatchewan, S7K 6M6 | (306) 931 - 0111 1-888-931-0111
Para o centro de serviço autorizado mais próximo, consulte a lista telefônica local nas páginas amarelas em "ferramentas" ou entre em contato com nosso departamento de atendimento ao cliente (Tel) 1-800-263-3734
Quando você precisar de serviço...
- Explique o problema em uma carta
- Anexe a carta com a ferramenta
- Embale cuidadosamente e envie pré-pago para a fábrica da Makita ou centro de serviço autorizado mais próximo
GARANTIA LIMITADA DE UM ANO DA MAKITA
Política de Garantia
Cada ferramenta Makita é cuidadosamente inspecionada e testada antes de sair da fábrica. É garantido que ela está livre de defeitos de fabricação e materiais pelo período de UM ANO a partir da data da compra original. Se ocorrer algum problema durante este período de um ano, devolva a ferramenta COMPLETA, com frete pré-pago, a um dos Centros de Serviço Autorizados ou de Fábrica da Makita. Se a inspeção mostrar que o problema é causado por defeito de fabricação ou material, a Makita irá reparar (ou, a nosso critério, substituir) sem custo.
Esta garantia não se aplica:
- onde a manutenção normal é necessária,
- reparos foram feitos ou tentados por outros,
- a ferramenta foi abusada, mal utilizada ou mantida de forma inadequada,
- alterações foram feitas na ferramenta.
EM NENHUM CASO A MAKITA SERÁ RESPONSÁVEL POR QUAISQUER DANOS INDIRETOS, INCIDENTAIS OU CONSEQUENCIAIS DA VENDA OU USO DO PRODUTO. ESTE AVISO SE APLICA TANTO DURANTE QUANTO APÓS O PERÍODO DESTA GARANTIA.
"A Garantia Makita é a única e total garantia escrita fornecida pela Makita para as ferramentas Makita. Nenhum revendedor ou seu agente ou funcionário está autorizado a estender ou ampliar esta garantia por qualquer declaração ou anúncio verbal ou escrito."
A MAKITA SE ISENTA DA RESPONSABILIDADE POR QUAISQUER GARANTIAS IMPLÍCITAS, INCLUINDO GARANTIAS IMPLÍCITAS DE "COMERCIALIZAÇÃO" E ADEQUAÇÃO A UM PROPÓSITO ESPECÍFICO," APÓS O PRAZO DE UM ANO DESTA GARANTIA.
"Esta garantia lhe dá direitos específicos. As disposições contidas nesta garantia não têm a intenção de limitar, modificar, retirar, renunciar ou excluir quaisquer garantias estabelecidas em qualquer legislação provincial. Na medida exigida por lei, as disposições em qualquer legislação provincial ou federal com respeito a garantias têm precedência sobre as disposições desta garantia."
Makita Corporation
Anjo, Aichi, Japan
Made in China
Nan Zi Road, Kunshan Export Processing Zone Jiangsu, P.R. China

Baixar manual
Aqui você pode baixar a versão completa em PDF do manual, ela pode conter instruções de segurança adicionais, informações de garantia, regras da FCC, etc.
Baixar Manual da Serra Sabre Makita JR3000V