Sony Walkman NWZ-B183, NWZ-B183F Kurzanleitung
- 1 Über die Handbücher
- 2 Inhalt
- 3 Über das Betriebssystem
- 4 Installieren der mitgelieferten Software
- 5 Aufladen des Akkus
- 6 Teile und Bedienelemente
- 7 Über die Lautstärkeregelung
- 8 Ein- und Ausschalten Ihres Walkman
- 9 Bedienung Ihres Walkman
- 10 Importieren und Übertragen von Musik
- 11 Fehlerbehebung
- 12 Vorsichtsmaßnahmen
- 13 Referenzen
- 14 Anleitung herunterladen
- 15 In anderen Sprachen

Über die Handbücher
Diese Kurzanleitung beschreibt lediglich die grundlegenden Bedienungsschritte und die Installation der mitgelieferten Software.
Detaillierte Informationen und Bedienungsanleitungen finden Sie im Hilfemenü (HTML-Dokument), das nach der Installation in der mitgelieferten Software enthalten ist.
Sie können über die URL oder den QR-Code auf der ersten Seite mit verschiedenen Geräten auf das Online-Hilfemenü (HTML-Dokument/Vollversion) zugreifen. Das Browsen ist kostenlos, es können jedoch Kommunikationsgebühren gemäß Ihrem Mobilfunkvertrag anfallen.
Inhalt
- WALKMAN (1)
- Kopfhörer (1)
- Kurzanleitung (dieses Handbuch)
Über das Betriebssystem
Stellen Sie sicher, dass das Betriebssystem Windows 8.1, Windows 8, Windows 7 (Service Pack 1 oder höher) oder Windows Vista (Service Pack 2 oder höher) ist und die installierte Version von Windows Media Player auf Ihrem Computer 11 oder 12 ist.
Das Mac OS wird von Ihrem Walkman nicht unterstützt.
Installieren der mitgelieferten Software
(Hilfemenü enthalten)
- Verbinden Sie Ihren Walkman mit einem eingeschalteten Computer.
![Sony - Walkman NWZ-B183 - Installieren der mitgelieferten Software Installieren der mitgelieferten Software]()
- Wählen Sie die folgende Reihenfolge auf dem Computer.
- Windows 7 oder früher: Wählen Sie [Start] (Start) - [Computer] (Computer) oder [My Computer] (Arbeitsplatz) - [WALKMAN] - [FOR_WINDOWS].
- Windows 8.1 oder Windows 8: Wählen Sie [Desktop] (Desktop) vom [Start screen] (Startbildschirm), um den [File Explorer] (Datei-Explorer) zu öffnen. Wählen Sie in der Liste [Computer] (Computer) die Option [WALKMAN] - [FOR_WINDOWS].
- Doppelklicken Sie auf [Help_Guide_Installer.exe].
Der Installationsassistent wird angezeigt. - Folgen Sie den Anweisungen auf dem Bildschirm.
Nach Abschluss der Installation wird die Verknüpfung zum Hilfemenü auf dem Desktop Ihres Computers angezeigt.
Aufladen des Akkus
Der Akku Ihres Walkman wird aufgeladen, während der Walkman mit einem eingeschalteten Computer verbunden ist.

Hinweis
- Wenn Sie Ihren Walkman aufladen, nachdem er längere Zeit nicht benutzt wurde, erkennt Ihr Computer ihn möglicherweise nicht, oder es erscheint nichts auf dem Display. Laden Sie den Walkman etwa 10 Minuten lang auf, danach sollte er wieder normal funktionieren.
Wenn das Display des Walkman länger als 10 Minuten leer bleibt, trennen Sie den Walkman und drücken Sie die RESET-Taste, um den Walkman zurückzusetzen. - Wenn Sie den Computer einschalten, neu starten, herunterfahren oder aus dem Ruhemodus oder Standby-Modus wecken, während Ihr Walkman mit dem Computer verbunden ist, kann der Walkman Fehlfunktionen aufweisen. Trennen Sie in diesem Fall den Walkman und drücken Sie die RESET-Taste des Walkman, um ihn zurückzusetzen. Trennen Sie den Walkman vom Computer, bevor Sie diese Vorgänge ausführen.
- Um eine Akkualterung zu verhindern, laden Sie den Akku mindestens einmal alle sechs Monate oder einmal pro Jahr auf.
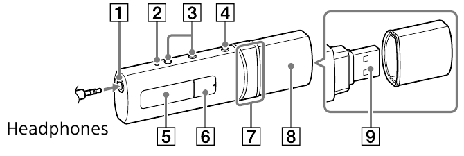
Teile und Bedienelemente
Vorderseite

Rückseite

- Kopfhöreranschluss
- RESET-Taste
Drücken Sie die RESET-Taste mit einem Stift oder einer Büroklammer usw., um Ihren Walkman zurückzusetzen. Während Ihr Walkman über USB mit dem Computer verbunden ist, können Sie den Walkman nicht zurücksetzen. - VOL +*1 /– Tasten
- BACK/HOME-Taste
Siehe „Bedienung Ihres Walkman“. - Display
*1 Taste
Führt die gewünschten Elemente aus. Startet/pausiert die Musikwiedergabe oder pausiert/startet die Aufnahme neu.
Taste
Drücken Sie diese Taste, um ein Menüelement auszuwählen, schnellen Rücklauf/Vorlauf während der Wiedergabe zu starten oder einen FM-Sender vorab einzustellen.- USB-Kappe
Beim Anschließen über USB entfernen Sie die USB-Kappe. - USB-Anschluss
- Befestigungsösen
- HOLD-Schalter
Deaktiviert die Bedientasten, um eine versehentliche Bedienung beim Tragen des Walkman zu vermeiden.
*1 Ein taktiler Punkt hilft bei der Tastenbedienung.
Über die Lautstärkeregelung
(Nur für Länder/Gebiete, die den europäischen und koreanischen Richtlinien entsprechen)
Ein Alarm (Piepton) und eine Warnung [Check the volume level] (Lautstärke prüfen) sollen Ihre Ohren schützen, wenn Sie die Lautstärke zum ersten Mal auf ein für Ihre Ohren schädliches Niveau erhöhen. Sie können den Alarm und die Warnung durch Drücken einer beliebigen Taste abbrechen.
Hinweis
- Sie können die Lautstärke erhöhen, nachdem Sie den Alarm und die Warnung abgebrochen haben.
- Nach der ersten Warnung wiederholen sich Alarm und Warnung alle 20 Stunden, in denen die Lautstärke auf ein für Ihre Ohren schädliches Niveau eingestellt ist; wenn dies geschieht, wird die Lautstärke automatisch reduziert.
- Wenn die Lautstärke auf ein für Ihre Ohren schädliches Niveau eingestellt ist und Sie den Walkman ausschalten, wird die Lautstärke automatisch auf ein für Ihre Ohren sicheres Niveau reduziert.
Ein- und Ausschalten Ihres Walkman
| Einschalten | Drücken Sie die Taste. |
| Ausschalten | Halten Sie die Taste gedrückt. |
Tipp
- Wenn die Musikwiedergabe pausiert ist und über einen bestimmten Zeitraum keine Bedienung erfolgt, schaltet sich Ihr Walkman automatisch aus, außer wenn das FM-Radio aktiviert ist.
- Das Display schaltet sich aus, wenn Sie über einen bestimmten Zeitraum keine Bedienung vornehmen. Drücken Sie in solchen Fällen die BACK/HOME-Taste, um das Display wieder einzuschalten.
Bedienung Ihres Walkman
Das Home-Menü ist der Ausgangspunkt jeder Anwendung.
| Um [Music] (Musik) im Home-Menü anzuzeigen | Halten Sie die BACK/HOME-Taste gedrückt. |
| Um ein Element auszuwählen | Drücken Sie eine der Seiten der Taste, um ein Element auszuwählen, und drücken Sie dann die Taste zur Bestätigung. |
| Zurück zum vorherigen Bildschirm | Drücken Sie die BACK/HOME-Taste. |
Home-Menü* 1![]() | |
[Music] (Musik) | Spielt übertragene Musik auf Ihrem Walkman ab. |
[FM Radio] (FM-Radio) * 1 | Spielt FM-Radio ab oder spielt/löscht mit Ihrem Walkman aufgenommene FM-Radiosendungen. |
[Settings] (Einstellungen) | Legt die Funktionen für Musik, FM*1 oder die Walkman 1-Einstellungen fest. |
*1 Elemente, die mit der [FM Radio]-Funktion zusammenhängen, erscheinen nur auf dem NWZ-B183F.
Importieren und Übertragen von Musik
Sie können Musik (WMA- oder MP3-Codec) in den Ordner [MUSIC] auf Ihrem Walkman übertragen, indem Sie sie im Windows Explorer auf Ihrem Computer per Drag & Drop ziehen. Wenn Sie Musikdaten von CDs rippen m**SIGNuuml;ssen, können Sie Windows Media Player 11 oder 12 verwenden. Einzelheiten zur Verwendung finden Sie in der Hilfe dazu.
Hinweis
- Trennen Sie Ihren Walkman nicht, während Dateien übertragen werden. Andernfalls wird die übertragene Datei beschädigt.
- Sie können keine Musik mit Kopierschutz übertragen, da Ihr Walkman dies nicht unterstützt.
Fehlerbehebung
Wenn Ihr Walkman nicht wie erwartet funktioniert, versuchen Sie die folgenden Schritte zur Fehlerbehebung.
- Suchen Sie die Symptome des Problems unter "Troubleshooting" (Fehlerbehebung) im Hilfemenü (HTML-Dokument) und versuchen Sie die aufgeführten Korrekturmaßnahmen.
Einzelheiten zum Anschließen an einen Computer finden Sie in der folgenden Tabelle. - Schließen Sie Ihren Walkman an Ihren Computer an, um den Akku aufzuladen.
Einige Probleme können durch Aufladen des Akkus behoben werden. - Drücken Sie die RESET-Taste mit einem Stift oder einer Büroklammer usw.
Bevor Sie Ihren Walkman zurücksetzen, trennen Sie ihn von Ihrem Computer und stellen Sie sicher, dass kein Lied abgespielt wird. Danach können Sie den Walkman sicher zurücksetzen. Drücken Sie nach dem Zurücksetzen des Walkman die
Taste, um den Walkman einzuschalten. - Überprüfen Sie die Informationen zum Problem in der Hilfe der jeweiligen Software.
- Suchen Sie Informationen zum Problem auf einer der Kundensupport-Websites.
Informationen zu den Kundensupport-Websites finden Sie unter „Für die neuesten Informationen“. - Wenn die oben genannten Ansätze das Problem nicht lösen, wenden Sie sich an Ihren nächsten Sony-Händler.
| Symptom | Ursache/Abhilfe |
| Ich kann den Akku nicht aufladen. |
|
| [Connecting USB] (USB wird verbunden) wird nicht angezeigt, wenn Ihr Walkman an den Computer angeschlossen ist. |
|
| Ihr Walkman wird instabil, während er mit dem Computer verbunden ist. |
|
Vorsichtsmaßnahmen
Informationen zu Gesetzen und Marken
Informationen zu Gesetzen, Vorschriften und Markenrechten finden Sie unter „Wichtige Informationen“ in der mitgelieferten Software. Um diese zu lesen, installieren Sie die mitgelieferte Software auf Ihrem Computer.
Über die Kopfhörer
- Vermeiden Sie es, das Gerät mit einer so hohen Lautstärke abzuspielen, dass längeres Hören Ihr Gehör beeinträchtigen könnte.
- Bei hoher Lautstärke können Außengeräusche unhörbar werden. Vermeiden Sie das Hören des Geräts in Situationen, in denen das Gehör nicht beeinträchtigt werden darf, z. B. beim Autofahren oder Radfahren.
- Da die Kopfhörer eine offene Bauweise haben, treten Geräusche durch die Kopfhörer nach außen. Denken Sie daran, Personen in Ihrer Nähe nicht zu stören.
Über die In-Ear-Kopfhörer
Die Ohrhörer dichten Ihre Ohren ab. Seien Sie daher vorsichtig, da die Gefahr einer Schädigung Ihrer Ohren oder Trommelfelle besteht, wenn starker Druck auf die Ohrhörer ausgeübt wird oder die Ohrhörer plötzlich aus den Ohren entfernt werden. Nehmen Sie die Ohrhörer nach Gebrauch vorsichtig aus Ihren Ohren.
Für die neuesten Informationen
Wenn Sie Fragen oder Probleme mit diesem Produkt haben oder Informationen zu kompatiblen Artikeln mit diesem Produkt wünschen, besuchen Sie die folgenden Websites.
Für Kunden in den USA: http://www.sony.com/walkmansupport
Für Kunden in Kanada: http://www.sony.ca/ElectronicsSupport/
Für Kunden in Lateinamerika: http://www.sony-latin.com/index.crp
Für Kunden in Europa: http://support.sony-europe.com/dna/wm/
Für Kunden in Asien, Ozeanien, dem Nahen Osten und Afrika:
English: http://www.sony-asia.com/support
Korean: http://scs.sony.co.kr/walkman/
Simplified Chinese: http://service.sony.com.cn/KB/
Traditional Chinese: http://service.sony.com.tw/
Für Kunden, die Übersee-Modelle gekauft haben: http://www.sony.co.jp/overseas/support/

http://rd1.sony.net/help/dmp/nwzb180/h_ww/
©2014 Sony Corporation Gedruckt in China

Referenzen
http://www.sony.com/walkmansupport
Sony Canada
Sony América Latina | Últimas noticias, tecnología y gadgets | Electrónica | Entretenimiento | SonySony Support Europe
http://www.sony-asia.com/support
http://service.sony.com.cn/KB/
http://service.sony.com.tw
Kundensupport für Übersee-Modelle
Help Guide | Top
Anleitung herunterladen
Hier können Sie die vollständige PDF-Version des Handbuchs herunterladen. Sie kann zusätzliche Sicherheitsanweisungen, Garantieinformationen, FCC-Regeln usw. enthalten.
Sony Walkman NWZ-B183, NWZ-B183F Kurzanleitung herunterladen

*1 Taste
Taste
Taste.
Taste, um ein Element auszuwählen, und drücken Sie dann die
Taste zur Bestätigung.
[Music] (Musik)
[FM Radio] (FM-Radio) * 1
[Settings] (Einstellungen)
Taste, um den Walkman einzuschalten.
angezeigt wird. Laden Sie den Akku bei einer Umgebungstemperatur von 5 °C (41 °F) bis 35 °C (95 °F) auf.