Sony Walkman NWZ-B183, NWZ-B183F Kiirjuhend
- 1 Kasutusjuhenditest
- 2 Sisu
- 3 Operatsioonisüsteemist
- 4 Kaasasoleva tarkvara installimine
- 5 Aku laadimine
- 6 Osad ja juhtnupud
- 7 Helitugevuse reguleerimisest
- 8 Walkmani sisse- ja väljalülitamine
- 9 Kuidas oma Walkmani kasutada
- 10 Muusika importimine ja ülekandmine
- 11 Veaotsing
- 12 Ettevaatusabinõud
- 13 Viited
- 14 Laadi alla juhend
- 15 Teistes keeltes

Kasutusjuhenditest
See kiirjuhend kirjeldab ainult põhilisi kasutusjuhiseid ja kaasasoleva tarkvara installimist.
Täpsema teabe ja kasutusjuhiste saamiseks vaadake pärast installimist kaasasolevasse tarkvarasse kuuluvat spikrit (HTML-dokument).
Saate veebipõhisele spikrile (HTML-dokument/täisversioon) juurde pääseda erinevate seadmete abil esimesel lehel oleva URL-i või QR-koodi kaudu. Kuigi sirvimine on tasuta, võidakse teilt vastavalt teie operaatori lepingule võtta side eest tasu.
Sisu
- WALKMAN (1)
- Kõrvaklapid (1)
- Kiirjuhend (käesolev juhend)
Operatsioonisüsteemist
Veenduge, et operatsioonisüsteem on Windows 8.1, Windows 8, Windows 7 (Service Pack 1 või uuem), Windows Vista (Service Pack 2 või uuem) ja teie arvutisse installitud Windows Media Playeri versioon on 11 või 12.
Mac OS ei ole teie Walkmaniga toetatud.
Kaasasoleva tarkvara installimine
(Spikker kaasas)
- Ühendage oma Walkman töötava arvutiga.
![Sony - Walkman NWZ-B183 - Kaasasoleva tarkvara installimine Kaasasoleva tarkvara installimine]()
- Valige arvutiga järgmine järjekord.
- Windows 7 või varasem: valige [Start] (Start) - [Computer] (Arvuti) või [My Computer] (Minu arvuti) - [WALKMAN] - [FOR_WINDOWS].
- Windows 8.1 või Windows 8: valige [Desktop] (Töölaud) menüüst [Start screen] (Avaekraan), et avada [File Explorer] (Failihaldur). Valige loendist [Computer] (Arvuti) [WALKMAN] - [FOR_WINDOWS].
- Topeltklõpsake [Help_Guide_Installer.exe].
Kuvatakse installiviisard. - Järgige ekraanil kuvatavaid juhiseid.
Pärast installiprogrammi lõpetamist kuvatakse teie arvuti töölaual spikri otsetee.
Aku laadimine
Teie Walkmani aku laetakse, kui Walkman on ühendatud töötava arvutiga.

Märkus
- Kui laadite oma Walkmani, kui seda pole pikka aega kasutatud, ei pruugi teie arvuti seda ära tunda või ekraanil ei pruugi midagi ilmuda. Laadige Walkmani umbes 10 minutit, pärast mida peaks see uuesti normaalselt tööle hakkama.
Kui Walkmani ekraan jääb kauem kui 10 minutiks tühjaks, ühendage Walkman lahti ja vajutage Walkmani lähtestamiseks nuppu RESET (lähtesta). - Kui lülitate arvuti sisse, taaskäivitate arvuti, lülitate arvuti välja või äratate arvuti unerežiimist või talveunest, kui teie Walkman on arvutiga ühendatud, võib Walkman talitlushäireid põhjustada. Sel juhul ühendage Walkman lahti ja vajutage Walkmani lähtestamiseks nuppu RESET (lähtesta). Enne nende toimingute tegemist ühendage Walkman arvutist lahti.
- Aku riknemise vältimiseks laadige akut vähemalt kord poole aasta või aasta jooksul.
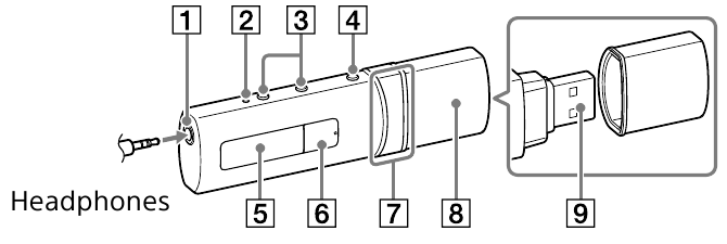
Osad ja juhtnupud
Esikülg

Tagakülg

- Kõrvaklappide pesa
- RESET (lähtesta) nupp
Walkmani lähtestamiseks vajutage nuppu RESET (lähtesta) pliiatsi või kirjaklambri vms abil. Kui teie Walkman on USB kaudu arvutiga ühendatud, ei saa te Walkmani lähtestada. - VOL +*1 /– nupud
- BACK/HOME (tagasi/avaleht) nupp
Vaadake jaotist "Kuidas oma Walkmani kasutada". - Ekraan
*1 nupp
Teostab soovitud üksused. Alustab/peatab muusika taasesituse või peatab/taaskäivitab salvestamise.
nupp
Vajutage menüüelemendi valimiseks, taasesituse ajal kiireks tagasi- või edasikerimiseks või FM-jaama eelseadistamiseks.- USB-kork
USB-ga ühendamisel eemaldage USB-kork. - USB-pistik
- Rihma augud
- HOLD (hoia) lüliti
Keelab juhtnupud, et vältida juhuslikku kasutamist Walkmani kandmise ajal.
*1 Nuppude kasutamise hõlbustamiseks on olemas taktiilne punkt.
Helitugevuse reguleerimisest
(Ainult riikidele/piirkondadele, mis vastavad Euroopa ja Korea direktiividele)
Hoiatus (piiks) ja hoiatus [Check the volume level] (Kontrollige helitugevust) on mõeldud teie kõrvade kaitsmiseks, kui keerate helitugevuse esimest korda tasemele, mis on teie kõrvadele kahjulik. Saate hoiatuse ja hoiatuse tühistada, vajutades mis tahes nuppu.
Märkus
- Pärast hoiatuse ja hoiatuse tühistamist saate helitugevust suurendada.
- Pärast esialgset hoiatust korratakse hoiatust ja hoiatust iga 20 kumulatiivse tunni järel, kui helitugevus on seatud tasemele, mis on teie kõrvadele kahjulik; kui see juhtub, vähendatakse helitugevust automaatselt.
- Kui helitugevus on seatud tasemele, mis on teie kõrvadele kahjulik, ja lülitate Walkmani välja, vähendatakse helitugevust automaatselt tasemele, mis on teie kõrvadele ohutu.
Walkmani sisse- ja väljalülitamine
| Sisselülitamiseks | Vajutage nuppu . |
| Väljalülitamiseks | Vajutage pikalt nuppu . |
Vihje
- Kui muusika taasesitus on peatatud ja teatud aja jooksul ei proovita ühtegi toimingut, lülitub teie Walkman automaatselt välja, välja arvatud juhul, kui FM-raadio on aktiveeritud.
- Ekraan lülitub välja, kui teatud aja jooksul ei proovita ühtegi toimingut. Sellistel juhtudel vajutage ekraani uuesti sisselülitamiseks nuppu BACK/HOME (tagasi/avaleht).
Kuidas oma Walkmani kasutada
Avalehe menüü on iga rakenduse lähtepunkt.
| Avalehe menüüs [Music] (Muusika) kuvamiseks | Vajutage pikalt nuppu BACK/HOME (tagasi/avaleht). |
| Elemendi valimiseks | Elemendi valimiseks vajutage nuppu mõlemalt poolt ja seejärel vajutage kinnitamiseks nuppu . |
| Eelmisele ekraanile naasmiseks | Vajutage nuppu BACK/HOME (tagasi/avaleht). |
Avalehe menüü* 1![]() | |
[Music] (Muusika) | Esitab teie Walkmani ülekantud muusikat. |
[FM Radio] (FM-raadio) * 1 | Esitab FM-raadiot või esitab/kustutab teie Walkmaniga salvestatud FM-raadioprogramme. |
[Settings] (Seaded) | Seadistab muusika, FM*1 või teie Walkmani 1 seaded. |
*1 [FM Radio] (FM-raadio) funktsiooniga seotud üksused kuvatakse ainult NWZ-B183F-is.
Muusika importimine ja ülekandmine
Saate muusikat (WMA või MP3 koodek) oma Walkmani kausta [MUSIC] (Muusika) üle kanda, lohistades selle oma arvuti Windows Exploreris. Kui teil on vaja muusikafaile CD-delt rippida, saate kasutada Windows Media Player 11 või 12. Kasutamise üksikasju leiate selle spikrist.
Märkus
- Ärge ühendage oma Walkmani lahti, kui faile edastatakse. Kui te seda teete, saab edastatav fail kahjustada.
- Te ei saa autoriõigusega kaitstud muusikat üle kanda, kuna teie Walkman seda ei toeta.
Veaotsing
Kui teie Walkman ei tööta ootuspäraselt, proovige probleemi lahendamiseks järgmisi samme.
- Leidke probleemi sümptomid spikri (HTML-dokument) jaotisest "Troubleshooting" (Veaotsing) ja proovige loetletud parandusmeetmeid.
Arvutiga ühendamise üksikasju leiate allolevast tabelist. - Aku laadimiseks ühendage oma Walkman arvutiga.
Mõned probleemid võivad laheneda aku laadimisega. - Vajutage nuppu RESET (lähtesta) pliiatsi või kirjaklambri vms abil.
Enne Walkmani lähtestamist ühendage Walkman arvutist lahti ja kontrollige, kas ühtegi laulu ei esitata. Seejärel saate Walkmani ohutult lähtestada. Pärast Walkmani lähtestamist vajutage Walkmani sisselülitamiseks nuppu
. - Kontrollige iga tarkvara spikrist teavet probleemi kohta.
- Otsige teavet probleemi kohta ühelt klienditoe veebisaidilt.
Klienditoe veebisaitide kohta vaadake jaotist "Viimase teabe saamiseks". - Kui ülaltoodud lähenemisviisid ei suuda probleemi lahendada, pidage nõu lähima Sony edasimüüjaga.
| Sümptom | Põhjus/lahendus |
| Ma ei saa akut laadida. |
|
| [Connecting USB] (USB-ühendus) ei ilmu, kui teie Walkman on arvutiga ühendatud. |
|
| Teie Walkman muutub arvutiga ühenduse ajal ebastabiilseks. |
|
Ettevaatusabinõud
Teave seaduste ja kaubamärkide kohta
Teavet seaduste, määruste ja kaubamärgiõiguste kohta leiate kaasasolevasse tarkvarasse kuuluvast jaotisest "Important Information" (Oluline teave). Selle lugemiseks installige kaasasolev tarkvara oma arvutisse.
Kõrvaklappide kohta
- Vältige seadme mängimist nii valju helitugevusega, et pikaajaline mängimine võib teie kuulmist mõjutada.
- Suure helitugevuse korral võivad välised helid muutuda kuuldamatuks. Vältige seadme kuulamist olukordades, kus kuulmist ei tohi kahjustada, näiteks sõidu või jalgrattaga sõitmise ajal.
- Kuna kõrvaklapid on avatud õhuga, kostavad helid läbi kõrvaklappide. Ärge unustage lähedasi häirida.
Kõrvaklappide kohta
Kõrvapadjad sulgevad teie kõrvad. Seetõttu pidage meeles, et on oht kahjustada oma kõrvu või trummikilesid, kui kõrvapatjadele avaldatakse tugevat survet või kõrvapadjad eemaldatakse ootamatult kõrvadest. Pärast kasutamist eemaldage kõrvapadjad õrnalt kõrvadest.
Viimase teabe saamiseks
Kui teil on selle tootega seoses küsimusi või probleeme või soovite teavet selle tootega ühilduvate üksuste kohta, külastage järgmisi veebisaite.
Klientidele USA-s: http://www.sony.com/walkmansupport
Klientidele Kanadas: http://www.sony.ca/ElectronicsSupport/
Klientidele Ladina-Ameerikas: http://www.sony-latin.com/index.crp
Klientidele Euroopas: http://support.sony-europe.com/dna/wm/
Klientidele Aasias, Okeaanias, Lähis-Idas ja Aafrikas:
Inglise keel: http://www.sony-asia.com/support
Korea keel: http://scs.sony.co.kr/walkman/
Lihtsustatud hiina keel: http://service.sony.com.cn/KB/
Traditsiooniline hiina keel: http://service.sony.com.tw/
Klientidele, kes on ostnud välismaiseid mudeleid: http://www.sony.co.jp/overseas/support/

http://rd1.sony.net/help/dmp/nwzb180/h_ww/
©2014 Sony Corporation Printed in China

Viited
http://www.sony.com/walkmansupport
Sony Canada
Sony América Latina | Últimas noticias, tecnología y gadgets | Electrónica | Entretenimiento | SonySony Support Europe
http://www.sony-asia.com/support
http://service.sony.com.cn/KB/
http://service.sony.com.tw
Overseas Model Customer Support
Help Guide | Top
Laadi alla juhend
Siin saate alla laadida juhendi täieliku pdf-versiooni, mis võib sisaldada täiendavaid ohutusjuhiseid, garantiiteavet, FCC eeskirju jne.
Laadi alla Sony Walkman NWZ-B183, NWZ-B183F Kiirjuhend

*1 nupp
nupp
.
mõlemalt poolt ja seejärel vajutage kinnitamiseks nuppu
.
[Music] (Muusika)
[FM Radio] (FM-raadio) * 1
[Settings] (Seaded)
.
. Laadige akut ümbritseva õhu temperatuuril 5 °C (41 ºF) kuni 35 °C (95 ºF).