Sony Walkman NWZ-B183, NWZ-B183F Hızlı Başlangıç Kılavuzu
- 1 Kılavuzlar Hakkında
- 2 İçindekiler
- 3 İşletim Sistemi Hakkında
- 4 Birlikte Verilen Yazılım Nasıl Kurulur
- 5 Pilin Şarj Edilmesi
- 6 Parçalar ve Kontroller
- 7 Ses işlemi hakkında
- 8 Walkman'inizi Açma ve Kapatma
- 9 Walkman'inizi Nasıl Kullanırsınız
- 10 Müzik İçe Aktarma ve Aktarma
- 11 Sorun Giderme
- 12 Önlemler
- 13 Referanslar
- 14 Kılavuzu indir
- 15 Diğer Dillerde

Kılavuzlar Hakkında
Bu Hızlı Başlangıç Kılavuzu sadece temel çalıştırma talimatlarını ve birlikte verilen yazılımın nasıl kurulacağını açıklamaktadır.
Detaylı bilgi ve çalıştırma talimatları için, kurulumdan sonra birlikte verilen yazılımda bulunan Yardım Kılavuzu'na (HTML belgesi) bakın.
İlk sayfadaki URL veya QR kodunu kullanarak çeşitli cihazlardan çevrimiçi Yardım Kılavuzu'na (HTML belgesi/Tam sürüm) erişebilirsiniz. Göz atma ücretsiz olsa da, operatör sözleşmenize göre iletişim ücreti alınabilir.
İçindekiler
- WALKMAN (1)
- Kulaklık (1)
- Hızlı Başlangıç Kılavuzu (bu kılavuz)
İşletim Sistemi Hakkında
İşletim sisteminin Windows 8.1, Windows 8, Windows 7 (Service Pack 1 veya üzeri), Windows Vista (Service Pack 2 veya üzeri) olduğundan ve bilgisayarınızda kurulu Windows Media Player sürümünün 11 veya 12 olduğundan emin olun.
Mac OS, Walkman'iniz tarafından desteklenmemektedir.
Birlikte Verilen Yazılım Nasıl Kurulur
(Yardım Kılavuzu dahildir)
- Walkman'inizi çalışan bir bilgisayara bağlayın.
![Sony - Walkman NWZ-B183 - Birlikte Verilen Yazılım Nasıl Kurulur Birlikte Verilen Yazılım Nasıl Kurulur]()
- Bilgisayarla aşağıdaki sırayı seçin.
- Windows 7 veya öncesi: [Başlat] (Start) - [Bilgisayar] (Computer) veya [Bilgisayarım] (My Computer) - [WALKMAN] - [FOR_WINDOWS] öğesini seçin.
- Windows 8.1 veya Windows 8: [Dosya Gezgini] (File Explorer) açmak için [Başlangıç ekranı] (Start screen) öğesinden [Masaüstü] (Desktop) öğesini seçin. [Bilgisayar] (Computer) listesinde [WALKMAN] - [FOR_WINDOWS] öğesini seçin.
- [Help_Guide_Installer.exe] dosyasına çift tıklayın.
Kurulum sihirbazı görünür. - Ekrandaki talimatları izleyin.
Kurulum tamamlandıktan sonra, Yardım Kılavuzu kısayolu bilgisayarınızın masaüstünde görünür.
Pilin Şarj Edilmesi
Walkman'iniz için pil, Walkman çalışan bir bilgisayara bağlıyken şarj edilir.

Not
- Walkman'inizi uzun süre kullanılmadığında şarj ederseniz, bilgisayarınız onu tanımayabilir veya ekranda hiçbir şey görünmeyebilir. Walkman'i yaklaşık 10 dakika şarj edin, ardından normal şekilde çalışmaya başlamalıdır.
Walkman'in ekranı 10 dakikadan uzun süre boş kalırsa, Walkman'i çıkarın ve Walkman'i sıfırlamak için RESET düğmesine basın. - Walkman'iniz bilgisayara bağlıyken bilgisayarı açarsanız, bilgisayarı yeniden başlatırsanız, bilgisayarı kapatırsanız veya bilgisayarı Uyku veya Hazırda Bekletme durumundan uyandırırsanız, Walkman arızalanabilir. Bu durumda, Walkman'i çıkarın ve sıfırlamak için Walkman'in RESET düğmesine basın. Bu işlemleri gerçekleştirmeden önce Walkman'i bilgisayardan çıkarın.
- Pil bozulmasını önlemek için pili en az altı ayda veya yılda bir kez şarj edin.
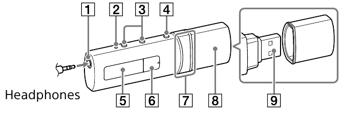
Parçalar ve Kontroller
Ön

Arka

- Kulaklık girişi
- RESET düğmesi
Walkman'inizi sıfırlamak için RESET düğmesine bir kalem veya ataş vb. ile basın. Walkman'iniz USB üzerinden bilgisayara bağlıyken, Walkman'i sıfırlayamazsınız. - VOL +*1 /– düğmeleri
- GERİ/HOME (BACK/HOME) düğmesi
"Walkman'inizi Nasıl Kullanırsınız" bölümüne bakın. - Ekran
*1 düğmesi
İstenen öğeleri yürütür. Müzik çalmayı başlatır/durdurur veya kaydı duraklatır/yeniden başlatır.
düğmesi
Bir menü öğesi seçmek, oynatma sırasında hızlı geri sarma/ileri sarma başlatmak veya bir FM istasyonu önceden ayarlamak için basın.- USB kapağı
USB ile bağlanırken USB kapağını çıkarın. - USB konektörü
- Askı delikleri
- HOLD anahtarı
Walkman'inizi taşırken yanlışlıkla çalışmayı önlemek için çalıştırma düğmelerini devre dışı bırakır.
*1 Düğme işlemlerine yardımcı olmak için dokunsal bir nokta vardır.
Ses işlemi hakkında
(Sadece Avrupa ve Kore Direktiflerine uyan ülkeler/bölgeler için)
Sesi ilk kez kulaklarınız için zararlı bir seviyeye yükselttiğinizde, kulaklarınızı korumak için bir alarm (bip sesi) ve bir uyarı [Ses seviyesini kontrol edin] verilmesi amaçlanmıştır. Herhangi bir düğmeye basarak alarmı ve uyarıyı iptal edebilirsiniz.
Not
- Alarmı ve uyarıyı iptal ettikten sonra sesi yükseltebilirsiniz.
- İlk uyarıdan sonra, sesin kulaklarınız için zararlı bir seviyeye ayarlandığı her 20 kümülatif saatte bir alarm ve uyarı tekrarlanır; bu olduğunda, ses otomatik olarak kısılır.
- Ses kulaklarınız için zararlı bir seviyeye ayarlanmışsa ve Walkman'i kapatırsanız, ses otomatik olarak kulaklarınız için güvenli bir seviyeye kısılır.
Walkman'inizi Açma ve Kapatma
| Açmak için | düğmesine basın. |
| Kapatmak için | düğmesini basılı tutun. |
İpucu
- Müzik çalma duraklatılırsa ve belirli bir süre boyunca herhangi bir işlem yapılmazsa, FM radyo etkinleştirilmediği sürece Walkman'iniz otomatik olarak kapanır.
- Belirli bir süre boyunca bir işlem yapmazsanız ekran kapanacaktır. Bu gibi durumlarda, ekranı tekrar açmak için GERİ/HOME (BACK/HOME) düğmesine basın.
Walkman'inizi Nasıl Kullanırsınız
Ana menü (Home menu) her uygulamanın başlangıç noktasıdır.
| Ana menüde [Müzik] (Music) öğesini görüntülemek için | GERİ/HOME (BACK/HOME) düğmesini basılı tutun. |
| Bir öğe seçmek için | Bir öğe seçmek için düğmesinin her iki tarafına da basın ve ardından onaylamak için düğmesine basın. |
| Önceki ekrana dönmek için | GERİ/HOME (BACK/HOME) düğmesine basın. |
Ana menü (Home menu)* 1![]() | |
[Müzik] (Music) | Walkman'inizde aktarılan müziği çalar. |
[FM Radyo] (FM Radio) * 1 | FM radyo çalar veya Walkman'inizle kaydedilen FM radyo programlarını çalar/siler. |
[Ayarlar] (Settings) | Müzik, FM*1 veya Walkman 1 ayarları için işlevi ayarlar. |
*1 [FM Radyo] (FM Radio) işleviyle ilgili öğeler yalnızca NWZ-B183F'de görünür.
Müzik İçe Aktarma ve Aktarma
Bilgisayarınızdaki Windows Gezgini'nde sürükleyip bırakarak Walkman'inizdeki [MÜZİK] (MUSIC) klasörüne müzik (WMA veya MP3 codec) aktarabilirsiniz. CD'lerden müzik verilerini kopyalamanız gerekirse, Windows Media Player 11 veya 12'yi kullanabilirsiniz. Nasıl kullanılacağı hakkında ayrıntılı bilgi için Yardım'ına bakın.
Not
- Dosyalar aktarılırken Walkman'inizi çıkarmayın. Aksi takdirde, aktarılan dosya zarar görür.
- Walkman'iniz desteklemediği için telif hakkı korumalı müzik aktaramazsınız.
Sorun Giderme
Walkman'iniz beklendiği gibi çalışmıyorsa, sorunu çözmek için aşağıdaki adımları deneyin.
- Yardım Kılavuzu'ndaki (HTML belgesi) "Sorun Giderme" bölümünde sorunun belirtilerini bulun ve listelenen düzeltici işlemleri deneyin.
Bir bilgisayara bağlanma hakkında ayrıntılı bilgi için aşağıdaki tabloya bakın. - Pili şarj etmek için Walkman'inizi bilgisayarınıza bağlayın.
Pili şarj ederek bazı sorunları çözebilirsiniz. - RESET düğmesine bir kalem veya ataş vb. ile basın.
Walkman'inizi sıfırlamadan önce, Walkman'inizi bilgisayarınızdan çıkarın ve hiçbir şarkının çalınmadığından emin olun. Ardından Walkman'i güvenli bir şekilde sıfırlayabilirsiniz. Walkman'i sıfırladıktan sonra, Walkman'i açmak için
düğmesine basın. - Her yazılımın Yardım'ında sorunun bilgilerini kontrol edin.
- Müşteri destek web sitelerinden birinde sorunla ilgili bilgileri arayın.
Müşteri destek web siteleri hakkında, "En son bilgiler için" bölümüne bakın. - Yukarıda listelenen yaklaşımlar sorunu çözemezse, en yakın Sony bayinize danışın.
| Belirti | Neden/Çözüm |
| Pili şarj edemiyorum. |
|
| Walkman bilgisayara bağlandığında [USB Bağlanıyor] (Connecting USB) görünmüyor. |
|
| Walkman'iniz bilgisayara bağlıyken kararsız hale geliyor. |
|
Önlemler
Yasalar ve ticari markalar hakkında bilgi
Yasalar, düzenlemeler ve ticari marka hakları hakkında bilgi için, birlikte verilen yazılımda bulunan "Önemli Bilgiler" bölümüne bakın. Okumak için birlikte verilen yazılımı bilgisayarınıza kurun.
Kulaklıklar hakkında
- Uzun süreli çalmanın işitme duyunuzu etkileyebileceği kadar yüksek bir ses seviyesinde üniteyi çalmaktan kaçının.
- Yüksek bir ses seviyesinde dış sesler duyulmaz hale gelebilir. Örneğin, araba sürerken veya bisiklete binerken, işitmenin bozulmaması gereken durumlarda üniteyi dinlemekten kaçının.
- Kulaklıklar açık hava tasarımına sahip olduğundan, sesler kulaklıklardan dışarı çıkar. Yakınlarınızdakileri rahatsız etmemeye özen gösterin.
Kulak içi kulaklıklar hakkında
Kulaklık uçları kulaklarınızı kapatır. Bu nedenle, kulaklık uçlarına güçlü bir basınç uygulanırsa veya kulaklık uçları aniden kulaklarınızdan çıkarılırsa, kulaklarınıza veya kulak zarlarınıza zarar verme riski olduğunu unutmayın. Kullandıktan sonra, kulaklık uçlarını kulaklarınızdan nazikçe çıkardığınızdan emin olun.
En son bilgiler için
Bu ürünle ilgili herhangi bir sorunuz veya sorununuz varsa veya bu ürünle uyumlu öğeler hakkında bilgi almak istiyorsanız, aşağıdaki web sitelerini ziyaret edin.
ABD'deki müşteriler için: http://www.sony.com/walkmansupport
Kanada'daki müşteriler için: http://www.sony.ca/ElectronicsSupport/
Latin Amerika'daki müşteriler için: http://www.sony-latin.com/index.crp
Avrupa'daki müşteriler için: http://support.sony-europe.com/dna/wm/
Asya, Okyanusya, Orta Doğu ve Afrika'daki müşteriler için:
İngilizce: http://www.sony-asia.com/support
Korece: http://scs.sony.co.kr/walkman/
Basitleştirilmiş Çince: http://service.sony.com.cn/KB/
Geleneksel Çince: http://service.sony.com.tw/
Denizaşırı modelleri satın alan müşteriler için: http://www.sony.co.jp/overseas/support/

http://rd1.sony.net/help/dmp/nwzb180/h_ww/
©2014 Sony Corporation Çin'de Basılmıştır

Referanslar
http://www.sony.com/walkmansupport
Sony Canada
Sony América Latina | Últimas noticias, tecnología y gadgets | Electrónica | Entretenimiento | SonySony Support Europe
http://www.sony-asia.com/support
http://service.sony.com.cn/KB/
http://service.sony.com.tw
Overseas Model Customer Support
Help Guide | Top
Kılavuzu indir
Burada kılavuzun tam PDF sürümünü indirebilirsiniz, ek güvenlik talimatları, garanti bilgileri, FCC kuralları vb. içerebilir.
Sony Walkman NWZ-B183, NWZ-B183F Hızlı Başlangıç Kılavuzu indir

*1 düğmesi
düğmesi
düğmesine basın.
düğmesinin her iki tarafına da basın ve ardından onaylamak için
düğmesine basın.
[Müzik] (Music)
[FM Radyo] (FM Radio) * 1
[Ayarlar] (Settings)
düğmesine basın.
simgesi göründüğünde pili şarj edemezsiniz. Pili 5°C (41 ºF) ila 35°C (95 ºF) ortam sıcaklığında şarj edin.