Sony Walkman NWZ-B183, NWZ-B183F Tez Boshlash Qo'llanmasi
- 1 Qo'llanmalar haqida
- 2 Mundarija
- 3 Operatsion Tizim haqida
- 4 Taqdim etilgan Dasturiy Ta'minotni Qanday O'rnatish Mumkin
- 5 Batareyani Zaryadlash
- 6 Qismlar va Boshqaruvlar
- 7 Ovozni boshqarish haqida
- 8 Walkman-ni Yoqish va O'chirish
- 9 Walkman-dan Qanday Foydalanish
- 10 Musiqani Import Qilish va O'tkazish
- 11 Muammolarni bartaraf etish
- 12 Ehtiyot choralari
- 13 Manbalar
- 14 Qo'llanmani yuklab olish
- 15 Boshqa tillarda

Qo'llanmalar haqida
Ushbu Tez Boshlash Qo'llanmasi faqat asosiy foydalanish ko'rsatmalarini va taqdim etilgan dasturiy ta'minotni qanday o'rnatishni tasvirlaydi.
Batafsil ma'lumot va foydalanish ko'rsatmalari uchun o'rnatishdan so'ng taqdim etilgan dasturiy ta'minotga kiritilgan Yordam Qo'llanmasiga (HTML hujjat) murojaat qiling.
Birinchi sahifadagi URL yoki QR kodidan turli qurilmalar yordamida onlayn Yordam Qo'llanmasiga (HTML hujjat/To'liq versiya) kirishingiz mumkin. Ko'rish bepul bo'lsa-da, aloqa operatoringiz shartnomasiga muvofiq aloqa uchun to'lov olinishi mumkin.
Mundarija
- WALKMAN (1)
- Eshitish vositalari (1)
- Tez Boshlash Qo'llanmasi (ushbu qo'llanma)
Operatsion Tizim haqida
OT Windows 8.1, Windows 8, Windows 7 (Service Pack 1 yoki undan keyingi versiyasi), Windows Vista (Service Pack 2 yoki undan keyingi versiyasi) ekanligiga va kompyuteringizda o'rnatilgan Windows Media Player versiyasi 11 yoki 12 ekanligiga ishonch hosil qiling.
Mac OS sizning Walkman tomonidan qo'llab-quvvatlanmaydi.
Taqdim etilgan Dasturiy Ta'minotni Qanday O'rnatish Mumkin
(Yordam Qo'llanmasi kiritilgan)
- Walkman-ni ishlayotgan kompyuterga ulang.
![Sony - Walkman NWZ-B183 - Taqdim etilgan Dasturiy Ta'minotni Qanday O'rnatish Mumkin Taqdim etilgan Dasturiy Ta'minotni Qanday O'rnatish Mumkin]()
- Kompyuter bilan quyidagi tartibni tanlang.
- Windows 7 yoki undan oldingi versiyalari: [Start] (Boshlash) - [Computer] (Kompyuter) yoki [My Computer] (Mening Kompyuterim) - [WALKMAN] - [FOR_WINDOWS] ni tanlang.
- Windows 8.1 yoki Windows 8: [File Explorer] (Fayl Tadqiqotchisi) ni ochish uchun [Start screen] (Boshlash ekrani) dan [Desktop] (Ish stoli) ni tanlang. [Computer] (Kompyuter) ro'yxatida [WALKMAN] - [FOR_WINDOWS] ni tanlang.
- [Help_Guide_Installer.exe] ni ikki marta bosing.
O'rnatish ustasi paydo bo'ladi. - Ekrandagi ko'rsatmalarga amal qiling.
O'rnatish tugagandan so'ng, Yordam Qo'llanmasining yorlig'i kompyuteringizning ish stolida paydo bo'ladi.
Batareyani Zaryadlash
Walkman batareyasi Walkman ishlayotgan kompyuterga ulangan paytda zaryadlanadi.

Eslatma
- Agar siz Walkman-ni uzoq vaqt davomida ishlatilmagan bo'lsa zaryad qilsangiz, kompyuteringiz uni tanimasligi yoki displeyda hech narsa ko'rinmasligi mumkin. Walkman-ni taxminan 10 daqiqa davomida zaryadlang, shundan so'ng u yana normal ishlashni boshlashi kerak.
Agar Walkman displeyi 10 daqiqadan ko'proq vaqt davomida o'chib qolsa, Walkman-ni uzing va Walkman-ni qayta o'rnatish uchun RESET tugmasini bosing. - Agar siz Walkman kompyuterga ulangan paytda kompyuterni yoqsangiz, kompyuterni qayta ishga tushirsangiz, kompyuterni o'chirsangiz yoki kompyuterni Kutish yoki Gibrid holatidan uyg'otsangiz, Walkman noto'g'ri ishlashi mumkin. Bunday holda, Walkman-ni uzing va uni qayta o'rnatish uchun Walkman-ning RESET tugmasini bosing. Ushbu operatsiyalarni bajarishdan oldin Walkman-ni kompyuterdan uzing.
- Batareyaning eskirishini oldini olish uchun batareyani kamida har yarim yilda yoki har yili bir marta zaryadlang.
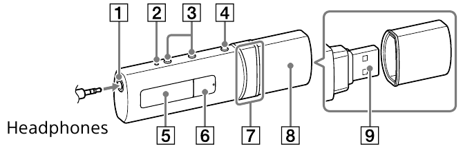
Qismlar va Boshqaruvlar
Old tomoni

Orqa tomoni

- Eshitish vositasi uyasi
- RESET tugmasi
Walkman-ni qayta o'rnatish uchun RESET tugmasini ruchka yoki qog'oz qisqichi va hokazo bilan bosing. Walkman USB orqali kompyuterga ulangan paytda, Walkman-ni qayta o'rnata olmaysiz. - VOL +*1 /– tugmalari
- BACK/HOME (ORQAGA/UY) tugmasi
"Walkman-dan Qanday Foydalanish" ga qarang. - Displey
*1 tugmasi
Kerakli elementlarni bajaradi. Musiqa ijrosini boshlaydi/to'xtatadi yoki yozib olishni to'xtatadi/qayta boshlaydi.
tugmasi
Menyu elementini tanlash, ijro paytida tez orqaga/oldinga o'tkazishni boshlash yoki FM stantsiyasini oldindan sozlash uchun bosing.- USB qopqog'i
USB bilan ulanayotganda USB qopqog'ini olib tashlang. - USB ulagichi
- Tasma teshiklari
- HOLD (USHLAB TURISH) o'tkazgichi
Walkman-ni olib yurganingizda tasodifiy ishlashni oldini olish uchun operatsiya tugmalarini o'chirib qo'yadi.
*1 Tugma operatsiyalariga yordam berish uchun taktil nuqta mavjud.
Ovozni boshqarish haqida
(Faqat Yevropa va Koreya direktivalariga muvofiq keladigan mamlakatlar/hududlar uchun)
Ovozingizni birinchi marta quloqlaringiz uchun zararli bo'lgan darajaga ko'targaningizda, signal (qisqa signal) va [Check the volume level] (Ovoz balandligini tekshiring) ogohlantirishi quloqlaringizni himoya qilish uchun mo'ljallangan. Har qanday tugmani bosish orqali signal va ogohlantirishni bekor qilishingiz mumkin.
Eslatma
- Signal va ogohlantirishni bekor qilgandan so'ng ovoz balandligini oshirishingiz mumkin.
- Dastlabki ogohlantirishdan so'ng, ovoz quloqlaringiz uchun zararli bo'lgan darajaga o'rnatilgan har 20 soatda signal va ogohlantirish takrorlanadi; bu sodir bo'lganda, ovoz balandligi avtomatik ravishda pasayadi.
- Agar ovoz quloqlaringiz uchun zararli bo'lgan darajaga o'rnatilgan bo'lsa va siz Walkman-ni o'chirsangiz, ovoz balandligi avtomatik ravishda quloqlaringiz uchun xavfsiz bo'lgan darajaga pasayadi.
Walkman-ni Yoqish va O'chirish
| Yoqish uchun | tugmasini bosing. |
| O'chirish uchun | tugmasini bosib turing. |
Maslahat
- Agar musiqa ijrosi to'xtatilgan bo'lsa va ma'lum vaqt davomida hech qanday operatsiya bajarilmasa, FM radio yoqilgan holat bundan mustasno, Walkman avtomatik ravishda o'chadi.
- Agar ma'lum vaqt davomida operatsiya bajarilmasa, displey o'chiriladi. Bunday hollarda, displeyni qayta yoqish uchun BACK/HOME (ORQAGA/UY) tugmasini bosing.
Walkman-dan Qanday Foydalanish
Bosh menyu har bir ilovaning boshlang'ich nuqtasidir.
| Bosh menyuda [Music] (Musiqa) ni ko'rsatish uchun | BACK/HOME (ORQAGA/UY) tugmasini bosib turing. |
| Elementni tanlash uchun | Elementni tanlash uchun tugmasining har ikki tomonini bosing, so'ngra tasdiqlash uchun tugmasini bosing. |
| Oldingi ekranga qaytish uchun | BACK/HOME (ORQAGA/UY) tugmasini bosing. |
Bosh menyu* 1![]() | |
[Music] (Musiqa) | Walkman-ga o'tkazilgan musiqani ijro etadi. |
[FM Radio] * 1 (FM Radio) | FM radioni ijro etadi yoki Walkman bilan yozilgan FM radio dasturlarini ijro etadi/o'chiradi. |
[Settings] (Sozlamalar) | Musiqa, FM*1 yoki Walkman 1 sozlamalari uchun funksiyani o'rnatadi. |
*1 [FM Radio] (FM Radio) funksiyasi bilan bog'liq elementlar faqat NWZ-B183F da paydo bo'ladi.
Musiqani Import Qilish va O'tkazish
Kompyuteringizdagi Windows Explorer-da sudrab olib tashlash orqali Walkman-dagi [MUSIC] (MUSIQA) papkasiga musiqa (WMA yoki MP3 kodeki) o'tkazishingiz mumkin. Agar sizga CD-lardan musiqa ma'lumotlarini olish kerak bo'lsa, Windows Media Player 11 yoki 12 dan foydalanishingiz mumkin. Qanday foydalanish haqida batafsil ma'lumot olish uchun uning Yordamiga murojaat qiling.
Eslatma
- Fayllar o'tkazilayotganda Walkman-ni uzmang. Agar shunday qilsangiz, o'tkazilayotgan fayl shikastlanadi.
- Walkman uni qo'llab-quvvatlamasligi sababli, mualliflik huquqi bilan himoyalangan musiqani o'tkaza olmaysiz.
Muammolarni bartaraf etish
Agar Walkman kutilganidek ishlamasa, muammoni hal qilish uchun quyidagi amallarni bajarib ko'ring.
- Yordam Qo'llanmasidagi (HTML hujjat) "Muammolarni bartaraf etish" bo'limida muammoning alomatlarini toping va ro'yxatdagi har qanday tuzatish choralarini qo'llang.
Kompyuterga ulanish haqida batafsil ma'lumot olish uchun quyidagi jadvalga qarang. - Batareyani zaryadlash uchun Walkman-ni kompyuteringizga ulang.
Batareyani zaryadlash orqali ba'zi muammolarni hal qilishingiz mumkin. - RESET tugmasini ruchka yoki qog'oz qisqichi va hokazo bilan bosing.
Walkman-ni qayta o'rnatishdan oldin, Walkman-ni kompyuteringizdan uzing va hech qanday qo'shiq ijro etilmayotganligini tekshiring. Keyin Walkman-ni xavfsiz tarzda qayta o'rnatishingiz mumkin. Walkman-ni qayta o'rnatgandan so'ng, Walkman-ni yoqish uchun
tugmasini bosing. - Har bir dasturiy ta'minotning Yordamida muammo haqidagi ma'lumotni tekshiring.
- Mijozlarni qo'llab-quvvatlash veb-saytlaridan birida muammo haqidagi ma'lumotni qidiring.
Mijozlarni qo'llab-quvvatlash veb-saytlari haqida "So'nggi ma'lumotlar uchun" ga qarang. - Agar yuqorida sanab o'tilgan yondashuvlar muammoni hal qila olmasa, eng yaqin Sony dileriga murojaat qiling.
| Alomat | Sabab/Chora |
| Men batareyani zaryadlay olmayman. |
|
| Walkman kompyuterga ulangan paytda [Connecting USB] (USB ulanmoqda) ˎ paydo bo'lmaydi. |
|
| Walkman kompyuterga ulangan paytda beqaror bo'lib qoladi. |
|
Ehtiyot choralari
Qonunlar va tovar belgilari haqida ma'lumot
Qonunlar, qoidalar va tovar belgilari huquqlari haqida ma'lumot olish uchun taqdim etilgan dasturiy ta'minotda mavjud bo'lgan "Muhim Ma'lumot" ga murojaat qiling. Uni o'qish uchun taqdim etilgan dasturiy ta'minotni kompyuteringizga o'rnating.
Eshitish vositalari haqida
- Qurilmani shunday baland ovozda ijro etishdan saqlaningki, uzoq vaqt davomida ijro etish eshitishingizga ta'sir qilishi mumkin.
- Yuqori ovozda tashqi tovushlar eshitilmay qolishi mumkin. Eshitish qobiliyati buzilmasligi kerak bo'lgan vaziyatlarda, masalan, haydash yoki velosipedda yurish paytida qurilmani tinglashdan saqlaning.
- Eshitish vositalari ochiq havoda ishlaydigan dizaynga ega bo'lganligi sababli, tovushlar eshitish vositalari orqali chiqadi. Sizga yaqin bo'lganlarni bezovta qilmaslikni unutmang.
Quloq ichiga kiradigan eshitish vositalari haqida
Quloqchinlar quloqlaringizni berkitadi. Shuning uchun, quloqchinlarga kuchli bosim o'tkazilsa yoki quloqchinlar birdaniga quloqlaringizdan olib tashlansa, quloqlaringizga yoki nog'ora pardalaringizga zarar yetkazish xavfi mavjudligini unutmang. Ishlatilgandan so'ng, quloqchinlarni quloqlaringizdan ehtiyotkorlik bilan olib tashlashga ishonch hosil qiling.
So'nggi ma'lumotlar uchun
Agar sizda ushbu mahsulot bilan bog'liq savollar yoki muammolar bo'lsa yoki ushbu mahsulot bilan mos keladigan narsalar haqida ma'lumot olishni istasangiz, quyidagi veb-saytlarga tashrif buyuring.
AQShdagi mijozlar uchun: http://www.sony.com/walkmansupport
Kanadadagi mijozlar uchun: http://www.sony.ca/ElectronicsSupport/
Lotin Amerikasidagi mijozlar uchun: http://www.sony-latin.com/index.crp
Yevropadagi mijozlar uchun: http://support.sony-europe.com/dna/wm/
Osiyo, Okeaniya, Yaqin Sharq va Afrikadagi mijozlar uchun:
Ingliz tili: http://www.sony-asia.com/support
Koreys tili: http://scs.sony.co.kr/walkman/
Sodda Xitoy tili: http://service.sony.com.cn/KB/
An'anaviy Xitoy tili: http://service.sony.com.tw/
Chet el modellarini sotib olgan mijozlar uchun: http://www.sony.co.jp/overseas/support/

http://rd1.sony.net/help/dmp/nwzb180/h_ww/
©2014 Sony Corporation Xitoyda chop etilgan

Manbalar
http://www.sony.com/walkmansupport
Sony Canada
Sony América Latina | Últimas noticias, tecnología y gadgets | Electrónica | Entretenimiento | SonySony Support Europe
http://www.sony-asia.com/support
http://service.sony.com.cn/KB/
http://service.sony.com.tw
Overseas Model Customer Support
Help Guide | Top
Qo'llanmani yuklab olish
Bu yerda siz qo'llanmaning to'liq pdf versiyasini yuklab olishingiz mumkin, u qo'shimcha xavfsizlik ko'rsatmalari, kafolat ma'lumotlari, FCC qoidalari va hokazolarni o'z ichiga olishi mumkin.
Sony Walkman NWZ-B183, NWZ-B183F Tez Boshlash Qo'llanmasi ni yuklab olish

*1 tugmasi
tugmasi
tugmasini bosing.
tugmasining har ikki tomonini bosing, so'ngra tasdiqlash uchun
tugmasini bosing.
[Music] (Musiqa)
[FM Radio] * 1 (FM Radio)
[Settings] (Sozlamalar)
tugmasini bosing.
belgisi paydo bo'lganda batareyani zaryadlay olmaysiz. Batareyani 5°C (41 ºF) dan 35°C (95 ºF) gacha bo'lgan atrof-muhit haroratida zaryadlang.