Skrócona instrukcja obsługi Sony Walkman NWZ-B183, NWZ-B183F
- 1 Informacje o instrukcjach
- 2 Zawartość
- 3 Informacje o systemie operacyjnym
- 4 Jak zainstalować dostarczone oprogramowanie
- 5 Ładowanie baterii
- 6 Części i elementy sterujące
- 7 Informacje o regulacji głośności
- 8 Włączanie i wyłączanie Walkmana
- 9 Jak korzystać z Walkmana
- 10 Importowanie i przesyłanie muzyki
- 11 Rozwiązywanie problemów
- 12 Środki ostrożności
- 13 Referencje
- 14 Pobierz instrukcję
- 15 W innych językach

Informacje o instrukcjach
Niniejsza skrócona instrukcja obsługi opisuje tylko podstawowe instrukcje obsługi i sposób instalacji dostarczonego oprogramowania.
Szczegółowe informacje i instrukcje obsługi znajdują się w Przewodniku pomocniczym (dokument HTML) dołączonym do dostarczonego oprogramowania po instalacji.
Możesz uzyskać dostęp do internetowego Przewodnika pomocniczego (dokument HTML/pełna wersja) za pomocą różnych urządzeń, korzystając z adresu URL lub kodu QR na pierwszej stronie. Przeglądanie jest bezpłatne, ale opłata za komunikację może być naliczana zgodnie z umową z operatorem.
Zawartość
- WALKMAN (1)
- Słuchawki (1)
- Skrócona instrukcja obsługi (niniejsza instrukcja)
Informacje o systemie operacyjnym
Upewnij się, że system operacyjny to Windows 8.1, Windows 8, Windows 7 (Service Pack 1 lub nowszy), Windows Vista (Service Pack 2 lub nowszy), a zainstalowana wersja Windows Media Player na komputerze to 11 lub 12.
System Mac OS nie jest obsługiwany przez Twój Walkman.
Jak zainstalować dostarczone oprogramowanie
(Zawiera Przewodnik pomocniczy)
- Podłącz Walkman do włączonego komputera.
![Sony - Walkman NWZ-B183 - Jak zainstalować dostarczone oprogramowanie Jak zainstalować dostarczone oprogramowanie]()
- Wybierz następującą kolejność na komputerze.
- Windows 7 lub starszy: Wybierz [Start] - [Komputer] lub [Mój komputer] - [WALKMAN] - [FOR_WINDOWS].
- Windows 8.1 lub Windows 8: Wybierz [Pulpit] (Desktop) z [Ekranu startowego] (Start screen), aby otworzyć [Eksplorator plików] (File Explorer). Na liście [Komputer] (Computer) wybierz [WALKMAN] - [FOR_WINDOWS].
- Kliknij dwukrotnie [Help_Guide_Installer.exe].
Pojawi się kreator instalacji. - Postępuj zgodnie z instrukcjami wyświetlanymi na ekranie.
Po zakończeniu instalacji na pulpicie komputera pojawi się skrót do Przewodnika pomocniczego.
Ładowanie baterii
Bateria Walkmana jest ładowana, gdy Walkman jest podłączony do włączonego komputera.

Uwaga
- Jeśli ładujesz Walkman, który nie był używany przez dłuższy czas, komputer może go nie rozpoznać lub na wyświetlaczu nic się nie pojawi. Ładuj Walkman przez około 10 minut, po czym powinien zacząć działać normalnie.
Jeśli wyświetlacz Walkmana pozostaje pusty przez ponad 10 minut, odłącz Walkman i naciśnij przycisk RESET, aby zresetować Walkman. - Jeśli włączysz komputer, uruchomisz go ponownie, wyłączysz go lub wybudzisz go ze stanu uśpienia lub hibernacji, gdy Walkman jest podłączony do komputera, Walkman może działać nieprawidłowo. W takim przypadku odłącz Walkman i naciśnij przycisk RESET na Walkmanie, aby go zresetować. Odłącz Walkman od komputera przed wykonaniem tych czynności.
- Aby zapobiec pogorszeniu się stanu baterii, ładuj ją co najmniej raz na pół roku lub co roku.
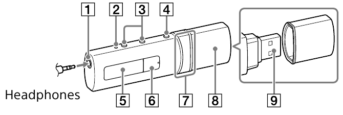
Części i elementy sterujące
Przód

Tył

- Gniazdo słuchawkowe
- Przycisk RESET
Naciśnij przycisk RESET długopisem, spinaczem itp., aby zresetować Walkman. Gdy Walkman jest podłączony do komputera przez USB, nie można go zresetować. - Przyciski VOL +*1 /–
- Przycisk BACK/HOME (Wstecz/Strona główna)
Zobacz "Jak korzystać z Walkmana". - Wyświetlacz
*1 przycisk
Wykonuje żądane elementy. Uruchamia/wstrzymuje odtwarzanie muzyki lub wstrzymuje/wznawia nagrywanie.
przycisk
Naciśnij, aby wybrać element menu, rozpocząć szybkie przewijanie do tyłu/do przodu podczas odtwarzania lub ustawić stację FM.- Osłona USB
Podczas podłączania przez USB zdejmij osłonę USB. - Złącze USB
- Otwory na pasek
- Przełącznik HOLD
Wyłącza przyciski operacyjne, aby uniknąć przypadkowej obsługi podczas noszenia Walkmana.
*1 Na przycisku znajduje się wypukły punkt ułatwiający obsługę.
Informacje o regulacji głośności
(Tylko dla krajów/obszarów zgodnych z dyrektywami europejskimi i koreańskimi)
Alarm (sygnał dźwiękowy) i ostrzeżenie [Sprawdź poziom głośności] (Check the volume level) mają na celu ochronę uszu, gdy po raz pierwszy zwiększysz głośność do poziomu szkodliwego dla uszu. Możesz anulować alarm i ostrzeżenie, naciskając dowolny przycisk.
Uwaga
- Możesz zwiększyć głośność po anulowaniu alarmu i ostrzeżenia.
- Po pierwszym ostrzeżeniu alarm i ostrzeżenie powtarzają się co 20 skumulowanych godzin, gdy głośność jest ustawiona na poziomie szkodliwym dla uszu; w takim przypadku głośność jest automatycznie zmniejszana.
- Jeśli głośność jest ustawiona na poziomie szkodliwym dla uszu i wyłączysz Walkman, głośność zostanie automatycznie zmniejszona do poziomu bezpiecznego dla uszu.
Włączanie i wyłączanie Walkmana
| Aby włączyć | Naciśnij przycisk . |
| Aby wyłączyć | Naciśnij i przytrzymaj przycisk . |
Wskazówka
- Jeśli odtwarzanie muzyki jest wstrzymane i przez pewien czas nie są wykonywane żadne operacje, Walkman wyłącza się automatycznie, z wyjątkiem sytuacji, gdy włączone jest radio FM.
- Wyświetlacz zostanie wyłączony, jeśli przez pewien czas nie wykonasz żadnej operacji. W takim przypadku naciśnij przycisk BACK/HOME (Wstecz/Strona główna), aby ponownie włączyć wyświetlacz.
Jak korzystać z Walkmana
Menu główne (Home) jest punktem wyjścia dla każdej aplikacji.
| Aby wyświetlić [Music] (Muzyka) w menu głównym (Home) | Naciśnij i przytrzymaj przycisk BACK/HOME (Wstecz/Strona główna). |
| Aby wybrać element | Naciśnij dowolną stronę przycisku , aby wybrać element, a następnie naciśnij przycisk , aby potwierdzić. |
| Aby powrócić do poprzedniego ekranu | Naciśnij przycisk BACK/HOME (Wstecz/Strona główna). |
Menu główne (Home)* 1![]() | |
[Music] (Muzyka) | Odtwarza przesłaną muzykę na Walkmanie. |
[FM Radio] (Radio FM) * 1 | Odtwarza radio FM lub odtwarza/usuwa programy radiowe FM nagrane za pomocą Walkmana. |
[Settings] (Ustawienia) | Ustawia funkcję muzyki, FM*1 lub ustawienia Walkmana 1. |
*1 Elementy związane z funkcją [FM Radio] (Radio FM) pojawiają się tylko w NWZ-B183F.
Importowanie i przesyłanie muzyki
Możesz przenieść muzykę (kodek WMA lub MP3) do folderu [MUSIC] (MUZYKA) na Walkmanie, przeciągając ją i upuszczając w Eksploratorze Windows na komputerze. Jeśli chcesz zgrać dane muzyczne z płyt CD, możesz użyć Windows Media Player 11 lub 12. Szczegółowe informacje na temat korzystania z niego znajdują się w Pomocy.
Uwaga
- Nie odłączaj Walkmana podczas przesyłania plików. W przeciwnym razie przesyłany plik zostanie uszkodzony.
- Nie można przesyłać muzyki chronionej prawami autorskimi, ponieważ Walkman jej nie obsługuje.
Rozwiązywanie problemów
Jeśli Walkman nie działa zgodnie z oczekiwaniami, spróbuj wykonać następujące czynności, aby rozwiązać problem.
- Znajdź objawy problemu w "Rozwiązywaniu problemów" (Troubleshooting) w Przewodniku pomocniczym (dokument HTML) i wypróbuj wszelkie wymienione działania naprawcze.
Szczegółowe informacje na temat podłączania do komputera znajdują się w poniższej tabeli. - Podłącz Walkman do komputera, aby naładować baterię.
Możesz rozwiązać niektóre problemy, ładując baterię. - Naciśnij przycisk RESET długopisem, spinaczem itp.
Przed zresetowaniem Walkmana odłącz go od komputera i sprawdź, czy nie jest odtwarzana żadna piosenka. Następnie możesz bezpiecznie zresetować Walkman. Po zresetowaniu Walkmana naciśnij przycisk
, aby włączyć Walkman. - Sprawdź informacje na temat problemu w Pomocy każdego oprogramowania.
- Poszukaj informacji na temat problemu na jednej ze stron internetowych obsługi klienta.
Informacje na temat stron internetowych obsługi klienta znajdują się w części "Najnowsze informacje". - Jeśli powyższe metody nie rozwiążą problemu, skonsultuj się z najbliższym sprzedawcą Sony.
| Objaw | Przyczyna/Środek zaradczy |
| Nie mogę naładować baterii. |
|
| [Connecting USB] (Podłączanie USB) nie pojawia się, gdy Walkman jest podłączony do komputera. |
|
| Walkman staje się niestabilny, gdy jest podłączony do komputera. |
|
Środki ostrożności
Informacje o przepisach i znakach towarowych
Informacje o przepisach, regulacjach i prawach do znaków towarowych znajdują się w dokumencie "Ważne informacje" (Important Information) zawartym w dostarczonym oprogramowaniu. Aby go przeczytać, zainstaluj dostarczone oprogramowanie na komputerze.
Informacje o słuchawkach
- Unikaj odtwarzania urządzenia z tak dużą głośnością, że długotrwałe odtwarzanie może wpłynąć na Twój słuch.
- Przy dużej głośności dźwięki z zewnątrz mogą stać się niesłyszalne. Unikaj słuchania urządzenia w sytuacjach, w których słyszenie nie może być upośledzone, na przykład podczas jazdy samochodem lub na rowerze.
- Ponieważ słuchawki mają konstrukcję otwartą, dźwięki wydostają się przez słuchawki. Pamiętaj, aby nie przeszkadzać osobom w pobliżu.
Informacje o słuchawkach dousznych
Wkładki douszne uszczelniają uszy. Dlatego należy pamiętać, że istnieje ryzyko uszkodzenia uszu lub błon bębenkowych, jeśli na wkładki douszne zostanie wywarta silna presja lub wkładki douszne zostaną nagle wyjęte z uszu. Po użyciu należy delikatnie wyjąć wkładki douszne z uszu.
Najnowsze informacje
Jeśli masz jakiekolwiek pytania lub problemy z tym produktem lub chcesz uzyskać informacje na temat elementów kompatybilnych z tym produktem, odwiedź następujące strony internetowe.
Dla klientów w USA: http://www.sony.com/walkmansupport
Dla klientów w Kanadzie: http://www.sony.ca/ElectronicsSupport/
Dla klientów w Ameryce Łacińskiej: http://www.sony-latin.com/index.crp
Dla klientów w Europie: http://support.sony-europe.com/dna/wm/
Dla klientów w Azji, Oceanii, na Bliskim Wschodzie i w Afryce:
Angielski: http://www.sony-asia.com/support
Koreański: http://scs.sony.co.kr/walkman/
Chiński uproszczony: http://service.sony.com.cn/KB/
Chiński tradycyjny: http://service.sony.com.tw/
Dla klientów, którzy zakupili modele zagraniczne: http://www.sony.co.jp/overseas/support/

http://rd1.sony.net/help/dmp/nwzb180/h_ww/
©2014 Sony Corporation Printed in China

Referencje
http://www.sony.com/walkmansupport
Sony Canada
Sony América Latina | Últimas noticias, tecnología y gadgets | Electrónica | Entretenimiento | SonySony Support Europe
http://www.sony-asia.com/support
http://service.sony.com.cn/KB/
http://service.sony.com.tw
Overseas Model Customer Support
Help Guide | Top
Pobierz instrukcję
Tutaj możesz pobrać pełną wersję instrukcji w formacie pdf, może ona zawierać dodatkowe instrukcje bezpieczeństwa, informacje o gwarancji, przepisy FCC itp.
Pobierz Skrócona instrukcja obsługi Sony Walkman NWZ-B183, NWZ-B183F

*1 przycisk
przycisk
.
, aby wybrać element, a następnie naciśnij przycisk
, aby potwierdzić.
[Music] (Muzyka)
[FM Radio] (Radio FM) * 1
[Settings] (Ustawienia)
, aby włączyć Walkman.
. Ładuj baterię w temperaturze otoczenia od 5°C (41 °F) do 35°C (95 °F).