Guia de Início Rápido Sony Walkman NWZ-B183, NWZ-B183F
- 1 Sobre os manuais
- 2 Conteúdo
- 3 Sobre o Sistema Operacional
- 4 Como instalar o Software Fornecido
- 5 Carregando a Bateria
- 6 Peças e Controles
- 7 Sobre a operação de volume
- 8 Ligando e Desligando Seu Walkman
- 9 Como usar seu Walkman
- 10 Importando e Transferindo Música
- 11 Solução de problemas
- 12 Precauções
- 13 Referências
- 14 Baixar manual
- 15 Em Outros Idiomas

Sobre os manuais
Este Guia de Início Rápido descreve apenas as instruções básicas de operação e como instalar o software fornecido.
Para obter informações detalhadas e instruções de operação, consulte o Guia de Ajuda (documento HTML) incluído no software fornecido após a instalação.
Você pode acessar o Guia de Ajuda online (documento HTML/versão completa) usando vários dispositivos a partir do URL ou código QR na primeira página. Embora a navegação seja gratuita, você pode ser cobrado pela taxa de comunicação de acordo com o contrato com sua operadora.
Conteúdo
- WALKMAN (1)
- Fones de ouvido (1)
- Guia de Início Rápido (este manual)
Sobre o Sistema Operacional
Certifique-se de que o sistema operacional seja Windows 8.1, Windows 8, Windows 7 (Service Pack 1 ou posterior), Windows Vista (Service Pack 2 ou posterior) e que a versão do Windows Media Player instalada em seu computador seja 11 ou 12.
O Mac OS não é suportado pelo seu Walkman.
Como instalar o Software Fornecido
(Guia de Ajuda incluído)
- Conecte seu Walkman a um computador em execução.
![Sony - Walkman NWZ-B183 - Como instalar o Software Fornecido Como instalar o Software Fornecido]()
- Selecione a seguinte ordem com o computador.
- Windows 7 ou anterior: Selecione [Iniciar] - [Computador] ou [Meu Computador] - [WALKMAN] - [FOR_WINDOWS].
- Windows 8.1 ou Windows 8: Selecione [Desktop] (Área de Trabalho) na [Start screen] (Tela Inicial) para abrir o [File Explorer] (Explorador de Arquivos). Na lista [Computer] (Computador), selecione [WALKMAN] - [FOR_WINDOWS].
- Clique duas vezes em [Help_Guide_Installer.exe].
O assistente de instalação aparece. - Siga as instruções na tela.
Após a conclusão da instalação, o atalho do Guia de Ajuda aparece na área de trabalho do seu computador.
Carregando a Bateria
A bateria do seu Walkman é recarregada enquanto o Walkman está conectado a um computador em execução.

Nota
- Se você carregar seu Walkman quando ele não for usado por um longo período de tempo, seu computador pode não reconhecê-lo ou nada pode aparecer no visor. Carregue o Walkman por cerca de 10 minutos, após os quais ele deverá começar a operar normalmente novamente.
Se o visor do Walkman permanecer em branco por mais de 10 minutos, desconecte o Walkman e pressione o botão RESET para redefinir o Walkman. - Se você ligar o computador, reiniciar o computador, desligar o computador ou ativar o computador do status de Suspensão ou Hibernação enquanto o Walkman estiver conectado ao computador, o Walkman pode apresentar mau funcionamento. Nesse caso, desconecte o Walkman e pressione o botão RESET do Walkman para redefini-lo. Desconecte o Walkman do computador antes de realizar essas operações.
- Para evitar a deterioração da bateria, carregue a bateria pelo menos uma vez a cada seis meses ou a cada ano.
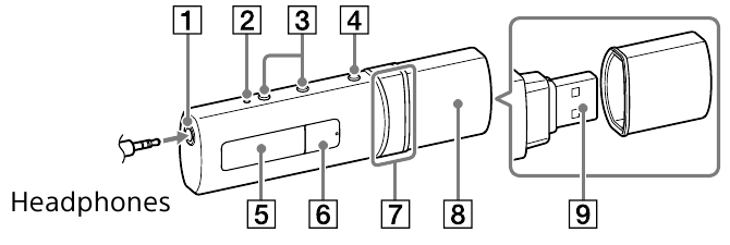
Peças e Controles
Frente

Traseira

- Entrada para fone de ouvido
- Botão RESET
Pressione o botão RESET com uma caneta ou clipe de papel, etc., para redefinir seu Walkman. Enquanto seu Walkman estiver conectado ao computador via USB, você não poderá redefinir o Walkman. - Botões VOL +*1 /–
- Botão BACK/HOME
Consulte "Como usar seu Walkman". - Visor
*1 botão
Executa os itens desejados. Inicia/pausa a reprodução de música ou pausa/reinicia a gravação.
botão
Pressione para selecionar um item de menu, iniciar retrocessos/avanços rápidos durante a reprodução ou predefinir uma estação de FM.- Tampa USB
Ao conectar com USB, remova a tampa USB. - Conector USB
- Orifícios para alça
- Chave HOLD
Desativa os botões de operação para evitar operação acidental ao transportar seu Walkman.
*1 Há um ponto tátil para ajudar nas operações dos botões.
Sobre a operação de volume
(Apenas para países/áreas em conformidade com as Diretivas Europeias e Coreanas)
Um alarme (bipe) e um aviso [Verifique o nível de volume] têm como objetivo proteger seus ouvidos quando você aumenta o volume para um nível prejudicial aos seus ouvidos pela primeira vez. Você pode cancelar o alarme e o aviso pressionando qualquer botão.
Nota
- Você pode aumentar o volume depois de cancelar o alarme e o aviso.
- Após o aviso inicial, o alarme e o aviso se repetem a cada 20 horas cumulativas em que o volume é definido para um nível prejudicial aos seus ouvidos; quando isso acontece, o volume é diminuído automaticamente.
- Se o volume estiver definido para um nível prejudicial aos seus ouvidos e você desligar o Walkman, o volume será diminuído automaticamente para um nível seguro para seus ouvidos.
Ligando e Desligando Seu Walkman
| Para ligar | Pressione o botão botão. |
| Para desligar | Pressione e segure o botão botão. |
Dica
- Se a reprodução de música for pausada e nenhuma operação for tentada por um determinado período de tempo, seu Walkman será desligado automaticamente, exceto quando o rádio FM estiver ativado.
- O visor será desligado se você não tentar uma operação por um determinado período de tempo. Nesses casos, pressione o botão BACK/HOME para ligar o visor novamente.
Como usar seu Walkman
O menu Home (Início) é o ponto de partida de cada aplicativo.
| Para exibir [Music] (Música) no menu Home (Início) | Pressione e segure o botão BACK/HOME. |
| Para selecionar um item | Pressione qualquer lado do botão para selecionar um item e, em seguida, pressione o botão para confirmar. |
| Para retornar à tela anterior | Pressione o botão BACK/HOME. |
Menu Home (Início)* 1![]() | |
[Music] (Música) | Reproduz músicas transferidas para o seu Walkman. |
[FM Radio] (Rádio FM) * 1 | Reproduz rádio FM ou reproduz/exclui programas de rádio FM gravados com seu Walkman. |
[Settings] (Configurações) | Define a função para música, FM*1 ou suas configurações do Walkman 1. |
*1 Os itens relacionados à função [FM Radio] (Rádio FM) aparecem apenas no NWZ-B183F.
Importando e Transferindo Música
Você pode transferir música (codec WMA ou MP3) para a pasta [MUSIC] (MÚSICA) em seu Walkman arrastando e soltando-a no Windows Explorer em seu computador. Se você precisar extrair dados de música de CDs, pode usar o Windows Media Player 11 ou 12. Para obter detalhes sobre como usar, consulte a Ajuda do mesmo.
Nota
- Não desconecte seu Walkman enquanto os arquivos estão sendo transferidos. Se você fizer isso, o arquivo que está sendo transferido será danificado.
- Você não pode transferir músicas com proteção de direitos autorais, pois seu Walkman não oferece suporte a isso.
Solução de problemas
Se o seu Walkman não funcionar como esperado, tente as seguintes etapas para resolver o problema.
- Encontre os sintomas do problema em "Troubleshooting" (Solução de problemas) no Guia de Ajuda (documento HTML) e tente as ações corretivas listadas.
Para obter detalhes sobre como se conectar a um computador, consulte a tabela abaixo. - Conecte seu Walkman ao seu computador para carregar a bateria.
Você pode resolver alguns problemas carregando a bateria. - Pressione o botão RESET com uma caneta ou clipe de papel, etc.
Antes de redefinir seu Walkman, desconecte seu Walkman do seu computador e verifique se nenhuma música está sendo reproduzida. Você pode então redefinir o Walkman com segurança. Após redefinir o Walkman, pressione o botão
para ligar o Walkman. - Verifique as informações sobre o problema na Ajuda de cada software.
- Procure informações sobre o problema em um dos sites de suporte ao cliente.
Sobre os sites de suporte ao cliente, consulte "Para obter as informações mais recentes". - Se as abordagens listadas acima não resolverem o problema, consulte o revendedor Sony mais próximo.
| Sintoma | Causa/Solução |
| Não consigo carregar a bateria. |
|
| [Connecting USB] (Conectando USB) não aparece quando seu Walkman está conectado ao computador. |
|
| Seu Walkman fica instável enquanto está conectado ao computador. |
|
Precauções
Informações sobre leis e marcas registradas
Para obter informações sobre leis, regulamentos e direitos de marca registrada, consulte "Important Information" (Informações Importantes) contidas no software fornecido. Para lê-lo, instale o software fornecido em seu computador.
Sobre os fones de ouvido
- Evite reproduzir a unidade em um volume tão alto que a reprodução prolongada possa afetar sua audição.
- Em um volume alto, os sons externos podem se tornar inaudíveis. Evite ouvir a unidade em situações em que a audição não deve ser prejudicada, por exemplo, ao dirigir ou andar de bicicleta.
- Como os fones de ouvido são de design aberto, os sons saem pelos fones de ouvido. Lembre-se de não perturbar as pessoas próximas a você.
Sobre os fones de ouvido intra-auriculares
Os fones de ouvido vedam seus ouvidos. Portanto, esteja ciente de que existe o risco de danos aos seus ouvidos ou tímpanos se uma forte pressão for aplicada aos fones de ouvido ou se os fones de ouvido forem removidos repentinamente de seus ouvidos. Após o uso, certifique-se de tirar os fones de ouvido de seus ouvidos suavemente.
Para obter as informações mais recentes
Se você tiver alguma dúvida ou problema com este produto ou gostaria de obter informações sobre itens compatíveis com este produto, visite os seguintes sites.
Para clientes nos EUA: http://www.sony.com/walkmansupport
Para clientes no Canadá: http://www.sony.ca/ElectronicsSupport/
Para clientes na América Latina: http://www.sony-latin.com/index.crp
Para clientes na Europa: http://support.sony-europe.com/dna/wm/
Para clientes na Ásia, Oceania, Oriente Médio e África:
Inglês: http://www.sony-asia.com/support
Coreano: http://scs.sony.co.kr/walkman/
Chinês Simplificado: http://service.sony.com.cn/KB/
Chinês Tradicional: http://service.sony.com.tw/
Para clientes que compraram modelos no exterior: http://www.sony.co.jp/overseas/support/

http://rd1.sony.net/help/dmp/nwzb180/h_ww/
©2014 Sony Corporation Impresso na China

Referências
http://www.sony.com/walkmansupport
Sony Canada (Sony Canadá)
Sony América Latina | Últimas noticias, tecnologia e gadgets | Eletrônica | Entretenimento | SonySony Support Europe (Suporte Sony Europa)
http://www.sony-asia.com/support
http://service.sony.com.cn/KB/
http://service.sony.com.tw
Overseas Model Customer Support (Suporte ao Cliente para Modelo Estrangeiro)
Help Guide | Top (Guia de Ajuda | Topo)
Baixar manual
Aqui você pode baixar a versão completa em PDF do manual, ela pode conter instruções de segurança adicionais, informações de garantia, regras da FCC, etc.
Baixar Guia de Início Rápido Sony Walkman NWZ-B183, NWZ-B183F

*1 botão
botão
botão.
para selecionar um item e, em seguida, pressione o botão
para confirmar.
[Music] (Música)
[FM Radio] (Rádio FM) * 1
[Settings] (Configurações)
para ligar o Walkman.
aparece. Carregue a bateria em uma temperatura ambiente de 5 °C (41 °F) a 35 °C (95 °F).