Sony Walkman NWZ-B183, NWZ-B183F Vodnik za hiter začetek
- 1 O priročnikih
- 2 Vsebina
- 3 O operacijskem sistemu
- 4 Kako namestiti priloženo programsko opremo
- 5 Polnjenje baterije
- 6 Deli in kontrole
- 7 O upravljanju glasnosti
- 8 Vklop in izklop Walkmana
- 9 Kako uporabljati svoj Walkman
- 10 Uvažanje in prenos glasbe
- 11 Odpravljanje težav
- 12 Previdnostni ukrepi
- 13 Reference
- 14 Prenesi navodilo
- 15 V drugih jezikih

O priročnikih
Ta Vodnik za hiter začetek opisuje samo osnovna navodila za uporabo in kako namestiti priloženo programsko opremo.
Za podrobne informacije in navodila za uporabo si oglejte Navodila za pomoč (dokument HTML), ki so vključena v priloženo programsko opremo po namestitvi.
Do spletnih Navodil za pomoč (dokument HTML/polna različica) lahko dostopate z različnimi napravami prek URL-ja ali kode QR na prvi strani. Brskanje je brezplačno, vendar vam lahko ponudnik zaračuna stroške komunikacije v skladu s pogodbo.
Vsebina
- WALKMAN (1)
- Slušalke (1)
- Vodnik za hiter začetek (ta priročnik)
O operacijskem sistemu
Prepričajte se, da je operacijski sistem Windows 8.1, Windows 8, Windows 7 (Service Pack 1 ali novejši), Windows Vista (Service Pack 2 ali novejši) in da je nameščena različica Windows Media Player na vašem računalniku 11 ali 12.
Mac OS ni podprt s strani vašega Walkmana.
Kako namestiti priloženo programsko opremo
(Vključena Navodila za pomoč)
- Povežite svoj Walkman z delujočim računalnikom.
![Sony - Walkman NWZ-B183 - Kako namestiti priloženo programsko opremo Kako namestiti priloženo programsko opremo]()
- Izberite naslednji vrstni red z računalnikom.
- Windows 7 ali starejši: Izberite [Start] - [Računalnik] ali [Moj računalnik] - [WALKMAN] - [FOR_WINDOWS].
- Windows 8.1 ali Windows 8: Izberite [Namizje] (Desktop) iz [Začetni zaslon] (Start screen), da odprete [Raziskovalec datotek] (File Explorer). Na seznamu [Računalnik] (Computer) izberite [WALKMAN] - [FOR_WINDOWS].
- Dvokliknite [Help_Guide_Installer.exe].
Prikaže se čarovnik za namestitev. - Sledite navodilom na zaslonu.
Po končani namestitvi se na namizju vašega računalnika prikaže bližnjica do Navodil za pomoč.
Polnjenje baterije
Baterija za vaš Walkman se polni, ko je Walkman priključen na delujoč računalnik.

Opomba
- Če polnite svoj Walkman, ko ga dlje časa niste uporabljali, ga računalnik morda ne bo prepoznal ali pa se na zaslonu ne bo nič prikazalo. Polnite Walkman približno 10 minut, nato pa bi moral spet normalno delovati.
Če zaslon Walkmana ostane prazen več kot 10 minut, odklopite Walkman in pritisnite gumb RESET, da ponastavite Walkman. - Če vklopite računalnik, ga znova zaženete, izklopite ali prebudite iz stanja spanja ali mirovanja, medtem ko je vaš Walkman priključen na računalnik, lahko Walkman ne deluje pravilno. V tem primeru odklopite Walkman in pritisnite gumb RESET na Walkmanu, da ga ponastavite. Pred izvedbo teh operacij odklopite Walkman iz računalnika.
- Da preprečite poslabšanje baterije, jo napolnite vsaj enkrat na pol leta ali vsako leto.
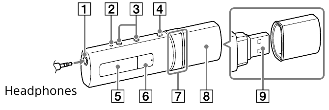
Deli in kontrole
Spredaj

Zadaj

- Priključek za slušalke
- Gumb RESET
Pritisnite gumb RESET s peresom ali sponko za papir itd., da ponastavite svoj Walkman. Medtem ko je vaš Walkman povezan z računalnikom prek USB-ja, ne morete ponastaviti Walkmana. - Gumbi VOL +*1 /–
- Gumb BACK/HOME (Nazaj/Domov)
Glejte "Kako uporabljati svoj Walkman." - Zaslon
*1 gumb
Izvede želene elemente. Začne/začasno ustavi predvajanje glasbe ali začasno ustavi/ponovno zažene snemanje.
gumb
Pritisnite za izbiro elementa menija, začetek hitrega previjanja nazaj/naprej med predvajanjem ali prednastavitev FM postaje.- Pokrovček USB
Pri povezovanju z USB-jem odstranite pokrovček USB. - Priključek USB
- Luknje za trak
- Stikalo HOLD
Onemogoči gumbe za upravljanje, da se izognete nenamernemu upravljanju med prenašanjem Walkmana.
*1 Na voljo je taktilna pika za pomoč pri upravljanju gumbov.
O upravljanju glasnosti
(Samo za države/območja, ki so skladna z evropskimi in korejskimi direktivami)
Alarm (pisk) in opozorilo [Preverite raven glasnosti] (Check the volume level) sta namenjena zaščiti vaših ušes, ko prvič povečate glasnost na raven, ki je škodljiva za vaša ušesa. Alarm in opozorilo lahko prekličete s pritiskom na kateri koli gumb.
Opomba
- Glasnost lahko povečate po preklicu alarma in opozorila.
- Po začetnem opozorilu se alarm in opozorilo ponavljata vsakih 20 kumulativnih ur, ko je glasnost nastavljena na raven, ki je škodljiva za vaša ušesa; ko se to zgodi, se glasnost samodejno zmanjša.
- Če je glasnost nastavljena na raven, ki je škodljiva za vaša ušesa, in izklopite Walkman, se glasnost samodejno zmanjša na raven, ki je varna za vaša ušesa.
Vklop in izklop Walkmana
| Za vklop | Pritisnite gumb . |
| Za izklop | Pritisnite in držite gumb . |
Namig
- Če je predvajanje glasbe začasno ustavljeno in določen čas ne poskusite z nobenim upravljanjem, se vaš Walkman samodejno izklopi, razen če je aktiviran FM radio.
- Zaslon se izklopi, če določen čas ne poskusite z nobenim upravljanjem. V takih primerih pritisnite gumb BACK/HOME (Nazaj/Domov), da ponovno vklopite zaslon.
Kako uporabljati svoj Walkman
Meni Domov (Home) je izhodiščna točka vsake aplikacije.
| Za prikaz [Glasba] (Music) v meniju Domov (Home) | Pritisnite in držite gumb BACK/HOME (Nazaj/Domov). |
| Za izbiro elementa | Pritisnite katero koli stran gumba , da izberete element, nato pa pritisnite gumb , da potrdite. |
| Za vrnitev na prejšnji zaslon | Pritisnite gumb BACK/HOME (Nazaj/Domov). |
Meni Domov (Home)* 1![]() | |
[Glasba] (Music) | Predvaja preneseno glasbo na vašem Walkmanu. |
[FM Radio] * 1 | Predvaja FM radio ali predvaja/izbriše FM radijske programe, posnete z vašim Walkmanom. |
[Nastavitve] (Settings) | Nastavi funkcijo za glasbo, FM*1 ali vaše nastavitve Walkmana 1. |
*1 Elementi, povezani s funkcijo [FM Radio], se prikažejo samo na NWZ-B183F.
Uvažanje in prenos glasbe
Glasbo (kodek WMA ali MP3) lahko prenesete v mapo [MUSIC] na vašem Walkmanu tako, da jo povlečete in spustite v Raziskovalcu (Explorer) v sistemu Windows na vašem računalniku. Če morate iz CD-jev izluščiti podatke o glasbi, lahko uporabite Windows Media Player 11 ali 12. Za podrobnosti o uporabi si oglejte Pomoč.
Opomba
- Ne odklapljajte Walkmana med prenosom datotek. Če to storite, bo datoteka, ki se prenaša, poškodovana.
- Glasbe z zaščito avtorskih pravic ne morete prenašati, ker je vaš Walkman ne podpira.
Odpravljanje težav
Če vaš Walkman ne deluje po pričakovanjih, poskusite z naslednjimi koraki, da odpravite težavo.
- Poiščite simptome težave v "Odpravljanje težav" (Troubleshooting) v Navodilih za pomoč (dokument HTML) in poskusite s katerimi koli navedenimi popravnimi ukrepi.
Za podrobnosti o povezovanju z računalnikom si oglejte spodnjo tabelo. - Povežite svoj Walkman z računalnikom, da napolnite baterijo.
Nekatere težave boste morda lahko rešili s polnjenjem baterije. - Pritisnite gumb RESET s peresom ali sponko za papir itd.
Pred ponastavitvijo Walkmana ga odklopite iz računalnika in preverite, ali se ne predvaja nobena skladba. Nato lahko Walkman varno ponastavite. Po ponastavitvi Walkmana pritisnite gumb
, da vklopite Walkman. - Preverite informacije o težavi v Pomoči vsake programske opreme.
- Poiščite informacije o težavi na enem od spletnih mest za podporo strankam.
O spletnih mestih za podporo strankam glejte "Za najnovejše informacije." - Če zgoraj navedeni pristopi ne rešijo težave, se posvetujte z najbližjim prodajalcem Sony.
| Simptom | Vzrok/Zdravilo |
| Ne morem napolniti baterije. |
|
| [Povezovanje USB] (Connecting USB) se ne prikaže, ko je vaš Walkman priključen na računalnik. |
|
| Vaš Walkman postane nestabilen, medtem ko je priključen na računalnik. |
|
Previdnostni ukrepi
Informacije o zakonih in blagovnih znamkah
Za informacije o zakonih, predpisih in pravicah blagovnih znamk si oglejte "Pomembne informacije" (Important Information), ki so vključene v priloženo programsko opremo. Če jo želite prebrati, namestite priloženo programsko opremo na svoj računalnik.
O slušalkah
- Izogibajte se predvajanju enote pri tako visoki glasnosti, da bi dolgotrajno predvajanje lahko vplivalo na vaš sluh.
- Pri visoki glasnosti zunanji zvoki morda ne bodo slišni. Izogibajte se poslušanju enote v situacijah, ko sluh ne sme biti moten, na primer med vožnjo ali kolesarjenjem.
- Ker so slušalke odprtega tipa, zvoki uhajajo skozi slušalke. Ne pozabite, da ne smete motiti tistih, ki so vam blizu.
O slušalkah za v uho
Slušalke zamašijo vaša ušesa. Zato se zavedajte, da obstaja nevarnost poškodbe vaših ušes ali bobničev, če se na slušalke izvaja močan pritisk ali pa se slušalke nenadoma odstranijo iz vaših ušes. Po uporabi pazite, da slušalke nežno odstranite iz ušes.
Za najnovejše informacije
Če imate kakršna koli vprašanja ali težave s tem izdelkom ali želite informacije o elementih, ki so združljivi s tem izdelkom, obiščite naslednja spletna mesta.
Za stranke v ZDA: http://www.sony.com/walkmansupport
Za stranke v Kanadi: http://www.sony.ca/ElectronicsSupport/
Za stranke v Latinski Ameriki: http://www.sony-latin.com/index.crp
Za stranke v Evropi: http://support.sony-europe.com/dna/wm/
Za stranke v Aziji, Oceaniji, na Bližnjem vzhodu in v Afriki:
Angleščina: http://www.sony-asia.com/support
Korejščina: http://scs.sony.co.kr/walkman/
Poenostavljena kitajščina: http://service.sony.com.cn/KB/
Tradicionalna kitajščina: http://service.sony.com.tw/
Za stranke, ki so kupile čezmorske modele: http://www.sony.co.jp/overseas/support/

http://rd1.sony.net/help/dmp/nwzb180/h_ww/
©2014 Sony Corporation Printed in China

Reference
http://www.sony.com/walkmansupport
Sony Canada
Sony América Latina | Últimas noticias, tecnología y gadgets | Electrónica | Entretenimiento | SonySony Support Europe
http://www.sony-asia.com/support
http://service.sony.com.cn/KB/
http://service.sony.com.tw
Overseas Model Customer Support
Help Guide | Top
Prenesi navodilo
Tukaj lahko prenesete polno pdf različico navodila, ki lahko vsebuje dodatna varnostna navodila, informacije o garanciji, FCC pravila itd.
Prenesi Sony Walkman NWZ-B183, NWZ-B183F Vodnik za hiter začetek

*1 gumb
gumb
.
, da izberete element, nato pa pritisnite gumb
, da potrdite.
[Glasba] (Music)
[FM Radio] * 1
[Nastavitve] (Settings)
, da vklopite Walkman.
. Napolnite baterijo pri temperaturi okolice od 5 °C (41 °F) do 35 °C (95 °F).