Guía de inicio rápido de Sony Walkman NWZ-B183, NWZ-B183F
- 1 Acerca de los manuales
- 2 Contenido
- 3 Acerca del sistema operativo
- 4 Cómo instalar el software suministrado
- 5 Carga de la batería
- 6 Piezas y controles
- 7 Acerca del funcionamiento del volumen
- 8 Encendido y apagado de su Walkman
- 9 Cómo usar su Walkman
- 10 Importación y transferencia de música
- 11 Resolución de problemas
- 12 Precauciones
- 13 Referencias
- 14 Descargar el manual
- 15 En otros idiomas

Acerca de los manuales
Esta Guía de inicio rápido solo describe las instrucciones de funcionamiento básicas y cómo instalar el software suministrado.
Para obtener información detallada e instrucciones de funcionamiento, consulte la Guía de ayuda (documento HTML) incluida en el software suministrado después de la instalación.
Puede acceder a la Guía de ayuda en línea (documento HTML/versión completa) utilizando varios dispositivos desde la URL o el código QR en la primera página. Si bien la navegación es gratuita, es posible que se le cobre la tarifa de comunicación de acuerdo con su contrato con el operador.
Contenido
- WALKMAN (1)
- Auriculares (1)
- Guía de inicio rápido (este manual)
Acerca del sistema operativo
Asegúrese de que el sistema operativo sea Windows 8.1, Windows 8, Windows 7 (Service Pack 1 o posterior), Windows Vista (Service Pack 2 o posterior), y que la versión de Windows Media Player instalada en su ordenador sea la 11 o la 12.
Mac OS no es compatible con su Walkman.
Cómo instalar el software suministrado
(Guía de ayuda incluida)
- Conecte su Walkman a un ordenador en funcionamiento.
![Sony - Walkman NWZ-B183 - Cómo instalar el software suministrado Cómo instalar el software suministrado]()
- Seleccione el siguiente orden con el ordenador.
- Windows 7 o anterior: Seleccione [Inicio] - [Equipo] o [Mi PC] - [WALKMAN] - [FOR_WINDOWS].
- Windows 8.1 o Windows 8: Seleccione [Escritorio] en [Pantalla de inicio] para abrir [Explorador de archivos]. En la lista [Equipo], seleccione [WALKMAN] - [FOR_WINDOWS].
- Haga doble clic en [Help_Guide_Installer.exe].
Aparecerá el asistente de instalación. - Siga las instrucciones que aparecen en pantalla.
Una vez finalizada la instalación, el acceso directo a la Guía de ayuda aparecerá en el escritorio de su ordenador.
Carga de la batería
La batería de su Walkman se recarga mientras el Walkman está conectado a un ordenador en funcionamiento.

Nota
- Si carga su Walkman cuando no se ha utilizado durante un largo período de tiempo, es posible que su ordenador no lo reconozca o que no aparezca nada en la pantalla. Cargue el Walkman durante unos 10 minutos, después de lo cual debería volver a funcionar normalmente.
Si la pantalla del Walkman permanece en blanco durante más de 10 minutos, desconecte el Walkman y pulse el botón RESET para restablecer el Walkman. - Si enciende el ordenador, lo reinicia, lo apaga o lo saca del estado de suspensión o hibernación mientras su Walkman está conectado al ordenador, el Walkman puede funcionar mal. En este caso, desconecte el Walkman y pulse el botón RESET del Walkman para restablecerlo. Desconecte el Walkman del ordenador antes de realizar estas operaciones.
- Para evitar el deterioro de la batería, cárguela al menos una vez cada seis meses o cada año.
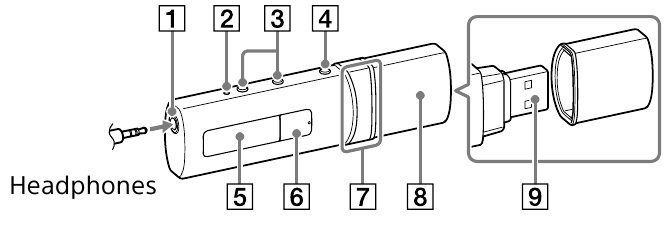
Piezas y controles
Frontal

Trasera

- Toma de auriculares
- Botón RESET (restablecer)
Pulse el botón RESET (restablecer) con un bolígrafo o un clip, etc. para restablecer su Walkman. Mientras su Walkman está conectado al ordenador a través de USB, no puede restablecer el Walkman. - Botones VOL +*1 /–
- Botón BACK/HOME (atrás/inicio)
Consulte "Cómo usar su Walkman". - Pantalla
*1 botón
Ejecuta los elementos deseados. Inicia/pausa la reproducción de música o pausa/reinicia la grabación.
botón
Pulse para seleccionar un elemento de menú, iniciar el avance/retroceso rápido durante la reproducción o preestablecer una emisora de FM.- Tapa USB
Al conectar con USB, retire la tapa USB. - Conector USB
- Orificios para la correa
- Interruptor HOLD (bloquear)
Desactiva los botones de operación para evitar operaciones accidentales mientras lleva su Walkman.
*1 Hay un punto táctil para facilitar el manejo de los botones.
Acerca del funcionamiento del volumen
(Solo para países/áreas que cumplen con las directivas europeas y coreanas)
Una alarma (pitido) y una advertencia [Compruebe el nivel de volumen] están destinadas a proteger sus oídos cuando sube el volumen a un nivel que es perjudicial para sus oídos por primera vez. Puede cancelar la alarma y la advertencia pulsando cualquier botón.
Nota
- Puede subir el volumen después de cancelar la alarma y la advertencia.
- Después de la advertencia inicial, la alarma y la advertencia se repiten cada 20 horas acumuladas en las que el volumen se establece en un nivel que es perjudicial para sus oídos; cuando esto sucede, el volumen se baja automáticamente.
- Si el volumen se establece en un nivel que es perjudicial para sus oídos y apaga el Walkman, el volumen se baja automáticamente a un nivel que es seguro para sus oídos.
Encendido y apagado de su Walkman
| Para encender | Pulse el botón . |
| Para apagar | Mantenga pulsado el botón . |
Consejo
- Si la reproducción de música está en pausa y no se intenta ninguna operación durante un cierto período de tiempo, su Walkman se apaga automáticamente, excepto cuando la radio FM está activada.
- La pantalla se apagará si no intenta realizar una operación durante un cierto período de tiempo. En tales casos, pulse el botón BACK/HOME (atrás/inicio) para volver a encender la pantalla.
Cómo usar su Walkman
El menú Inicio es el punto de partida de cada aplicación.
| Para mostrar [Música] en el menú Inicio | Mantenga pulsado el botón BACK/HOME (atrás/inicio). |
| Para seleccionar un elemento | Pulse cualquiera de los lados del botón para seleccionar un elemento y, a continuación, pulse el botón para confirmar. |
| Para volver a la pantalla anterior | Pulse el botón BACK/HOME (atrás/inicio). |
Menú Inicio* 1![]() | |
[Música] | Reproduce la música transferida a su Walkman. |
[Radio FM] * 1 | Reproduce la radio FM o reproduce/elimina los programas de radio FM grabados con su Walkman. |
[Ajustes] | Establece la función para la música, FM*1 o los ajustes de su Walkman 1. |
*1 Los elementos relacionados con la función [Radio FM] solo aparecen en NWZ-B183F.
Importación y transferencia de música
Puede transferir música (códec WMA o MP3) a la carpeta [MUSIC] de su Walkman arrastrándola y soltándola en el Explorador de Windows de su ordenador. Si necesita extraer datos de música de CD, puede utilizar Windows Media Player 11 o 12. Para obtener más información sobre cómo utilizarlo, consulte la Ayuda del mismo.
Nota
- No desconecte su Walkman mientras se transfieren archivos. Si lo hace, el archivo que se está transfiriendo se dañará.
- No puede transferir música con protección de derechos de autor, ya que su Walkman no la admite.
Resolución de problemas
Si su Walkman no funciona como se espera, pruebe los siguientes pasos para resolver el problema.
- Busque los síntomas del problema en "Resolución de problemas" en la Guía de ayuda (documento HTML) e intente realizar las acciones correctivas que se enumeran.
Para obtener más información sobre cómo conectarse a un ordenador, consulte la tabla siguiente. - Conecte su Walkman a su ordenador para cargar la batería.
Es posible que pueda resolver algunos problemas cargando la batería. - Pulse el botón RESET (restablecer) con un bolígrafo o un clip, etc.
Antes de restablecer su Walkman, desconecte su Walkman de su ordenador y compruebe que no se está reproduciendo ninguna canción. A continuación, puede restablecer el Walkman de forma segura. Después de restablecer el Walkman, pulse el botón
para encender el Walkman. - Consulte la información sobre el problema en la Ayuda de cada software.
- Busque información sobre el problema en uno de los sitios web de atención al cliente.
Acerca de los sitios web de atención al cliente, consulte "Para obtener la información más reciente". - Si los métodos enumerados anteriormente no consiguen resolver el problema, consulte a su distribuidor de Sony más cercano.
| Síntoma | Causa/Solución |
| No puedo cargar la batería. |
|
| [Conexión USB] no aparece cuando su Walkman está conectado al ordenador. |
|
| Su Walkman se vuelve inestable mientras está conectado al ordenador. |
|
Precauciones
Información sobre leyes y marcas comerciales
Para obtener información sobre leyes, reglamentos y derechos de marca comercial, consulte "Información importante" contenida en el software suministrado. Para leerlo, instale el software suministrado en su ordenador.
Acerca de los auriculares
- Evite reproducir la unidad a un volumen tan alto que la reproducción prolongada pueda afectar a su audición.
- A un volumen alto, los sonidos exteriores pueden volverse inaudibles. Evite escuchar la unidad en situaciones en las que la audición no debe verse afectada, por ejemplo, mientras conduce o monta en bicicleta.
- Como los auriculares son de diseño abierto, los sonidos salen a través de los auriculares. Recuerde no molestar a las personas cercanas.
Acerca de los auriculares internos
Los auriculares sellan sus oídos. Por lo tanto, tenga en cuenta que existe el riesgo de dañar sus oídos o tímpanos si se aplica una fuerte presión a los auriculares o si los auriculares se retiran repentinamente de sus oídos. Después de su uso, asegúrese de quitarse los auriculares de los oídos con cuidado.
Para obtener la información más reciente
Si tiene alguna pregunta o problema con este producto, o si desea información sobre los elementos compatibles con este producto, visite los siguientes sitios web.
Para clientes en los EE. UU.: http://www.sony.com/walkmansupport
Para clientes en Canadá: http://www.sony.ca/ElectronicsSupport/
Para clientes en América Latina: http://www.sony-latin.com/index.crp
Para clientes en Europa: http://support.sony-europe.com/dna/wm/
Para clientes en Asia, Oceanía, Oriente Medio y África:
Inglés: http://www.sony-asia.com/support
Coreano: http://scs.sony.co.kr/walkman/
Chino simplificado: http://service.sony.com.cn/KB/
Chino tradicional: http://service.sony.com.tw/
Para los clientes que compraron modelos en el extranjero: http://www.sony.co.jp/overseas/support/

http://rd1.sony.net/help/dmp/nwzb180/h_ww/
©2014 Sony Corporation Impreso en China

Referencias
http://www.sony.com/walkmansupport
Sony Canada
Sony América Latina | Últimas noticias, tecnología y gadgets | Electrónica | Entretenimiento | SonySony Support Europe
http://www.sony-asia.com/support
http://service.sony.com.cn/KB/
http://service.sony.com.tw
Overseas Model Customer Support
Help Guide | Top
Descargar el manual
Aquí puede descargar la versión PDF completa del manual. Puede contener instrucciones de seguridad adicionales, información de garantía, reglas de la FCC, etc.
Descargar Guía de inicio rápido de Sony Walkman NWZ-B183, NWZ-B183F

*1 botón
botón
.
para seleccionar un elemento y, a continuación, pulse el botón
para confirmar.
[Música]
[Radio FM] * 1
[Ajustes]
para encender el Walkman.
. Cargue la batería a una temperatura ambiente de 5 °C (41 °F) a 35 °C (95 °F).