Sony Walkman NWZ-B183, NWZ-B183F Guide de démarrage rapide
- 1 À propos des manuels
- 2 Contenu
- 3 À propos du système d'exploitation
- 4 Comment installer le logiciel fourni
- 5 Chargement de la batterie
- 6 Pièces et commandes
- 7 À propos du réglage du volume
- 8 Allumer et éteindre votre Walkman
- 9 Comment utiliser votre Walkman
- 10 Importation et transfert de musique
- 11 Dépannage
- 12 Précautions
- 13 Références
- 14 Télécharger le manuel
- 15 Dans d'autres langues

À propos des manuels
Ce Guide de démarrage rapide décrit uniquement les instructions d'utilisation de base et comment installer le logiciel fourni.
Pour des informations détaillées et les instructions d'utilisation, reportez-vous au Guide d'aide (document HTML) inclus dans le logiciel fourni après l'installation.
Vous pouvez accéder au Guide d'aide en ligne (document HTML/version complète) en utilisant divers appareils à partir de l'URL ou du code QR sur la première page. Bien que la navigation soit gratuite, des frais de communication peuvent vous être facturés selon votre contrat d'opérateur.
Contenu
- WALKMAN (1)
- Écouteurs (1)
- Guide de démarrage rapide (ce manuel)
À propos du système d'exploitation
Assurez-vous que le système d'exploitation est Windows 8.1, Windows 8, Windows 7 (Service Pack 1 ou ultérieur), Windows Vista (Service Pack 2 ou ultérieur), et que la version de Windows Media Player installée sur votre ordinateur est 11 ou 12.
Le Mac OS n'est pas pris en charge par votre Walkman.
Comment installer le logiciel fourni
(Guide d'aide inclus)
- Connectez votre Walkman à un ordinateur en marche.
![Sony - Walkman NWZ-B183 - Comment installer le logiciel fourni Comment installer le logiciel fourni]()
- Suivez l'ordre suivant sur l'ordinateur.
- Windows 7 ou antérieur : Sélectionnez [Start] (Démarrer) - [Computer] (Ordinateur) ou [My Computer] (Poste de travail) - [WALKMAN] - [FOR_WINDOWS].
- Windows 8.1 ou Windows 8 : Sélectionnez [Desktop] (Bureau) depuis [Start screen] (écran d'accueil) pour ouvrir [File Explorer] (Explorateur de fichiers). Dans la liste [Computer] (Ordinateur), sélectionnez [WALKMAN] - [FOR_WINDOWS].
- Double-cliquez sur [Help_Guide_Installer.exe].
L'assistant d'installation apparaît. - Suivez les instructions à l'écran.
Une fois l'installation terminée, le raccourci du Guide d'aide apparaît sur le bureau de votre ordinateur.
Chargement de la batterie
La batterie de votre Walkman se recharge lorsque le Walkman est connecté à un ordinateur en marche.

Remarque
- Si vous chargez votre Walkman alors qu'il n'a pas été utilisé pendant une longue période, votre ordinateur peut ne pas le reconnaître, ou rien ne peut apparaître sur l'écran. Chargez le Walkman pendant environ 10 minutes, après quoi il devrait recommencer à fonctionner normalement.
Si l'écran du Walkman reste vide pendant plus de 10 minutes, déconnectez le Walkman et appuyez sur le bouton RESET pour réinitialiser le Walkman. - Si vous allumez l'ordinateur, redémarrez l'ordinateur, arrêtez l'ordinateur ou sortez l'ordinateur du mode Veille ou Hibernation lorsque votre Walkman est connecté à l'ordinateur, le Walkman peut mal fonctionner. Dans ce cas, déconnectez le Walkman et appuyez sur le bouton RESET du Walkman pour le réinitialiser. Déconnectez le Walkman de l'ordinateur avant d'effectuer ces opérations.
- Pour éviter la détérioration de la batterie, chargez la batterie au moins une fois tous les six mois ou tous les ans.
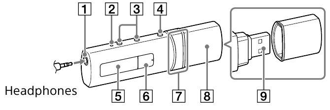
Pièces et commandes
Avant

Arrière

- Prise casque
- Bouton RESET (réinitialisation)
Appuyez sur le bouton RESET avec un stylo ou un trombone, etc. pour réinitialiser votre Walkman. Lorsque votre Walkman est connecté à l'ordinateur via USB, vous ne pouvez pas réinitialiser le Walkman. - Boutons VOL +*1 /–
- Bouton BACK/HOME (RETOUR/ACCUEIL)
Voir "How to Use your Walkman" (Comment utiliser votre Walkman). - Écran
*1 bouton
Exécute les éléments souhaités. Démarre/interrompt la lecture de musique, ou interrompt/redémarre l'enregistrement.
bouton
Appuyez pour sélectionner un élément de menu, démarrer les avances/retours rapides pendant la lecture, ou prérégler une station FM.- Capuchon USB
Lorsque vous vous connectez via USB, retirez le capuchon USB. - Connecteur USB
- Fentes pour dragonne
- Interrupteur HOLD (verrouillage)
Désactive les boutons de commande pour éviter toute opération accidentelle lorsque vous transportez votre Walkman.
*1 Un point tactile est présent pour faciliter l'utilisation des boutons.
À propos du réglage du volume
(Uniquement pour les pays/zones conformes aux directives européennes et coréennes)
Une alarme (bip) et un avertissement « Check the volume level » (Vérifiez le niveau de volume) sont destinés à protéger vos oreilles lorsque vous augmentez le volume à un niveau nocif pour vos oreilles pour la première fois. Vous pouvez annuler l'alarme et l'avertissement en appuyant sur n'importe quel bouton.
Remarque
- Vous pouvez augmenter le volume après avoir annulé l'alarme et l'avertissement.
- Après l'avertissement initial, l'alarme et l'avertissement se répètent toutes les 20 heures cumulées que le volume est réglé à un niveau nocif pour vos oreilles ; dans ce cas, le volume est automatiquement réduit.
- Si le volume est réglé à un niveau nocif pour vos oreilles et que vous éteignez le Walkman, le volume est automatiquement réduit à un niveau sûr pour vos oreilles.
Allumer et éteindre votre Walkman
| Pour allumer | Appuyez sur le bouton . |
| Pour éteindre | Appuyez sur le bouton et maintenez-le enfoncé. |
Conseil
- Si la lecture de musique est interrompue et qu'aucune opération n'est tentée pendant un certain temps, votre Walkman s'éteint automatiquement, sauf lorsque la radio FM est activée.
- L'écran s'éteindra si vous ne tentez aucune opération pendant un certain temps. Dans ce cas, appuyez sur le bouton BACK/HOME (RETOUR/ACCUEIL) pour rallumer l'écran.
Comment utiliser votre Walkman
Le menu Accueil est le point de départ de chaque application.
| Pour afficher [Music] (Musique) sur le menu Accueil | Appuyez sur le bouton BACK/HOME (RETOUR/ACCUEIL) et maintenez-le enfoncé. |
| Pour sélectionner un élément | Appuyez sur l'un des côtés du bouton pour sélectionner un élément, puis appuyez sur le bouton pour confirmer. |
| Pour revenir à l'écran précédent | Appuyez sur le bouton BACK/HOME (RETOUR/ACCUEIL). |
Menu Accueil* 1![]() | |
[Music] (Musique) | Lit la musique transférée sur votre Walkman. |
[FM Radio] (Radio FM) * 1 | Lit la radio FM, ou lit/supprime les programmes radio FM enregistrés avec votre Walkman. |
[Settings] (Paramètres) | Définit la fonction pour la musique, la radio FM*1, ou les paramètres de votre Walkman. |
*1 Les éléments liés à la fonction [FM Radio] (Radio FM) apparaissent sur le NWZ-B183F uniquement.
Importation et transfert de musique
Vous pouvez transférer de la musique (codec WMA ou MP3) dans le dossier [MUSIC] sur votre Walkman en la faisant glisser-déposer dans l'Explorateur Windows sur votre ordinateur. Si vous avez besoin d'extraire des données musicales de CD, vous pouvez utiliser Windows Media Player 11 ou 12. Pour plus de détails sur son utilisation, consultez son Aide.
Remarque
- Ne déconnectez pas votre Walkman pendant le transfert de fichiers. Si vous le faites, le fichier en cours de transfert sera endommagé.
- Vous ne pouvez pas transférer de musique protégée par des droits d'auteur car votre Walkman ne le prend pas en charge.
Dépannage
Si votre Walkman ne fonctionne pas comme prévu, essayez les étapes suivantes pour résoudre le problème.
- Recherchez les symptômes du problème dans "Troubleshooting" (Dépannage) du Guide d'aide (document HTML), et essayez les actions correctives énumérées.
Pour plus de détails sur la connexion à un ordinateur, consultez le tableau ci-dessous. - Connectez votre Walkman à votre ordinateur pour charger la batterie.
Vous pourrez peut-être résoudre certains problèmes en chargeant la batterie. - Appuyez sur le bouton RESET (réinitialisation) avec un stylo ou un trombone, etc.
Avant de réinitialiser votre Walkman, déconnectez votre Walkman de votre ordinateur et vérifiez qu'aucune chanson n'est en cours de lecture. Vous pouvez alors réinitialiser le Walkman en toute sécurité. Après avoir réinitialisé le Walkman, appuyez sur le bouton
pour allumer le Walkman. - Vérifiez les informations sur le problème dans l'Aide de chaque logiciel.
- Recherchez des informations sur le problème sur l'un des sites web de support client.
À propos des sites web de support client, voir "For the latest information" (Pour les dernières informations). - Si les approches énumérées ci-dessus ne parviennent pas à résoudre le problème, consultez votre revendeur Sony le plus proche.
| Symptôme | Cause/Solution |
| Je ne peux pas charger la batterie. |
|
| [Connecting USB] (Connexion USB) n'apparaît pas lorsque votre Walkman est connecté à l'ordinateur. |
|
| Votre Walkman devient instable lorsqu'il est connecté à l'ordinateur. |
|
Précautions
Informations sur les lois et les marques commerciales
Pour des informations sur les lois, les réglementations et les droits de marque, reportez-vous aux "Important Information" (Informations importantes) contenues dans le logiciel fourni. Pour le lire, installez le logiciel fourni sur votre ordinateur.
À propos des écouteurs
- Évitez d'écouter l'appareil à un volume si élevé qu'une écoute prolongée pourrait affecter votre audition.
- À volume élevé, les sons extérieurs peuvent devenir inaudibles. Évitez d'écouter l'appareil dans des situations où l'audition ne doit pas être altérée, par exemple, en conduisant ou à vélo.
- Comme les écouteurs sont de conception ouverte, les sons s'échappent par les écouteurs. N'oubliez pas de ne pas déranger votre entourage.
À propos des écouteurs intra-auriculaires
Les embouts scellent vos oreilles. Par conséquent, soyez conscient qu'il existe un risque de dommages à vos oreilles ou à vos tympans si une forte pression est appliquée sur les embouts, ou si les embouts sont retirés brusquement de vos oreilles. Après utilisation, assurez-vous de retirer délicatement les embouts de vos oreilles.
Pour les dernières informations
Si vous avez des questions ou des problèmes avec ce produit, ou si vous souhaitez obtenir des informations sur les articles compatibles avec ce produit, visitez les sites Web suivants.
Pour les clients aux États-Unis : http://www.sony.com/walkmansupport
Pour les clients au Canada : http://www.sony.ca/ElectronicsSupport/
Pour les clients en Amérique latine : http://www.sony-latin.com/index.crp
Pour les clients en Europe : http://support.sony-europe.com/dna/wm/
Pour les clients en Asie, Océanie, Moyen-Orient et Afrique :
Anglais : http://www.sony-asia.com/support
Coréen : http://scs.sony.co.kr/walkman/
Chinois simplifié : http://service.sony.com.cn/KB/
Chinois traditionnel : http://service.sony.com.tw/
Pour les clients ayant acheté des modèles à l'étranger : http://www.sony.co.jp/overseas/support/

http://rd1.sony.net/help/dmp/nwzb180/h_ww/
©2014 Sony Corporation Imprimé en Chine

Références
http://www.sony.com/walkmansupport
Sony Canada
Sony América Latina | Últimas noticias, tecnología y gadgets | Electrónica | Entretenimiento | SonySony Support Europe
http://www.sony-asia.com/support
http://service.sony.com.cn/KB/
http://service.sony.com.tw
Overseas Model Customer Support
Help Guide | Top
Télécharger le manuel
Ici, vous pouvez télécharger la version PDF complète du manuel. Elle peut contenir des instructions de sécurité supplémentaires, des informations de garantie, des règles de la FCC, etc.
Télécharger Sony Walkman NWZ-B183, NWZ-B183F Guide de démarrage rapide

*1 bouton
bouton
.
pour sélectionner un élément, puis appuyez sur le bouton
pour confirmer.
[Music] (Musique)
[FM Radio] (Radio FM) * 1
[Settings] (Paramètres)
pour allumer le Walkman.
apparaît. Chargez la batterie à une température ambiante de 5°C (41 °F) à 35°C (95 °F).