Panduan Memulai Cepat Sony Walkman NWZ-B183, NWZ-B183F
- 1 Tentang manual
- 2 Isi
- 3 Tentang Sistem Operasi
- 4 Cara Memasang Perangkat Lunak yang Disertakan
- 5 Mengisi Daya Baterai
- 6 Bagian dan Kontrol
- 7 Tentang pengoperasian volume
- 8 Menghidupkan dan Mematikan Walkman Anda
- 9 Cara Menggunakan Walkman Anda
- 10 Mengimpor dan Mentransfer Musik
- 11 Pemecahan Masalah
- 12 Tindakan Pencegahan
- 13 Referensi
- 14 Unduh manual
- 15 Dalam Bahasa Lain

Tentang manual
Panduan Memulai Cepat ini hanya menjelaskan instruksi pengoperasian dasar dan cara memasang perangkat lunak yang disertakan.
Untuk informasi terperinci dan instruksi pengoperasian, lihat Panduan Bantuan (dokumen HTML) yang disertakan dalam perangkat lunak yang disertakan setelah pemasangan.
Anda dapat mengakses Panduan Bantuan online (dokumen HTML/Versi lengkap) menggunakan berbagai perangkat dari URL atau kode QR di halaman pertama. Meskipun penjelajahan gratis, Anda mungkin dikenakan biaya komunikasi sesuai dengan kontrak operator Anda.
Isi
- WALKMAN (1)
- Headphone (1)
- Panduan Memulai Cepat (manual ini)
Tentang Sistem Operasi
Pastikan bahwa OS adalah Windows 8.1, Windows 8, Windows 7 (Service Pack 1 atau lebih baru), Windows Vista (Service Pack 2 atau lebih baru), dan versi Windows Media Player yang terpasang di komputer Anda adalah 11 atau 12.
Mac OS tidak didukung oleh Walkman Anda.
Cara Memasang Perangkat Lunak yang Disertakan
(Panduan Bantuan disertakan)
- Hubungkan Walkman Anda ke komputer yang sedang berjalan.
![Sony - Walkman NWZ-B183 - Cara Memasang Perangkat Lunak yang Disertakan Cara Memasang Perangkat Lunak yang Disertakan]()
- Pilih urutan berikut dengan komputer.
- Windows 7 atau lebih lama: Pilih [Start] (Mulai) - [Computer] (Komputer) atau [My Computer] (Komputer Saya) - [WALKMAN] - [FOR_WINDOWS].
- Windows 8.1 atau Windows 8: Pilih [Desktop] (Desktop) dari [Start screen] (Layar Mulai) untuk membuka [File Explorer] (Penjelajah File). Di daftar [Computer] (Komputer), pilih [WALKMAN] - [FOR_WINDOWS].
- Klik dua kali [Help_Guide_Installer.exe].
Wizard pemasangan akan muncul. - Ikuti petunjuk di layar.
Setelah pemasang selesai, pintasan Panduan Bantuan akan muncul di desktop komputer Anda.
Mengisi Daya Baterai
Baterai untuk Walkman Anda diisi ulang saat Walkman terhubung ke komputer yang sedang berjalan.

Catatan
- Jika Anda mengisi daya Walkman Anda saat belum digunakan dalam jangka waktu yang lama, komputer Anda mungkin tidak mengenalinya, atau tidak ada yang muncul di layar. Isi daya Walkman selama sekitar 10 menit, setelah itu Walkman akan mulai beroperasi normal kembali.
Jika layar Walkman tetap kosong selama lebih dari 10 menit, lepaskan Walkman dan tekan tombol RESET untuk mengatur ulang Walkman. - Jika Anda menghidupkan komputer, memulai ulang komputer, mematikan komputer, atau membangunkan komputer dari status Tidur atau Hibernasi saat Walkman Anda terhubung ke komputer, Walkman mungkin mengalami malfungsi. Dalam hal ini, lepaskan Walkman dan tekan tombol RESET Walkman untuk mengatur ulangnya. Lepaskan Walkman dari komputer sebelum melakukan operasi ini.
- Untuk mencegah kerusakan baterai, isi daya baterai setidaknya sekali setiap setengah tahun atau setiap tahun.
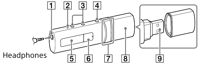
Bagian dan Kontrol
Depan

Belakang

- Jack headphone
- Tombol RESET
Tekan tombol RESET dengan pena atau klip kertas, dll. untuk mengatur ulang Walkman Anda. Saat Walkman Anda terhubung ke komputer melalui USB, Anda tidak dapat mengatur ulang Walkman. - Tombol VOL +*1 /–
- Tombol BACK/HOME (Kembali/Beranda)
Lihat "Cara Menggunakan Walkman Anda." - Layar
*1 tombol
Menjalankan item yang diinginkan. Memulai/menjeda pemutaran musik, atau menjeda/memulai ulang perekaman.
tombol
Tekan untuk memilih item menu, memulai putar cepat mundur/maju selama pemutaran, atau mengatur stasiun FM.- Tutup USB
Saat menghubungkan dengan USB, lepaskan tutup USB. - Konektor USB
- Lubang tali
- Sakelar HOLD (Tahan)
Menonaktifkan tombol operasi untuk menghindari operasi yang tidak disengaja saat membawa Walkman Anda.
*1 Ada titik taktil untuk membantu pengoperasian tombol.
Tentang pengoperasian volume
(Hanya untuk negara/wilayah yang mematuhi Arahan Eropa dan Korea)
Alarm (bip) dan peringatan [Periksa tingkat volume] dimaksudkan untuk melindungi telinga Anda saat Anda menaikkan volume ke tingkat yang berbahaya bagi telinga Anda untuk pertama kalinya. Anda dapat membatalkan alarm dan peringatan dengan menekan tombol apa pun.
Catatan
- Anda dapat menaikkan volume setelah membatalkan alarm dan peringatan.
- Setelah peringatan awal, alarm dan peringatan berulang setiap 20 jam kumulatif volume diatur ke tingkat yang berbahaya bagi telinga Anda; ketika ini terjadi, volume diturunkan secara otomatis.
- Jika volume diatur ke tingkat yang berbahaya bagi telinga Anda dan Anda mematikan Walkman, volume diturunkan ke tingkat yang aman bagi telinga Anda secara otomatis.
Menghidupkan dan Mematikan Walkman Anda
| Untuk menghidupkan | Tekan tombol . |
| Untuk mematikan | Tekan dan tahan tombol . |
Petunjuk
- Jika pemutaran musik dijeda dan tidak ada operasi yang dicoba untuk jangka waktu tertentu, Walkman Anda mati secara otomatis, kecuali saat radio FM diaktifkan.
- Layar akan mati jika Anda tidak mencoba operasi untuk jangka waktu tertentu. Dalam kasus seperti itu, tekan tombol BACK/HOME (Kembali/Beranda) untuk menghidupkan kembali layar.
Cara Menggunakan Walkman Anda
Menu Beranda adalah titik awal setiap aplikasi.
| Untuk menampilkan [Music] (Musik) di menu Beranda | Tekan dan tahan tombol BACK/HOME (Kembali/Beranda). |
| Untuk memilih item | Tekan salah satu sisi tombol untuk memilih item, lalu tekan tombol untuk mengonfirmasi. |
| Untuk kembali ke layar sebelumnya | Tekan tombol BACK/HOME (Kembali/Beranda). |
Menu Beranda* 1![]() | |
[Music] (Musik) | Memutar kembali musik yang ditransfer di Walkman Anda. |
[FM Radio] (Radio FM) * 1 | Memutar radio FM, atau memutar kembali/menghapus program radio FM yang direkam dengan Walkman Anda. |
[Settings] (Pengaturan) | Mengatur fungsi untuk musik, FM*1 , atau pengaturan Walkman 1 Anda. |
*1 Item yang terkait dengan fungsi [FM Radio] (Radio FM) hanya muncul di NWZ-B183F.
Mengimpor dan Mentransfer Musik
Anda dapat mentransfer musik (codec WMA atau MP3) ke folder [MUSIC] (MUSIK) di Walkman Anda dengan menyeret dan menjatuhkannya di Windows Explorer di komputer Anda. Jika Anda perlu menyalin data musik dari CD, Anda dapat menggunakan Windows Media Player 11 atau 12. Untuk detail tentang cara menggunakan, lihat Bantuan.
Catatan
- Jangan lepaskan Walkman Anda saat file sedang ditransfer. Jika Anda melakukannya, file yang sedang ditransfer akan rusak.
- Anda tidak dapat mentransfer musik dengan perlindungan hak cipta karena Walkman Anda tidak mendukungnya.
Pemecahan Masalah
Jika Walkman Anda tidak berfungsi seperti yang diharapkan, coba langkah-langkah berikut untuk mengatasi masalah tersebut.
- Temukan gejala masalah di "Troubleshooting" (Pemecahan Masalah) di Panduan Bantuan (dokumen HTML), dan coba tindakan korektif apa pun yang tercantum.
Untuk detail tentang menghubungkan ke komputer, lihat tabel di bawah ini. - Hubungkan Walkman Anda ke komputer Anda untuk mengisi daya baterai.
Anda mungkin dapat mengatasi beberapa masalah dengan mengisi daya baterai. - Tekan tombol RESET dengan pena atau klip kertas, dll.
Sebelum mengatur ulang Walkman Anda, lepaskan Walkman Anda dari komputer Anda dan periksa apakah tidak ada lagu yang sedang diputar. Anda kemudian dapat mengatur ulang Walkman dengan aman. Setelah mengatur ulang Walkman, tekan tombol
untuk menghidupkan Walkman. - Periksa informasi tentang masalah tersebut di Bantuan setiap perangkat lunak.
- Cari informasi tentang masalah tersebut di salah satu situs web dukungan pelanggan.
Tentang situs web dukungan pelanggan, lihat "Untuk informasi terbaru." - Jika pendekatan yang tercantum di atas gagal mengatasi masalah, konsultasikan dengan dealer Sony terdekat Anda.
| Gejala | Penyebab/Solusi |
| Saya tidak dapat mengisi daya ˎ baterai. |
|
| [Connecting USB] (Menghubungkan USB) ˎ tidak muncul saat Walkman Anda terhubung ke ˎ komputer. |
|
| Walkman Anda ˎ menjadi tidak stabil saat terhubung ke komputer. |
|
Tindakan Pencegahan
Informasi tentang undang-undang dan merek dagang
Untuk informasi tentang undang-undang, peraturan, dan hak merek dagang, lihat "Important Information" (Informasi Penting) yang terdapat dalam perangkat lunak yang disertakan. Untuk membacanya, pasang perangkat lunak yang disertakan di komputer Anda.
Tentang headphone
- Hindari memutar unit pada volume yang terlalu keras sehingga pemutaran yang diperpanjang dapat memengaruhi pendengaran Anda.
- Pada volume tinggi, suara luar mungkin menjadi tidak terdengar. Hindari mendengarkan unit dalam situasi di mana pendengaran tidak boleh terganggu, misalnya, saat mengemudi atau bersepeda.
- Karena headphone memiliki desain udara terbuka, suara keluar melalui headphone. Ingatlah untuk tidak mengganggu orang-orang di dekat Anda.
Tentang headphone in-ear
Earbud menyegel telinga Anda. Oleh karena itu, ketahuilah bahwa ada risiko kerusakan pada telinga atau gendang telinga Anda jika tekanan kuat diterapkan pada earbud, atau earbud tiba-tiba dilepas dari telinga Anda. Setelah digunakan, pastikan untuk melepas earbud dari telinga Anda dengan lembut.
Untuk informasi terbaru
Jika Anda memiliki pertanyaan atau masalah dengan produk ini, atau ingin informasi tentang item yang kompatibel dengan produk ini, kunjungi situs web berikut.
Untuk pelanggan di AS: http://www.sony.com/walkmansupport
Untuk pelanggan di Kanada: http://www.sony.ca/ElectronicsSupport/
Untuk pelanggan di Amerika Latin: http://www.sony-latin.com/index.crp
Untuk pelanggan di Eropa: http://support.sony-europe.com/dna/wm/
Untuk pelanggan di Asia, Oseania, Timur Tengah, dan Afrika:
Bahasa Inggris: http://www.sony-asia.com/support
Bahasa Korea: http://scs.sony.co.kr/walkman/
Bahasa Mandarin Sederhana: http://service.sony.com.cn/KB/
Bahasa Mandarin Tradisional: http://service.sony.com.tw/
Untuk pelanggan yang membeli model luar negeri: http://www.sony.co.jp/overseas/support/

http://rd1.sony.net/help/dmp/nwzb180/h_ww/
©2014 Sony Corporation Dicetak di Tiongkok

Referensi
http://www.sony.com/walkmansupport
Sony Canada
Sony América Latina | Últimas noticias, tecnología y gadgets | Electrónica | Entretenimiento | SonySony Support Europe
http://www.sony-asia.com/support
http://service.sony.com.cn/KB/
http://service.sony.com.tw
Overseas Model Customer Support
Help Guide | Top
Unduh manual
Di sini Anda dapat mengunduh versi pdf lengkap manual, mungkin berisi instruksi keselamatan tambahan, informasi garansi, aturan FCC, dll.
Unduh Panduan Memulai Cepat Sony Walkman NWZ-B183, NWZ-B183F

*1 tombol
tombol
.
untuk memilih item, lalu tekan tombol
untuk mengonfirmasi.
[Music] (Musik)
[FM Radio] (Radio FM) * 1
[Settings] (Pengaturan)
untuk menghidupkan Walkman.
muncul. Isi daya baterai dalam suhu sekitar 5°C (41 ºF) hingga 35°C (95 ºF).