Mwongozo wa Haraka wa Sony Walkman NWZ-B183, NWZ-B183F
- 1 Kuhusu miongozo
- 2 Yaliyomo
- 3 Kuhusu Mfumo wa Uendeshaji
- 4 Jinsi ya Kusakinisha Programu iliyotolewa
- 5 Kuchaji Betri
- 6 Sehemu na Udhibiti
- 7 Kuhusu uendeshaji wa sauti
- 8 Kuwasha na Kuzima Walkman Yako
- 9 Jinsi ya Kutumia Walkman Yako
- 10 Kuleta na Kuhamisha Muziki
- 11 Utatuzi wa Matatizo
- 12 Tahadhari
- 13 Marejeo
- 14 Pakua mwongozo
- 15 Katika Lugha Nyingine

Kuhusu miongozo
Mwongozo huu wa Haraka unaeleza tu maelekezo ya msingi ya uendeshaji na jinsi ya kusakinisha programu iliyotolewa.
Kwa maelezo ya kina na maelekezo ya uendeshaji, rejelea Mwongozo wa Msaada (hati ya HTML) iliyojumuishwa kwenye programu iliyotolewa baada ya kusakinisha.
Unaweza kufikia Mwongozo wa Msaada mtandaoni (hati ya HTML/Toleo kamili) kwa kutumia vifaa mbalimbali kutoka kwa URL au msimbo wa QR kwenye ukurasa wa kwanza. Ingawa kuvinjari ni bure, unaweza kulipa ada ya mawasiliano kulingana na mkataba wako na mtoa huduma.
Yaliyomo
- WALKMAN (1)
- Vifaa vya Sauti (1)
- Mwongozo wa Haraka (mwongozo huu)
Kuhusu Mfumo wa Uendeshaji
Hakikisha kuwa OS ni Windows 8.1, Windows 8, Windows 7 (Service Pack 1 au baadaye), Windows Vista (Service Pack 2 au baadaye), na toleo la Windows Media Player lililosakinishwa kwenye kompyuta yako ni 11 au 12.
Mac OS haitumiki na Walkman yako.
Jinsi ya Kusakinisha Programu iliyotolewa
(Mwongozo wa Msaada umejumuishwa)
- Unganisha Walkman yako kwenye kompyuta inayoendesha.
![Sony - Walkman NWZ-B183 - Jinsi ya Kusakinisha Programu iliyotolewa Jinsi ya Kusakinisha Programu iliyotolewa]()
- Chagua mpangilio ufuatao na kompyuta.
- Windows 7 au matoleo ya awali: Chagua [Start] (Anza) - [Computer] (Kompyuta) au [My Computer] (Kompyuta Yangu) - [WALKMAN] - [FOR_WINDOWS].
- Windows 8.1 au Windows 8: Chagua [Desktop] (Eneo-kazi) kutoka [Start screen] (Skrini ya Anza) ili kufungua [File Explorer] (Kivinjari Faili). Katika orodha ya [Computer] (Kompyuta), chagua [WALKMAN] - [FOR_WINDOWS].
- Bofya mara mbili [Help_Guide_Installer.exe].
Mchawi wa kusakinisha unaonekana. - Fuata maelekezo kwenye skrini.
Baada ya kisakinishi kumaliza, njia ya mkato ya Mwongozo wa Msaada inaonekana kwenye eneo-kazi la kompyuta yako.
Kuchaji Betri
Betri ya Walkman yako inachajiwa wakati Walkman imeunganishwa kwenye kompyuta inayoendesha.

Kumbuka
- Ikiwa unachaji Walkman yako wakati haijatumika kwa muda mrefu, kompyuta yako inaweza isitambue, au hakuna kitu kinaweza kuonekana kwenye onyesho. Chaji Walkman kwa takriban dakika 10, baada ya hapo inapaswa kuanza kufanya kazi kawaida tena.
Ikiwa onyesho la Walkman linabaki tupu kwa zaidi ya dakika 10, tenganisha Walkman na ubonyeze kitufe cha RESET ili kuweka upya Walkman. - Ikiwa unawasha kompyuta, unaanzisha upya kompyuta, unazima kompyuta, au unaamsha kompyuta kutoka kwa hali ya Sleep (Usingizi) au Hibernate (Hibernation) wakati Walkman yako imeunganishwa kwenye kompyuta, Walkman inaweza kufanya kazi vibaya. Katika kesi hii, tenganisha Walkman na ubonyeze kitufe cha RESET cha Walkman ili kuiweka upya. Tenganisha Walkman kutoka kwa kompyuta kabla ya kufanya shughuli hizi.
- Ili kuzuia kuzorota kwa betri, chaji betri angalau mara moja kila nusu mwaka au kila mwaka.
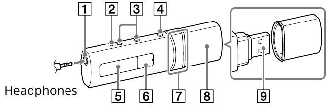
Sehemu na Udhibiti
Mbele

Nyuma

- Jeki ya vifaa vya sauti
- Kitufe cha RESET
Bonyeza kitufe cha RESET na kalamu au klipu ya karatasi, n.k. ili kuweka upya Walkman yako. Wakati Walkman yako imeunganishwa kwenye kompyuta kupitia USB, huwezi kuweka upya Walkman. - VOL +*1 /– vifungo
- Kitufe cha BACK/HOME (Rudi/Nyumbani)
Angalia "Jinsi ya Kutumia Walkman yako." - Onyesho
*1 kitufe
Hufanya vitu vinavyotakiwa. Huanzisha/husitisha uchezaji wa muziki, au husitisha/kuanzisha upya rekodi.
kitufe
Bonyeza ili kuchagua kipengee cha menyu, anza kurudisha nyuma/kusonga mbele haraka wakati wa uchezaji, au weka kituo cha FM.- Kifuniko cha USB
Unapounganisha na USB, ondoa kifuniko cha USB. - Kiunganishi cha USB
- Mashimo ya kamba
- Swichi ya HOLD (Shikilia)
Huzima vifungo vya uendeshaji ili kuepuka uendeshaji usiotarajiwa wakati umebeba Walkman yako.
*1 Kuna nukta ya mguso ili kusaidia na uendeshaji wa vifungo.
Kuhusu uendeshaji wa sauti
(Kwa nchi/maeneo tu yanayofuata Maelekezo ya Ulaya na Korea)
Kengele (mlio) na onyo [Check the volume level] (Angalia kiwango cha sauti) zinalenga kulinda masikio yako unapoongeza sauti hadi kiwango ambacho ni hatari kwa masikio yako kwa mara ya kwanza. Unaweza kughairi kengele na onyo kwa kubonyeza kitufe chochote.
Kumbuka
- Unaweza kuongeza sauti baada ya kughairi kengele na onyo.
- Baada ya onyo la awali, kengele na onyo hurudia kwa kila saa 20 za jumla ambazo sauti imewekwa kwa kiwango ambacho ni hatari kwa masikio yako; wakati hii inatokea, sauti inapunguzwa kiotomatiki.
- Ikiwa sauti imewekwa kwa kiwango ambacho ni hatari kwa masikio yako na unazima Walkman, sauti inapunguzwa hadi kiwango ambacho ni salama kwa masikio yako kiotomatiki.
Kuwasha na Kuzima Walkman Yako
| Ili kuwasha | Bonyeza kitufe cha . |
| Ili kuzima | Bonyeza na ushikilie kitufe cha . |
Kidokezo
- Ikiwa uchezaji wa muziki umesitishwa na hakuna shughuli zozote zinazojaribiwa kwa muda fulani, Walkman yako inazima kiotomatiki, isipokuwa wakati redio ya FM imewashwa.
- Onyesho litazimwa ikiwa haujaribu shughuli kwa muda fulani. Katika hali kama hizo, bonyeza kitufe cha BACK/HOME (Rudi/Nyumbani) ili kuwasha onyesho tena.
Jinsi ya Kutumia Walkman Yako
Menyu ya Home (Nyumbani) ndio mahali pa kuanzia kwa kila programu.
| Ili kuonyesha [Music] (Muziki) kwenye menyu ya Home (Nyumbani) | Bonyeza na ushikilie kitufe cha BACK/HOME (Rudi/Nyumbani). |
| Ili kuchagua kipengee | Bonyeza upande wowote wa kitufe cha ili kuchagua kipengee, na kisha ubonyeze kitufe cha ili kuthibitisha. |
| Ili kurudi kwenye skrini iliyotangulia | Bonyeza kitufe cha BACK/HOME (Rudi/Nyumbani). |
Menyu ya Home (Nyumbani)* 1![]() | |
[Music] (Muziki) | Hucheza muziki ulihamishwa kwenye Walkman yako. |
[FM Radio] (Redio ya FM) * 1 | Hucheza redio ya FM, au hucheza/hufuta programu za redio ya FM zilizorekodiwa na Walkman yako. |
[Settings] (Mipangilio) | Huweka kazi ya muziki, FM*1 , au mipangilio ya Walkman yako 1. |
*1 Vipengee vinavyohusiana na kazi ya [FM Radio] (Redio ya FM) vinaonekana kwenye NWZ-B183F pekee.
Kuleta na Kuhamisha Muziki
Unaweza kuhamisha muziki (WMA au MP3 codec) kwenye folda ya [MUSIC] (MUZIKI) kwenye Walkman yako kwa kuburuta na kuudondosha kwenye Windows Explorer kwenye kompyuta yako. Ikiwa unahitaji kutoa data ya muziki kutoka kwa CD, unaweza kutumia Windows Media Player 11 au 12. Kwa maelezo zaidi juu ya jinsi ya kutumia, rejelea Msaada wake.
Kumbuka
- Usitenganishe Walkman yako wakati faili zinahamishwa. Ukifanya hivyo, faili inayohamishwa itaharibiwa.
- Huwezi kuhamisha muziki na ulinzi wa hakimiliki kwani Walkman yako haiiungi mkono.
Utatuzi wa Matatizo
Ikiwa Walkman yako haifanyi kazi kama inavyotarajiwa, jaribu hatua zifuatazo ili kutatua tatizo.
- Tafuta dalili za tatizo katika "Troubleshooting" (Utatuzi wa Matatizo) katika Mwongozo wa Msaada (hati ya HTML), na ujaribu hatua zozote za kurekebisha zilizoorodheshwa.
Kwa maelezo zaidi juu ya kuunganisha kwenye kompyuta, angalia jedwali hapa chini. - Unganisha Walkman yako kwenye kompyuta yako ili kuchaji betri.
Unaweza kuwa na uwezo wa kutatua masuala mengine kwa kuchaji betri. - Bonyeza kitufe cha RESET na kalamu au klipu ya karatasi, n.k.
Kabla ya kuweka upya Walkman yako, tenganisha Walkman yako kutoka kwa kompyuta yako na uhakikishe kuwa hakuna wimbo unaochezwa. Unaweza kisha kuweka upya Walkman kwa usalama. Baada ya kuweka upya Walkman, bonyeza kitufe cha
ili kuwasha Walkman. - Angalia habari juu ya tatizo katika Msaada wa kila programu.
- Tafuta habari juu ya tatizo kwenye moja ya tovuti za msaada wa wateja.
Kuhusu tovuti za msaada wa wateja, angalia "Kwa habari za hivi karibuni." - Ikiwa mbinu zilizoorodheshwa hapo juu zinashindwa kutatua tatizo, wasiliana na muuzaji wako wa karibu wa Sony.
| Dalili | Sababu/Tiba |
| Siwezi kuchaji betri. |
|
| [Connecting USB] (Inaunganisha USB) haionekani wakati Walkman yako imeunganishwa kwenye kompyuta. |
|
| Walkman yako inakuwa isiyo imara wakati imeunganishwa kwenye kompyuta. |
|
Tahadhari
Habari juu ya sheria na alama za biashara
Kwa habari juu ya sheria, kanuni na haki za alama za biashara, rejelea "Important Information" (Habari Muhimu) iliyomo kwenye programu iliyotolewa. Ili kuisoma, sakinisha programu iliyotolewa kwenye kompyuta yako.
Kuhusu vifaa vya sauti
- Epuka kucheza kitengo kwa sauti kubwa sana ambayo uchezaji uliopanuliwa unaweza kuathiri usikivu wako.
- Kwa sauti kubwa sauti za nje zinaweza kuwa hazisikiki. Epuka kusikiliza kitengo katika hali ambazo kusikia lazima kusiathiriwe, kwa mfano, wakati wa kuendesha gari au baiskeli.
- Kwa kuwa vifaa vya sauti vimeundwa kwa hewa wazi, sauti hutoka kupitia vifaa vya sauti. Kumbuka kutowasumbua wale walio karibu nawe.
Kuhusu vifaa vya sauti vya ndani ya sikio
Vifaa vya masikioni huziba masikio yako. Kwa hivyo, fahamu kuwa kuna hatari ya uharibifu wa masikio yako au ngoma za masikio ikiwa shinikizo kali linatumika kwa vifaa vya masikioni, au vifaa vya masikioni vinaondolewa ghafla kutoka kwa masikio yako. Baada ya matumizi, hakikisha kuondoa vifaa vya masikioni kutoka kwa masikio yako kwa upole.
Kwa habari za hivi karibuni
Ikiwa una maswali yoyote au masuala na bidhaa hii, au ungependa habari juu ya vitu vinavyoendana na bidhaa hii, tembelea tovuti zifuatazo.
Kwa wateja nchini USA: http://www.sony.com/walkmansupport
Kwa wateja nchini Kanada: http://www.sony.ca/ElectronicsSupport/
Kwa wateja huko Amerika Kusini: http://www.sony-latin.com/index.crp
Kwa wateja huko Uropa: http://support.sony-europe.com/dna/wm/
Kwa wateja huko Asia, Oceania, Mashariki ya Kati, na Afrika:
Kiingereza: http://www.sony-asia.com/support
Kikorea: http://scs.sony.co.kr/walkman/
Kichina Kilichorahisishwa: http://service.sony.com.cn/KB/
Kichina cha Jadi: http://service.sony.com.tw/
Kwa wateja walionunua mifumo ya ng'ambo: http://www.sony.co.jp/overseas/support/

http://rd1.sony.net/help/dmp/nwzb180/h_ww/
©2014 Sony Corporation Imechapishwa nchini China

Marejeo
http://www.sony.com/walkmansupport
Sony Canada
Sony América Latina | Últimas noticias, tecnología y gadgets | Electrónica | Entretenimiento | SonySony Support Europe
http://www.sony-asia.com/support
http://service.sony.com.cn/KB/
http://service.sony.com.tw
Overseas Model Customer Support
Help Guide | Top
Pakua mwongozo
Hapa unaweza kupakua toleo kamili la pdf la mwongozo, linaweza kujumuisha maelekezo ya ziada ya usalama, taarifa za udhamini, sheria za FCC, n.k.
Pakua Mwongozo wa Haraka wa Sony Walkman NWZ-B183, NWZ-B183F

*1 kitufe
kitufe
.
ili kuchagua kipengee, na kisha ubonyeze kitufe cha
ili kuthibitisha.
[Music] (Muziki)
[FM Radio] (Redio ya FM) * 1
[Settings] (Mipangilio)
ili kuwasha Walkman.
inaonekana. Chaji betri katika halijoto ya mazingira ya 5°C (41 ºF) hadi 35°C (95 ºF).