Ghid de pornire rapidă Sony Walkman NWZ-B183, NWZ-B183F
- 1 Despre manuale
- 2 Cuprins
- 3 Despre sistemul de operare
- 4 Cum se instalează software-ul furnizat
- 5 Încărcarea bateriei
- 6 Părți și comenzi
- 7 Despre operarea volumului
- 8 Pornirea și oprirea Walkman-ului
- 9 Cum să utilizați Walkman-ul
- 10 Importarea și transferul muzicii
- 11 Depanare
- 12 Precauții
- 13 Referințe
- 14 Descărcați manualul
- 15 În alte limbi

Despre manuale
Acest ghid de pornire rapidă descrie numai instrucțiunile de operare de bază și modul de instalare a software-ului furnizat.
Pentru informații detaliate și instrucțiuni de operare, consultați Ghidul de ajutor (document HTML) inclus în software-ul furnizat după instalare.
Puteți accesa Ghidul de ajutor online (document HTML/Versiune completă) utilizând diverse dispozitive de la URL sau codul QR de pe prima pagină. În timp ce navigarea este gratuită, este posibil să vi se perceapă taxa de comunicare conform contractului dvs. cu operatorul.
Cuprins
- WALKMAN (1)
- Căști (1)
- Ghid de pornire rapidă (acest manual)
Despre sistemul de operare
Asigurați-vă că sistemul de operare este Windows 8.1, Windows 8, Windows 7 (Service Pack 1 sau o versiune ulterioară), Windows Vista (Service Pack 2 sau o versiune ulterioară), iar versiunea instalată de Windows Media Player pe computer este 11 sau 12.
Mac OS nu este acceptat de Walkman-ul dvs.
Cum se instalează software-ul furnizat
(Ghid de ajutor inclus)
- Conectați Walkman-ul la un computer pornit.
![Sony - Walkman NWZ-B183 - Cum se instalează software-ul furnizat Cum se instalează software-ul furnizat]()
- Selectați următoarea ordine cu computerul.
- Windows 7 sau o versiune anterioară: Selectați [Start] - [Computer] sau [My Computer] - [WALKMAN] - [FOR_WINDOWS].
- Windows 8.1 sau Windows 8: Selectați [Desktop] din [Start screen] pentru a deschide [File Explorer]. În lista [Computer], selectați [WALKMAN] - [FOR_WINDOWS].
- Faceți dublu clic pe [Help_Guide_Installer.exe].
Apare expertul de instalare. - Urmați instrucțiunile de pe ecran.
După ce programul de instalare se termină, comanda rapidă Ghid de ajutor apare pe desktopul computerului dvs.
Încărcarea bateriei
Bateria pentru Walkman-ul dvs. este reîncărcată în timp ce Walkman-ul este conectat la un computer pornit.

Notă
- Dacă încărcați Walkman-ul când nu a fost utilizat o perioadă lungă de timp, este posibil ca computerul să nu-l recunoască sau să nu apară nimic pe ecran. Încărcați Walkman-ul timp de aproximativ 10 minute, după care ar trebui să înceapă să funcționeze din nou normal.
Dacă ecranul Walkman-ului rămâne gol mai mult de 10 minute, deconectați Walkman-ul și apăsați butonul RESET pentru a reseta Walkman-ul. - Dacă porniți computerul, reporniți computerul, opriți computerul sau scoateți computerul din starea Sleep (Repaus) sau Hibernate (Hibernare) în timp ce Walkman-ul este conectat la computer, Walkman-ul poate funcționa defectuos. În acest caz, deconectați Walkman-ul și apăsați butonul RESET al Walkman-ului pentru a-l reseta. Deconectați Walkman-ul de la computer înainte de a efectua aceste operațiuni.
- Pentru a preveni deteriorarea bateriei, încărcați bateria cel puțin o dată la fiecare jumătate de an sau în fiecare an.
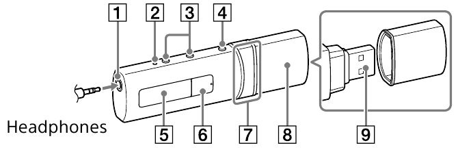
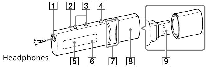
Părți și comenzi
Față

Spate

- Mufă pentru căști
- Butonul RESET
Apăsați butonul RESET cu un pix sau o agrafă de hârtie etc. pentru a reseta Walkman-ul. În timp ce Walkman-ul este conectat la computer prin USB, nu puteți reseta Walkman-ul. - Butoanele VOL +*1 /–
- Butonul BACK/HOME (ÎNAPOI/ACASĂ)
Consultați "Cum să utilizați Walkman-ul". - Afișaj
*1 buton
Execută elementele dorite. Pornește/întrerupe redarea muzicii sau întrerupe/repornește înregistrarea.
buton
Apăsați pentru a selecta un element de meniu, pentru a porni derularea rapidă înapoi/înainte în timpul redării sau pentru a preseta o stație FM.- Capac USB
Când vă conectați prin USB, scoateți capacul USB. - Conector USB
- Orificii pentru curea
- Comutator HOLD (BLOCARE)
Dezactivează butoanele de operare pentru a evita operarea accidentală în timp ce transportați Walkman-ul.
*1 Există un punct tactil pentru a ajuta la operarea butoanelor.
Despre operarea volumului
(Numai pentru țările/zonele care respectă directivele europene și coreene)
O alarmă (bip) și un avertisment [Check the volume level] (Verificați nivelul volumului) au scopul de a vă proteja urechile atunci când creșteți volumul la un nivel care este dăunător pentru urechile dvs. pentru prima dată. Puteți anula alarma și avertismentul apăsând orice buton.
Notă
- Puteți crește volumul după anularea alarmei și a avertismentului.
- După avertismentul inițial, alarma și avertismentul se repetă la fiecare 20 de ore cumulate în care volumul este setat la un nivel care este dăunător pentru urechile dvs.; când se întâmplă acest lucru, volumul este redus automat.
- Dacă volumul este setat la un nivel care este dăunător pentru urechile dvs. și opriți Walkman-ul, volumul este redus automat la un nivel care este sigur pentru urechile dvs.
Pornirea și oprirea Walkman-ului
| Pentru a porni (To turn on) | Apăsați butonul . |
| Pentru a opri (To turn off) | Apăsați lung butonul . |
Sugestie (Hint)
- Dacă redarea muzicii este întreruptă și nu se încearcă nicio operațiune pentru o anumită perioadă de timp, Walkman-ul se oprește automat, cu excepția cazului în care radioul FM este activat.
- Afișajul va fi oprit dacă nu încercați o operațiune pentru o anumită perioadă de timp. În astfel de cazuri, apăsați butonul BACK/HOME (ÎNAPOI/ACASĂ) pentru a reporni afișajul.
Cum să utilizați Walkman-ul
Meniul Home (Acasă) este punctul de plecare al fiecărei aplicații.
| Pentru a afișa [Music] (Muzică) în meniul Home (Acasă) | Apăsați lung butonul BACK/HOME (ÎNAPOI/ACASĂ). |
| Pentru a selecta un element | Apăsați pe oricare parte a butonului pentru a selecta un element, apoi apăsați butonul pentru a confirma. |
| Pentru a reveni la ecranul anterior | Apăsați butonul BACK/HOME (ÎNAPOI/ACASĂ). |
Meniu Home (Acasă)* 1![]() | |
[Music] (Muzică) | Redă muzica transferată pe Walkman-ul dvs. |
[FM Radio] * 1 (Radio FM) | Redă radio FM sau redă/șterge programele radio FM înregistrate cu Walkman-ul dvs. |
[Settings] (Setări) | Setează funcția pentru muzică, FM*1 sau setările Walkman 1. |
*1 Elementele legate de funcția [FM Radio] (Radio FM) apar numai pe NWZ-B183F.
Importarea și transferul muzicii
Puteți transfera muzică (codec WMA sau MP3) în folderul [MUSIC] (MUZICĂ) de pe Walkman-ul dvs. trăgând-o și fixând-o în Windows Explorer de pe computerul dvs. Dacă trebuie să extrageți date muzicale de pe CD-uri, puteți utiliza Windows Media Player 11 sau 12. Pentru detalii despre modul de utilizare, consultați Ajutorul acestuia.
Notă
- Nu deconectați Walkman-ul în timp ce fișierele sunt transferate. Dacă faceți acest lucru, fișierul transferat va fi deteriorat.
- Nu puteți transfera muzică cu protecție a drepturilor de autor, deoarece Walkman-ul dvs. nu o acceptă.
Depanare
Dacă Walkman-ul dvs. nu funcționează conform așteptărilor, încercați următorii pași pentru a rezolva problema.
- Găsiți simptomele problemei în "Troubleshooting" (Depanare) din Ghidul de ajutor (document HTML) și încercați orice acțiuni corective enumerate.
Pentru detalii despre conectarea la un computer, consultați tabelul de mai jos. - Conectați Walkman-ul la computer pentru a încărca bateria.
Este posibil să puteți rezolva unele probleme prin încărcarea bateriei. - Apăsați butonul RESET cu un pix sau o agrafă de hârtie etc.
Înainte de a reseta Walkman-ul, deconectați Walkman-ul de la computer și verificați dacă nu se redă nicio melodie. Puteți reseta apoi Walkman-ul în siguranță. După resetarea Walkman-ului, apăsați butonul
pentru a porni Walkman-ul. - Verificați informațiile despre problemă în Ajutorul fiecărui software.
- Căutați informații despre problemă pe unul dintre site-urile web de asistență pentru clienți.
Despre site-urile web de asistență pentru clienți, consultați "Pentru cele mai recente informații". - Dacă abordările enumerate mai sus nu reușesc să rezolve problema, consultați cel mai apropiat dealer Sony.
| Simptom | Cauză/Remediu |
| Nu pot încărca ˎ bateria. |
|
| [Connecting USB] (Se conectează USB) ˎ nu apare când Walkman-ul dvs. este conectat la ˎ computer. |
|
| Walkman-ul dvs. ˎ devine instabil în timp ce este conectat la computer. |
|
Precauții
Informații despre legi și mărci comerciale
Pentru informații despre legi, reglementări și drepturi de marcă comercială, consultați "Important Information" (Informații importante) conținute în software-ul furnizat. Pentru a-l citi, instalați software-ul furnizat pe computer.
Despre căști
- Evitați să redați unitatea la un volum atât de puternic încât redarea prelungită să vă poată afecta auzul.
- La un volum ridicat, sunetele exterioare pot deveni inaudibile. Evitați să ascultați unitatea în situații în care auzul nu trebuie să fie afectat, de exemplu, în timp ce conduceți sau mergeți cu bicicleta.
- Deoarece căștile au un design deschis, sunetele ies prin căști. Nu uitați să nu-i deranjați pe cei din apropierea dvs.
Despre căștile intraauriculare
Dopurile astupă urechile. Prin urmare, fiți conștienți de faptul că există riscul de deteriorare a urechilor sau a timpanelor dacă se aplică o presiune puternică asupra dopurilor sau dacă dopurile sunt scoase brusc din urechi. După utilizare, asigurați-vă că scoateți ușor dopurile din urechi.
Pentru cele mai recente informații
Dacă aveți întrebări sau probleme cu acest produs sau doriți informații despre articolele compatibile cu acest produs, vizitați următoarele site-uri web.
Pentru clienții din SUA: http://www.sony.com/walkmansupport
Pentru clienții din Canada: http://www.sony.ca/ElectronicsSupport/
Pentru clienții din America Latină: http://www.sony-latin.com/index.crp
Pentru clienții din Europa: http://support.sony-europe.com/dna/wm/
Pentru clienții din Asia, Oceania, Orientul Mijlociu și Africa:
Engleză: http://www.sony-asia.com/support
Coreeană: http://scs.sony.co.kr/walkman/
Chineză simplificată: http://service.sony.com.cn/KB/
Chineză tradițională: http://service.sony.com.tw/
Pentru clienții care au achiziționat modele de peste mări: http://www.sony.co.jp/overseas/support/

http://rd1.sony.net/help/dmp/nwzb180/h_ww/
©2014 Sony Corporation Printed in China

Referințe
http://www.sony.com/walkmansupport
Sony Canada
Sony América Latina | Últimas noticias, tecnología y gadgets | Electrónica | Entretenimiento | SonySony Support Europe
http://www.sony-asia.com/support
http://service.sony.com.cn/KB/
http://service.sony.com.tw
Overseas Model Customer Support
Help Guide | Top
Descărcați manualul
Aici puteți descărca versiunea completă pdf a manualului, aceasta poate conține instrucțiuni suplimentare de siguranță, informații despre garanție, reguli FCC etc.
Descărcați Ghid de pornire rapidă Sony Walkman NWZ-B183, NWZ-B183F

*1 buton
buton
.
pentru a selecta un element, apoi apăsați butonul
pentru a confirma.
[Music] (Muzică)
[FM Radio] * 1 (Radio FM)
[Settings] (Setări)
pentru a porni Walkman-ul.
. Încărcați bateria la o temperatură ambientală de 5°C (41 ºF) până la 35°C (95 ºF).