Guida rapida di Sony Walkman NWZ-B183, NWZ-B183F
- 1 Informazioni sui manuali
- 2 Contenuto
- 3 Informazioni sul sistema operativo
- 4 Come installare il software in dotazione
- 5 Caricare la batteria
- 6 Parti e comandi
- 7 Informazioni sul funzionamento del volume
- 8 Accensione e spegnimento del Walkman
- 9 Come usare il Walkman
- 10 Importazione e trasferimento di musica
- 11 Risoluzione dei problemi
- 12 Precauzioni
- 13 Riferimenti
- 14 Scarica manuale
- 15 In altre lingue

Informazioni sui manuali
Questa Guida rapida descrive solo le istruzioni operative di base e come installare il software in dotazione.
Per informazioni dettagliate e istruzioni operative, fare riferimento alla Guida (documento HTML) inclusa nel software in dotazione dopo l'installazione.
È possibile accedere alla Guida online (documento HTML/versione completa) utilizzando vari dispositivi dall'URL o dal codice QR sulla prima pagina. Sebbene la navigazione sia gratuita, potrebbero essere addebitati i costi di comunicazione in base al contratto con il proprio operatore.
Contenuto
- WALKMAN (1)
- Cuffie (1)
- Guida rapida (questo manuale)
Informazioni sul sistema operativo
Assicurarsi che il sistema operativo sia Windows 8.1, Windows 8, Windows 7 (Service Pack 1 o successivo), Windows Vista (Service Pack 2 o successivo) e che la versione di Windows Media Player installata sul computer sia la 11 o la 12.
Il sistema operativo Mac OS non è supportato dal Walkman.
Come installare il software in dotazione
(Guida inclusa)
- Collegare il Walkman a un computer in esecuzione.
![Sony - Walkman NWZ-B183 - How to Install the supplied Software Come installare il software in dotazione]()
- Selezionare il seguente ordine con il computer.
- Windows 7 o versioni precedenti: selezionare [Start] - [Computer] o [Risorse del computer] - [WALKMAN] - [FOR_WINDOWS].
- Windows 8.1 o Windows 8: selezionare [Desktop] dalla [schermata Start] per aprire [Esplora file]. Nell'elenco [Computer], selezionare [WALKMAN] - [FOR_WINDOWS].
- Fare doppio clic su [Help_Guide_Installer.exe].
Viene visualizzata la procedura guidata di installazione. - Seguire le istruzioni visualizzate sullo schermo.
Al termine dell'installazione, il collegamento alla Guida viene visualizzato sul desktop del computer.
Caricare la batteria
La batteria del Walkman si ricarica mentre il Walkman è collegato a un computer in esecuzione.

Nota
- Se si carica il Walkman quando non è stato utilizzato per un lungo periodo di tempo, il computer potrebbe non riconoscerlo oppure non potrebbe apparire nulla sul display. Caricare il Walkman per circa 10 minuti, dopodiché dovrebbe riprendere a funzionare normalmente.
Se il display del Walkman rimane vuoto per più di 10 minuti, scollegare il Walkman e premere il pulsante RESET per ripristinare il Walkman. - Se si accende il computer, lo si riavvia, lo si spegne o lo si riattiva dallo stato di sospensione o ibernazione mentre il Walkman è collegato al computer, il Walkman potrebbe non funzionare correttamente. In questo caso, scollegare il Walkman e premere il pulsante RESET del Walkman per ripristinarlo. Scollegare il Walkman dal computer prima di eseguire queste operazioni.
- Per evitare il deterioramento della batteria, caricare la batteria almeno una volta ogni sei mesi o ogni anno.
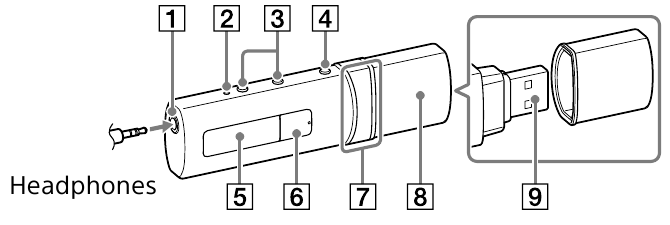
Parti e comandi
Anteriore

Posteriore

- Jack per cuffie
- Pulsante RESET
Premere il pulsante RESET con una penna o una graffetta, ecc. per ripristinare il Walkman. Mentre il Walkman è collegato al computer tramite USB, non è possibile ripristinare il Walkman. - Pulsanti VOL +*1 /–
- Pulsante BACK/HOME (Indietro/Home)
Vedere "Come usare il Walkman". - Display
*1 pulsante
Esegue gli elementi desiderati. Avvia/mette in pausa la riproduzione musicale o mette in pausa/riavvia la registrazione.
pulsante
Premere per selezionare una voce di menu, avviare l'avanzamento/riavvolgimento rapido durante la riproduzione o preimpostare una stazione FM.- Coperchio USB
Quando si collega con USB, rimuovere il coperchio USB. - Connettore USB
- Fori per il cinturino
- Interruttore HOLD (Blocca)
Disabilita i pulsanti operativi per evitare operazioni accidentali durante il trasporto del Walkman.
*1 È presente un punto tattile per facilitare le operazioni con i pulsanti.
Informazioni sul funzionamento del volume
(Solo per i paesi/aree conformi alle direttive europee e coreane)
Un allarme (beep) e un avviso [Controllare il livello del volume] hanno lo scopo di proteggere le orecchie quando si alza il volume a un livello dannoso per le orecchie per la prima volta. È possibile annullare l'allarme e l'avviso premendo qualsiasi pulsante.
Nota
- È possibile alzare il volume dopo aver annullato l'allarme e l'avviso.
- Dopo l'avviso iniziale, l'allarme e l'avviso si ripetono ogni 20 ore cumulative in cui il volume è impostato a un livello dannoso per le orecchie; quando ciò accade, il volume viene abbassato automaticamente.
- Se il volume è impostato a un livello dannoso per le orecchie e si spegne il Walkman, il volume viene abbassato automaticamente a un livello sicuro per le orecchie.
Accensione e spegnimento del Walkman
| Per accendere | Premere il pulsante . |
| Per spegnere | Tenere premuto il pulsante . |
Suggerimento
- Se la riproduzione musicale è in pausa e non si tenta alcuna operazione per un certo periodo di tempo, il Walkman si spegne automaticamente, tranne quando la radio FM è attivata.
- Il display si spegnerà se non si tenta un'operazione per un certo periodo di tempo. In tali casi, premere il pulsante BACK/HOME (Indietro/Home) per riaccendere il display.
Come usare il Walkman
Il menu Home è il punto di partenza di ogni applicazione.
| Per visualizzare [Music] (Musica) nel menu Home | Tenere premuto il pulsante BACK/HOME (Indietro/Home). |
| Per selezionare un elemento | Premere uno dei lati del pulsante per selezionare un elemento, quindi premere il pulsante per confermare. |
| Per tornare alla schermata precedente | Premere il pulsante BACK/HOME (Indietro/Home). |
Menu Home* 1![]() | |
[Music] (Musica) | Riproduce la musica trasferita sul Walkman. |
[FM Radio] * 1 (Radio FM) | Riproduce la radio FM o riproduce/elimina i programmi radio FM registrati con il Walkman. |
[Settings] (Impostazioni) | Imposta la funzione per la musica, FM*1 o le impostazioni del Walkman 1. |
*1 Le voci relative alla funzione [FM Radio] (Radio FM) appaiono solo su NWZ-B183F.
Importazione e trasferimento di musica
È possibile trasferire musica (codec WMA o MP3) nella cartella [MUSIC] (MUSICA) sul Walkman trascinandola e rilasciandola in Esplora risorse sul computer. Se è necessario estrarre dati musicali da CD, è possibile utilizzare Windows Media Player 11 o 12. Per i dettagli su come utilizzare, fare riferimento alla Guida.
Nota
- Non scollegare il Walkman mentre i file vengono trasferiti. In caso contrario, il file in fase di trasferimento verrà danneggiato.
- Non è possibile trasferire musica con protezione del copyright poiché il Walkman non la supporta.
Risoluzione dei problemi
Se il Walkman non funziona come previsto, provare a seguire questi passaggi per risolvere il problema.
- Trovare i sintomi del problema in "Troubleshooting" (Risoluzione dei problemi) nella Guida (documento HTML) e provare le azioni correttive elencate.
Per i dettagli sulla connessione a un computer, vedere la tabella sottostante. - Collegare il Walkman al computer per caricare la batteria.
Potrebbe essere possibile risolvere alcuni problemi caricando la batteria. - Premere il pulsante RESET con una penna o una graffetta, ecc.
Prima di ripristinare il Walkman, scollegare il Walkman dal computer e verificare che non sia in riproduzione alcun brano. È quindi possibile ripristinare il Walkman in modo sicuro. Dopo aver ripristinato il Walkman, premere il pulsante
per accendere il Walkman. - Controllare le informazioni sul problema nella Guida di ciascun software.
- Cercare informazioni sul problema su uno dei siti Web di assistenza clienti.
Informazioni sui siti Web di assistenza clienti, vedere "Per le informazioni più recenti". - Se gli approcci sopra elencati non riescono a risolvere il problema, consultare il rivenditore Sony più vicino.
| Sintomo | Causa/Soluzione |
| Non riesco a caricare la batteria. |
|
| [Connecting USB] (Connessione USB) non viene visualizzato quando il Walkman è collegato al computer. |
|
| Il Walkman diventa instabile mentre è collegato al computer. |
|
Precauzioni
Informazioni su leggi e marchi
Per informazioni su leggi, regolamenti e diritti di marchio, fare riferimento a "Informazioni importanti" contenute nel software in dotazione. Per leggerlo, installare il software in dotazione sul computer.
Informazioni sulle cuffie
- Evitare di riprodurre l'unità a un volume così alto che la riproduzione prolungata possa influire sull'udito.
- A un volume elevato, i suoni esterni potrebbero diventare impercettibili. Evitare di ascoltare l'unità in situazioni in cui l'udito non deve essere compromesso, ad esempio durante la guida o il ciclismo.
- Poiché le cuffie sono di tipo aperto, i suoni escono attraverso le cuffie. Ricordarsi di non disturbare chi è vicino.
Informazioni sulle cuffie in-ear
Gli auricolari sigillano le orecchie. Pertanto, tenere presente che esiste il rischio di danni alle orecchie o ai timpani se viene applicata una forte pressione agli auricolari o se gli auricolari vengono improvvisamente rimossi dalle orecchie. Dopo l'uso, assicurarsi di togliere delicatamente gli auricolari dalle orecchie.
Per le informazioni più recenti
In caso di domande o problemi con questo prodotto o per informazioni su articoli compatibili con questo prodotto, visitare i seguenti siti Web.
Per i clienti negli Stati Uniti: http://www.sony.com/walkmansupport
Per i clienti in Canada: http://www.sony.ca/ElectronicsSupport/
Per i clienti in America Latina: http://www.sony-latin.com/index.crp
Per i clienti in Europa: http://support.sony-europe.com/dna/wm/
Per i clienti in Asia, Oceania, Medio Oriente e Africa:
Inglese: http://www.sony-asia.com/support
Coreano: http://scs.sony.co.kr/walkman/
Cinese semplificato: http://service.sony.com.cn/KB/
Cinese tradizionale: http://service.sony.com.tw/
Per i clienti che hanno acquistato modelli esteri: http://www.sony.co.jp/overseas/support/

http://rd1.sony.net/help/dmp/nwzb180/h_ww/
©2014 Sony Corporation Printed in China

Riferimenti
http://www.sony.com/walkmansupport
Sony Canada
Sony América Latina | Últimas noticias, tecnología y gadgets | Electrónica | Entretenimiento | SonySony Support Europe
http://www.sony-asia.com/support
http://service.sony.com.cn/KB/
http://service.sony.com.tw
Overseas Model Customer Support
Help Guide | Top
Scarica manuale
Qui puoi scaricare la versione completa in PDF del manuale, può contenere ulteriori istruzioni di sicurezza, informazioni sulla garanzia, regole FCC, ecc.
Scarica Guida rapida di Sony Walkman NWZ-B183, NWZ-B183F

*1 pulsante
pulsante
.
per selezionare un elemento, quindi premere il pulsante
per confermare.
[Music] (Musica)
[FM Radio] * 1 (Radio FM)
[Settings] (Impostazioni)
per accendere il Walkman.
. Caricare la batteria a una temperatura ambiente da 5 °C (41 °F) a 35 °C (95 °F).