GENERAL LIFE HT100S RF - Manual del termostato de ambiente digital
- 1 ESPECIFICACIONES GENERALES
- 2 DISPOSITIVO Y EQUIPOS
- 3 DATOS TÉCNICOS
- 4 TERMOSTATO DE AMBIENTE
- 5 RECEPTOR
- 6 UBICACIÓN DEL TERMOSTATO DE AMBIENTE
- 7 COLOCACIÓN DE LA BATERÍA
- 8 UBICACIÓN DEL RECEPTOR
- 9 CONFIGURACIÓN DEL RECEPTOR
- 10 DIAGRAMA DE CABLEADO DEL RECEPTOR
- 11 EMPAREJAMIENTO DEL TERMOSTATO DE AMBIENTE Y EL RECEPTOR
- 12 LÓGICA DE FUNCIONAMIENTO DEL TERMOSTATO DE AMBIENTE TPI
- 13 GRÁFICO DE FUNCIONAMIENTO DEL TERMOSTATO DE AMBIENTE TPI
- 14 QUÉ DEBE SABER SOBRE EL TERMOSTATO DE AMBIENTE TPI
- 15 PREGUNTAS FRECUENTES
- 16 Descargar el manual
- 17 En otros idiomas

ESPECIFICACIONES GENERALES
HT100S RF es un termostato de ambiente inalámbrico. El usuario puede ajustar la temperatura ambiente con la temperatura requerida y obtener una calefacción más cómoda y económica.
- Medición precisa de la temperatura
- Control ON/OFF (encendido/apagado)
- Conexión inalámbrica
- Algoritmo TPI
DISPOSITIVO Y EQUIPOS

DATOS TÉCNICOS
Termostato de ambiente
| Dimensiones ( A / L / A ) | 85mm / 125mm / 24mm |
| Corriente de funcionamiento | 3V DC (2 pilas alcalinas AAA) |
| Precisión de la medición de la temperatura | 0.1oC |
| Rango de temperatura de funcionamiento | (5oC) – (35oC) |
| Duración de la batería | 1 año (2 x AAA) |
| Temperatura de funcionamiento | (-10oC) – (+50oC) |
| Temperatura de almacenamiento | (-20oC) – (+60oC) |
Receptor
| Dimensiones | 90mm / 90mm / 25mm |
| Corriente de funcionamiento | 230V AC |
| Corriente de conmutación del relé NO | 7A (240VAC – Carga resistiva) 10A (120VAC – Carga resistiva) |
| Temperatura de almacenamiento | (-20oC) – (+60oC) |
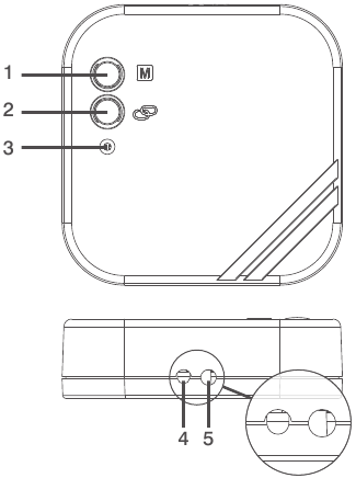
TERMOSTATO DE AMBIENTE

Descripciones del LED indicador del termostato de ambiente
| Si parpadea una vez | El termostato de ambiente envía una señal de cierre al receptor y la unidad de calefacción deja de funcionar. |
| Si parpadea dos veces | El termostato de ambiente envía una señal de apertura al receptor y la unidad de calefacción se pone en marcha. |
| Si parpadea tres veces | El termostato de ambiente envía una señal de emparejamiento al receptor. |
RECEPTOR

- 1-Botón de funcionamiento manual:
Al desactivar el receptor, le permite utilizar su caldera manualmente. - Botón de emparejamiento:
Permite emparejar el receptor con el termostato de ambiente. - Luz LED del receptor
- Entrada del cable de alimentación del receptor
- Entrada del cable de conexión de la caldera
DESCRIPCIONES DEL LED DEL RECEPTOR
| Rojo fijo | El receptor tiene alimentación, pero el receptor y el termostato de ambiente no están emparejados. |
| Verde parpadeante | Esperando la señal de emparejamiento del termostato de ambiente. |
| Verde fijo | El receptor y el termostato de ambiente están emparejados. La caldera no está funcionando. |
| 3 parpadeos cortos en naranja | La señal de funcionamiento de la caldera ha llegado al receptor. |
| Naranja fijo | La caldera está funcionando. |
| 3 parpadeos cortos en verde | La señal de apagado de la caldera ha llegado al receptor. |
| Naranja parpadeante | La caldera está funcionando en modo manual. |
| Rojo parpadeante | El receptor no ha recibido una señal del termostato de ambiente durante 22 minutos o más y la caldera se ha apagado. |
UBICACIÓN DEL TERMOSTATO DE AMBIENTE
El termostato de ambiente debe colocarse en la habitación que se utiliza con más frecuencia. Por ejemplo, el salón o la sala de estar. Se debe evitar colocar el termostato de ambiente en un lugar que tenga circulación de aire, como la entrada de una habitación o al lado de una ventana. Tampoco sería adecuado colocarlo cerca de unidades de calefacción como radiadores, estufas y lugares que reciben luz solar directa. El termostato de ambiente debe ubicarse a una altura de 150 cm sobre el suelo. Se pueden hacer algunas pruebas para encontrar el lugar más conveniente.

COLOCACIÓN DE LA BATERÍA

Como se muestra en la imagen de arriba, presione el destornillador hacia adelante desde el espacio que se muestra, doble las pestañas y separe la cubierta frontal. Inserte 2 pilas alcalinas AAA nuevas en el compartimento de las pilas con la dirección correcta de la pila. Reemplace ambas pilas al mismo tiempo. Luego, alinee la parte frontal de su termostato de ambiente con la parte posterior y apriétela hacia la parte posterior.
Cuando el producto no se utilice durante un período prolongado (más de 15 días), retire las pilas. De lo contrario, los fallos de funcionamiento que puedan producirse quedarían fuera de la garantía.
Por favor, tire las pilas gastadas al contenedor de pilas.
UBICACIÓN DEL RECEPTOR
Las cosas importantes a tener en cuenta para la ubicación del receptor son evitar el contacto físico entre el receptor y la caldera, y protegerlo contra materiales como líquidos, polvo, etc.

Los dispositivos deben colocarse de forma que se minimicen los daños a las señales recibidas y transmitidas, prestando atención a los siguientes puntos:
- Los dispositivos no deben montarse sobre superficies metálicas.
- Los dispositivos no deben instalarse cerca de cables eléctricos y equipos electrónicos como ordenadores y televisores.
- Los dispositivos no deben instalarse cerca de grandes estructuras metálicas u otros materiales de construcción que utilicen mallas metálicas finas, como vidrio especial u hormigón especial.
- La distancia entre el termostato de ambiente y el receptor no debe superar los 20 metros o 2 plantas.
- El receptor debe instalarse a una distancia mínima de 50 cm de la caldera.
CONFIGURACIÓN DEL RECEPTOR
- En primer lugar, apague su caldera y la fuente de alimentación de su caldera con toda la corriente eléctrica (fusible, enchufe, etc.)
- Como se muestra en el diagrama de conexión, conecte un extremo del cable de conexión de la caldera al COM y el otro a la entrada NO del receptor.
- Conecte los otros extremos del cable -que conectó al receptor- al terminal de conexión del termostato de ambiente como se muestra en el manual de usuario de su caldera.
- Primero debe conectar el cable de alimentación del receptor al receptor y luego al fusible al que está conectada la caldera.
- Después de completar el proceso de conexión del cable, primero encienda su fusible y luego su caldera.
- Pulsando el botón de uso manual del receptor durante 2 segundos, debería ver la luz naranja parpadeando en el receptor. De esta manera, después de asegurarse de que la caldera está funcionando, pulse el mismo botón de nuevo durante 2 segundos y vea que el LED naranja se apaga.
- Configure el termostato de ambiente para emparejar el receptor con el termostato de ambiente.
DIAGRAMA DE CABLEADO DEL RECEPTOR

Las operaciones dentro de la caldera o relacionadas con la instalación eléctrica deben ser realizadas por personas con competencia profesional.
EMPAREJAMIENTO DEL TERMOSTATO DE AMBIENTE Y EL RECEPTOR
- Mantenga pulsado el botón de emparejamiento del receptor durante 2 segundos y vea que el LED del receptor parpadea en verde.
- Gire el botón del termostato de ambiente al símbolo "
" (emparejamiento). - El LED del termostato de ambiente parpadeará 3 veces.
- Si el emparejamiento se realiza correctamente, el LED verde parpadeante del receptor se iluminará de forma fija.
- El receptor y el termostato de ambiente ya se han sincronizado.
LÓGICA DE FUNCIONAMIENTO DEL TERMOSTATO DE AMBIENTE TPI
Su termostato de ambiente funciona con el algoritmo TPI en la opción de calefacción. Los termostatos de ambiente que utilizan la tecnología TPI predicen cuándo la temperatura de su hogar subirá o bajará por encima de la temperatura establecida y encienden y apagan la unidad de calefacción en consecuencia. Esto asegura que su hogar se mantenga a la temperatura que usted establezca sin desviaciones máximas hacia arriba y hacia abajo.
- ¿Qué es TPI?
La tecnología TPI está diseñada para garantizar que obtenga la mejor eficiencia energética posible de su sistema de calefacción. Mide y aplica los mejores tiempos posibles para entregar y mantener su hogar al nivel de temperatura establecido. - ¿Cómo funciona TPI?
Gracias a la avanzada tecnología de inteligencia artificial que se encuentra en el software, se adapta al cambio de temperatura del entorno en el que se encuentra. Al crear un mapa general de la temperatura de su hogar, aprende cuánto tiempo se tarda en alcanzar la temperatura ambiente deseada y cómo mantener esta temperatura. De esta manera, proporciona un consumo mínimo de energía al calcular cuánto tiempo debe funcionar su unidad de calefacción. - ¿Cuál es la diferencia?
En los termostatos de ambiente no TPI, la unidad de calefacción funciona y se detiene continuamente hasta que supera el valor de temperatura establecido. Si la temperatura establecida cae por debajo de una cierta cantidad, la unidad de calefacción volverá a funcionar. Esto crea mayores fluctuaciones de temperatura y menos control de la energía. Los termostatos de ambiente TPI, por otro lado, proporcionan un mayor ahorro y confort en comparación con los termostatos de ambiente On/Off (encendido/apagado) con las ventajas que tiene.
GRÁFICO DE FUNCIONAMIENTO DEL TERMOSTATO DE AMBIENTE TPI

Su termostato de ambiente envía la última señal de estado al receptor cada 10 minutos. Por lo tanto, su termostato de ambiente y el receptor funcionan sincrónicamente. Si la señal no puede llegar al receptor desde el termostato de ambiente durante 22 minutos, percibe que la conexión está rota y detiene el funcionamiento de la caldera por razones de seguridad. Del mismo modo, en los casos en que la electricidad vuelve después de un fallo de alimentación, el receptor no pone en marcha la caldera hasta que la señal de "funcionar" llega desde el termostato de ambiente.
Sin embargo, en este caso, si el termostato de ambiente continúa funcionando normalmente, seguirá funcionando correctamente sin necesidad de intervención, ya que envía una señal de estado al receptor cada 10 minutos.
QUÉ DEBE SABER SOBRE EL TERMOSTATO DE AMBIENTE TPI
- Si se cambia la ubicación de los termostatos de ambiente TPI, el proceso de aprendizaje se reiniciará. El proceso de aprendizaje debe considerarse de 7 días.
- Si los termostatos de ambiente TPI se desenergizan (reemplazo de la batería), el proceso de aprendizaje se reiniciará. El proceso de aprendizaje debe considerarse de 7 días.
PREGUNTAS FRECUENTES
¿Es mi termostato de ambiente compatible con mi caldera?
Si su caldera tiene conexiones de encendido y apagado, su termostato de ambiente es compatible. Puede obtener información sobre su caldera en el manual de usuario de la caldera o en el servicio técnico de su caldera.
¿Cómo conectaré mi caldera con mi receptor?
Recomendamos que la conexión entre su receptor y su caldera la realicen personas cualificadas profesionalmente. Un cable de 2x0,75 mm es suficiente para la conexión receptor - caldera. Conecte un extremo del par de cables a los terminales de conexión del termostato de ambiente que se indican en el manual de usuario de su caldera.
Conecte el otro extremo del par de cables a las entradas COM y NO del terminal dentro del receptor como se muestra en la sección "DIAGRAMA DE CABLEADO DEL RECEPTOR".
La dirección de los extremos del cable no importa.

Descargar el manual
Aquí puede descargar la versión PDF completa del manual. Puede contener instrucciones de seguridad adicionales, información de garantía, reglas de la FCC, etc.
Descargar GENERAL LIFE HT100S RF - Manual del termostato de ambiente digital
" (emparejamiento).