Makita XRH04 Handleiding

SPECIFICATIES

Model XRH04
Capaciteiten Beton 24 mm (15/16")
Staal 13 mm (1/2")
Hout 26 mm (1")
Nullasttoerental (RPM) 0 - 1.200 /min
Aantal slagen per minuut 0 - 4.000
Totale lengte 417 mm (16-3/8")
Nettogewicht 3,2 kg (7,1 lbs) 3,5 kg (7,7 lbs)
Nominale spanning D.C. 18 V
Standaard accu

FUNCTIONELE BESCHRIJVING

Let op!

  • Zorg er altijd voor dat het gereedschap is uitgeschakeld en de accu is verwijderd voordat u de functie van het gereedschap aanpast of controleert.

Accu plaatsen of verwijderen

Let op!

  • Schakel het gereedschap altijd uit voordat u de accu plaatst of verwijdert.
  • Houd het gereedschap en de accu stevig vast bij het plaatsen of verwijderen van de accu. Als u het gereedschap en de accu niet stevig vasthoudt, kunnen ze uit uw handen glippen, wat kan leiden tot schade aan het gereedschap en de accu en tot persoonlijk letsel.

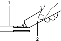
Om de accu te verwijderen, schuift u deze van het gereedschap terwijl u de knop aan de voorkant van de accu verschuift.
Om de accu te plaatsen, lijnt u de lip op de accu uit met de groef in de behuizing en schuift u deze op zijn plaats. Steek hem helemaal in totdat hij met een kleine klik vastklikt. Als u de rode indicator aan de bovenkant van de knop ziet, is deze niet volledig vergrendeld.

  1. Rode indicator
  2. Knop
  3. Accu

Let op!

  • Plaats de accu altijd volledig totdat de rode indicator niet meer te zien is. Zo niet, dan kan deze per ongeluk uit het gereedschap vallen, waardoor u of iemand in uw omgeving letsel kan oplopen.
  • Plaats de accu niet met geweld. Als de accu er niet gemakkelijk in schuift, wordt deze niet correct geplaatst.

Accubeveiligingssysteem

(Lithium-ionaccu met stermarkering)

  1. Stermarkering

Lithium-ionaccu's met een stermarkering zijn uitgerust met een beveiligingssysteem. Dit systeem schakelt automatisch de stroom naar het gereedschap uit om de levensduur van de accu te verlengen.
Het gereedschap stopt automatisch tijdens het gebruik als het gereedschap en/of de accu onder een van de volgende omstandigheden worden geplaatst:

  • Overbelast:
    Het gereedschap wordt bediend op een manier die ervoor zorgt dat het een abnormaal hoge stroom verbruikt.
    Laat in deze situatie de trekkerschakelaar op het gereedschap los en stop de toepassing die ervoor zorgde dat het gereedschap overbelast raakte. Haal vervolgens de trekkerschakelaar opnieuw over om opnieuw te starten.
    Als het gereedschap niet start, is de accu oververhit. Laat in deze situatie de accu afkoelen voordat u de trekkerschakelaar opnieuw overhaalt.
  • Lage accuspanning:
    De resterende accucapaciteit is te laag en het gereedschap werkt niet. Verwijder en laad in deze situatie de accu op.

Schakelaarbediening

Let op!

  • Voordat u de accu in het gereedschap plaatst, moet u altijd controleren of de schakelaar goed werkt en terugkeert naar de "UIT"-stand wanneer deze wordt losgelaten.

Om het gereedschap te starten, trekt u gewoon aan de trekkerschakelaar. De snelheid van het gereedschap wordt verhoogd door de druk op de trekkerschakelaar te verhogen. Laat de trekkerschakelaar los om te stoppen.

  1. Trekkerschakelaar

Elektrische rem

Dit gereedschap is uitgerust met een elektrische rem. Als het gereedschap consequent niet snel stopt nadat de trekkerschakelaar is losgelaten, laat het gereedschap dan repareren bij een Makita-servicecentrum.

Schakelaarbediening voor achteruit

Dit gereedschap heeft een schakelaar voor achteruit om de draairichting te veranderen. Druk de schakelaarhendel voor achteruit vanaf de A-kant in voor een draairichting met de klok mee of vanaf de B-kant voor een draairichting tegen de klok in.
Wanneer de schakelaarhendel voor achteruit in de neutrale stand staat, kan de trekkerschakelaar niet worden overgehaald.

  1. Schakelaarhendel voor achteruit

Let op!

  • Controleer altijd de draairichting voor gebruik.
  • Gebruik de schakelaar voor achteruit alleen nadat het gereedschap volledig tot stilstand is gekomen. Het veranderen van de draairichting voordat het gereedschap stopt, kan het gereedschap beschadigen.
  • Wanneer u het gereedschap niet gebruikt, zet u de schakelaarhendel voor achteruit altijd in de neutrale stand.

De werkmodus selecteren

Rotatie met hameren
Voor het boren in beton, metselwerk, enz., drukt u op de vergrendelknop en draait u de knop voor het wijzigen van de werkmodus naar het symbool. Gebruik een boor met een wolfraamcarbide punt.

  1. Vergrendelknop
  2. Rotatie met hameren
  3. Knop voor het wijzigen van de werkmodus

Alleen rotatie
Voor het boren in hout, metaal of kunststof drukt u op de vergrendelknop en draait u de knop voor het wijzigen van de werkmodus naar het symbool. Gebruik een spiraalboor of houtboor.

  1. Alleen rotatie

Alleen hameren
Voor hak-, schaal- of sloopwerkzaamheden drukt u op de vergrendelknop en draait u de knop voor het wijzigen van de werkmodus naar het symbool. Gebruik een puntbeitel, koude beitel, schaalbeitel, enz.

  1. Alleen hameren

Let op!

  • Draai niet aan de knop voor het wijzigen van de werkmodus wanneer het gereedschap draait. Het gereedschap zal beschadigd raken.
  • Om snelle slijtage van het mechanisme voor het wijzigen van de modus te voorkomen, moet u ervoor zorgen dat de knop voor het wijzigen van de werkmodus altijd positief is geplaatst in een van de drie werkmodusposities.

Koppelbegrenzer

De koppelbegrenzer wordt geactiveerd wanneer een bepaald koppel is bereikt. De motor wordt losgekoppeld van de uitgaande as. Wanneer dit gebeurt, stopt de boor met draaien.
Let op!

  • Zodra de koppelbegrenzer is geactiveerd, schakelt u het gereedschap onmiddellijk uit. Dit helpt vroegtijdige slijtage van het gereedschap te voorkomen.
  • Gatzagen kunnen niet met dit gereedschap worden gebruikt. Ze hebben de neiging om gemakkelijk vast te klemmen of vast te haken in het gat. Dit zorgt ervoor dat de koppelbegrenzer te vaak wordt geactiveerd.

MONTAGE

Let op!

  • Zorg er altijd voor dat het gereedschap is uitgeschakeld en de accu is verwijderd voordat u werkzaamheden aan het gereedschap uitvoert.

Zijhandgreep (hulphandgreep)

Let op!

  • Gebruik altijd de zijhandgreep om de bedrijfsveiligheid te garanderen.

Installeer de zijhandgreep zodat de tanden op de handgreep tussen de uitsteeksels op de gereedschapcilinder passen. Draai vervolgens de handgreep vast door met de klok mee te draaien in de gewenste positie. Deze kan 360° worden gedraaid om in elke positie te worden vastgezet.

  1. Handgreepbasis
  2. Zijhandgreep
  3. Losdraaien
  4. Vastdraaien
  5. Tanden
  6. Uitsteeksel

Boorvet

Smeer de boorstang vooraf in met een kleine hoeveelheid boorvet (ongeveer 0,5 -1 g; 0,02 - 0,04 oz.). Deze smering van de boorkop zorgt voor een soepele werking en een langere levensduur.

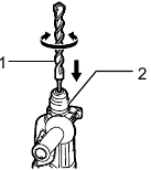
De boor plaatsen of verwijderen

Reinig de boorstang en breng boorvet aan voordat u de boor plaatst.

  1. Boorstang
  2. Boorvet

Steek de boor in het gereedschap. Draai de boor en duw deze naar binnen totdat deze vastklikt.

  1. Boor
  2. Boorkopdeksel

Als de boor niet kan worden ingeduwd, verwijdert u de boor. Trek het boorkopdeksel een paar keer naar beneden. Steek de boor vervolgens opnieuw in. Draai de boor en duw deze naar binnen totdat deze vastklikt.
Controleer na het plaatsen altijd of de boor stevig op zijn plaats wordt gehouden door te proberen deze eruit te trekken.
Om de boor te verwijderen, trekt u het boorkopdeksel helemaal naar beneden en trekt u de boor eruit.

  1. Boor
  2. Boorkopdeksel

Boorhoek (bij hakken, schalen of slopen)

  1. O-symbool
  2. Knop voor het wijzigen van de werkmodus

De boor kan in de gewenste hoek worden vastgezet. Om de boorhoek te wijzigen, drukt u op de vergrendelknop en draait u de knop voor het wijzigen van de werkmodus naar het O-symbool. Draai de boor in de gewenste hoek.
Druk op de vergrendelknop en draai de knop voor het wijzigen van de werkmodus naar het symbool. Zorg er vervolgens voor dat de boor stevig op zijn plaats wordt gehouden door deze iets te draaien.

Dieptemeter

De dieptemeter is handig voor het boren van gaten van uniforme diepte. Draai de zijhandgreep los en steek de dieptemeter in het gat in de zijhandgreep. Stel de dieptemeter in op de gewenste diepte en draai de zijhandgreep vast.

  1. Dieptemeter

OPMERKING:

  • De dieptemeter kan niet worden gebruikt op de positie waar de dieptemeter tegen de tandwielkast stoot.

Stofopvangbeker

Gebruik de stofopvangbeker om te voorkomen dat er stof over het gereedschap en op uzelf valt bij het uitvoeren van boorwerkzaamheden boven het hoofd. Bevestig de stofopvangbeker aan de boor zoals weergegeven in de afbeelding. De grootte van de boren waarop de stofopvangbeker kan worden bevestigd, is als volgt.

  1. Stofopvangbeker
Boordiameter
Stofopvangbeker 5 6 mm (1/4") - 14,5 mm (9/16")
Stofopvangbeker 9 12 mm (15/32") - 16 mm (5/8")

WERKING

Hamerboorwerking

Zet de knop voor het wijzigen van de werkmodus op het symbool. Plaats de boor op de gewenste locatie voor het gat en haal vervolgens de trekkerschakelaar over.
Forceer het gereedschap niet. Lichte druk geeft de beste resultaten. Houd het gereedschap in positie en voorkom dat het wegglijdt van het gat.
Oefen niet meer druk uit wanneer het gat verstopt raakt met spanen of deeltjes. Laat het gereedschap in plaats daarvan stationair draaien en verwijder de boor gedeeltelijk uit het gat. Door dit een paar keer te herhalen, wordt het gat schoongemaakt en kan het normale boren worden hervat.

Let op!

  • Er wordt een enorme en plotselinge draaikracht uitgeoefend op het gereedschap/de boor op het moment dat het gat wordt doorbroken, wanneer het gat verstopt raakt met spanen en deeltjes, of wanneer er wapeningsstaven in het beton worden geraakt. Gebruik altijd de zijhandgreep (hulphandgreep) en houd het gereedschap stevig vast met zowel de zijhandgreep als de schakelaarhendel tijdens het gebruik. Als u dit niet doet, kan dit leiden tot verlies van controle over het gereedschap en mogelijk ernstig letsel.

OPMERKING:
Er kan excentriciteit in de boorrotatie optreden tijdens het bedienen van het gereedschap zonder belasting. Het gereedschap centreert zichzelf automatisch tijdens het gebruik. Dit heeft geen invloed op de boorprecisie.

Blaasbalg

(optioneel accessoire)
Gebruik na het boren van het gat de blaasbalg om het stof uit het gat te verwijderen.

  1. Blaasbalg

Hakken/Schalen/Slopen

Zet de knop voor het wijzigen van de werkmodus op het symbool. Houd het gereedschap stevig met beide handen vast. Schakel het gereedschap in en oefen lichte druk uit op het gereedschap, zodat het gereedschap niet ongecontroleerd rondspringt. Door zeer hard op het gereedschap te drukken, wordt de efficiëntie niet verhoogd.

Boren in hout of metaal

Gebruik de optionele boorkopmontage. Raadpleeg bij het installeren "De boor plaatsen of verwijderen" die op de vorige pagina wordt beschreven.
Zet de knop voor het wijzigen van de werkmodus zo dat de aanwijzer naar het symbool wijst.

  1. Boorkopadapter
  2. Sleutelloze boorkop

  1. Huls
  2. Ring

Let op!

  • Gebruik nooit "rotatie met hameren" wanneer de boorkopmontage op het gereedschap is geïnstalleerd. De boorkopmontage kan beschadigd raken. Ook zal de boorkop loskomen bij het omkeren van het gereedschap.
  • Overmatig drukken op het gereedschap zal het boren niet versnellen. In feite zal deze overmatige druk alleen maar dienen om de punt van uw boor te beschadigen, de prestaties van het gereedschap te verminderen en de levensduur van het gereedschap te verkorten.
  • Er wordt een enorme draaikracht uitgeoefend op het gereedschap/de boor op het moment dat het gat wordt doorbroken. Houd het gereedschap stevig vast en wees voorzichtig wanneer de boor door het werkstuk begint te breken.
  • Een vastzittende boor kan eenvoudig worden verwijderd door de schakelaar voor achteruit in te stellen op achteruit draaien om de boor eruit te halen. Het gereedschap kan echter abrupt terugtrekken als u het niet stevig vasthoudt.
  • Zet kleine werkstukken altijd vast in een bankschroef of een soortgelijk vasthoudapparaat.

ONDERHOUD

Voorzichtigheid geboden

  • Zorg er altijd voor dat het gereedschap is uitgeschakeld en de accu is verwijderd voordat u inspectie of onderhoud uitvoert.
  • Gebruik nooit benzine, benzeen, verdunner, alcohol of iets dergelijks. Dit kan verkleuring, vervorming of scheuren veroorzaken.

Koolborstels vervangen

Verwijder en controleer de koolborstels regelmatig. Vervang ze wanneer ze tot de limietmarkering zijn afgesleten. Houd de koolborstels schoon en zorg ervoor dat ze vrij in de houders kunnen glijden. Beide koolborstels moeten tegelijkertijd worden vervangen. Gebruik alleen identieke koolborstels.
Illustratie van koolborstels met limietmarkering

  1. Limietmarkering

Gebruik een schroevendraaier om de borstelhouderdoppen te verwijderen. Haal de versleten koolborstels eruit, plaats de nieuwe en zet de borstelhouderdoppen vast.
Illustratie van het vervangen van koolborstels

  1. Schroevendraaier
  2. Borstelhouderdop

Plaats na het vervangen van de borstels de accu in het gereedschap en breek de borstels in door het gereedschap ongeveer 1 minuut zonder belasting te laten draaien. Controleer vervolgens het gereedschap tijdens het draaien en de werking van de elektrische rem wanneer u de schakelaar loslaat. Als de elektrische rem niet goed werkt, vraag dan uw plaatselijke Makita-servicecentrum om reparatie.
Om de VEILIGHEID en BETROUWBAARHEID van het product te behouden, moeten reparaties, ander onderhoud of afstellingen worden uitgevoerd door erkende Makita-servicecentra of fabrieksservicecentra, waarbij altijd Makita-onderdelen worden gebruikt.

OPTIONELE ACCESSOIRES

Voorzichtigheid geboden

  • Deze accessoires of hulpstukken worden aanbevolen voor gebruik met uw Makita-gereedschap dat in deze handleiding wordt gespecificeerd. Het gebruik van andere accessoires of hulpstukken kan een risico op persoonlijk letsel opleveren. Gebruik accessoires of hulpstukken alleen voor het beoogde doel.

Als u meer informatie over deze accessoires nodig heeft, neem dan contact op met uw plaatselijke Makita-servicecentrum.

  • SDS-Plus hardmetalen boren
  • Beitel
  • Koude beitel
  • Afsteekbeitel
  • Groefbeitel
  • Boorkopmontage
  • Boorkop S13
  • Boorkopadapter
  • Boorkopsleutel S13
  • Bitvet
  • Zijhandgreep
  • Dieptemeter
  • Blaasbalg
  • Stofbeker
  • Stofafzuighulpstuk
  • Veiligheidsbril
  • Kunststof draagkoffer
  • Snelspanboorkop
  • Originele Makita-accu en -oplader

OPMERKING:

  • Sommige items in de lijst kunnen als standaardaccessoires in de gereedschapset zitten. Ze kunnen van land tot land verschillen.

Download handleiding

Hier kunt u de volledige pdf-versie van de handleiding downloaden. Deze kan aanvullende veiligheidsinstructies, garantie-informatie, FCC-regels, enz. bevatten.

Download Makita XRH04 Handleiding

Beschikbare talen

Inhoudsopgave