Shimano TIAGRA RD-4500 - Priručnik za stražnji mjenjač

Uvod
Kako biste ostvarili najbolje performanse, preporučujemo korištenje sljedeće kombinacije.
| Serija | TIAGRA | |
| Ručica mjenjača | ST-4500 / R600 / 5510 / 6510 SL-7710 / R440 / R660 / BS77 | ST-4500 /R600 / 5510 / 6510 SL-R440 / R650 |
| Brzine | 18 | 27 |
| Vanjsko kućište | SIS-SP41 | |
| Stražnji mjenjač | RD-4500-SS | RD-4500-GS |
| Tip | SS | GS |
| Freehub | FH-4500 | |
| Kazetni lančanik | CS-HG50-9 | |
| Lanac | CN-HG53 | |
| Vodlica sajle donjeg nosača | SM-SP17 | |
Specifikacije
| Tip | SS | GS |
| Ukupni kapacitet | 31 zub ili manje | 37 zuba ili manje |
| Najveći lančanik | 27T | 27T |
| Najmanji lančanik | 11T | 11T |
| Razlika u broju zuba prednjeg lančanika | 16 zuba ili manje | 22 zuba ili manje |
Montaža stražnjeg mjenjača
Prilikom montaže, pazite da ne dođe do deformacije zbog toga što vijak za podešavanje B-tenzije dolazi u kontakt s ušicom okvira.

Duljina lanca

Podešavanje hoda i osiguranje sajle
- Gornje podešavanje
Okrenite vijak za gornje podešavanje kako biste podesili da vodilica remenice bude ispod vanjske linije najmanjeg lančanika gledano odostraga.
![Shimano - TIAGRA RD-4500 - Gornje podešavanje Gornje podešavanje]()
- Spajanje i osiguranje sajle
Spojite sajlu na stražnji mjenjač i, nakon što uklonite početni labavost u sajli, ponovno je osigurajte na stražnji mjenjač kao što je prikazano na slici.
![Shimano - TIAGRA RD-4500 - Spajanje i osiguranje sajle Spajanje i osiguranje sajle]()
Moment pritezanja:
5 - 7 N·m {44 - 60 in. lbs.}Napomena:
Pazite da je sajla sigurno u utoru.
![Shimano - TIAGRA RD-4500 - sajla je u utoru sajla je u utoru]()
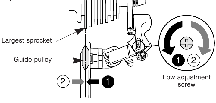
- Donje podešavanje
Okrenite vijak za donje podešavanje tako da se vodilica remenice pomakne u položaj izravno u liniji s najvećim lančanikom.![Shimano - TIAGRA RD-4500 - Donje podešavanje Donje podešavanje]()
- Kako koristiti vijak za podešavanje B-tenzije
Postavite lanac na najmanji lančanik i najveći lančanik, i okrenite ručicu pogona unatrag. Zatim okrenite vijak za podešavanje B-tenzije kako biste podesili vodilicu remenice što je moguće bliže lančaniku, ali ne toliko blizu da ga dodiruje. Zatim postavite lanac na najmanji lančanik i ponovite gore navedeno kako biste bili sigurni da remenica ne dodiruje lančanik.
![Shimano - TIAGRA RD-4500 - vijak za podešavanje B-tenzije vijak za podešavanje B-tenzije]()
- SIS podešavanje
Aktivirajte ručicu mjenjača nekoliko puta kako biste pomaknuli lanac na 2. lančanik. Zatim, dok pritišćete ručicu taman toliko da uklonite slobodni hod u ručici, okrenite ručicu pogona. ručicu pogona.
![Shimano - TIAGRA RD-4500 - SIS podešavanje SIS podešavanje]()

* Vratite ručicu u prvobitni položaj (položaj u kojem je ručica na postavci 2. lančanika i otpuštena) i zatim okrenite ručicu pogona u smjeru kazaljke na satu. Ako lanac dodiruje 3. lančanik i stvara buku, okrenite cilindar za podešavanje vanjskog kućišta u smjeru kazaljke na satu lagano kako biste ga zategnuli dok buka ne prestane i lanac ne radi glatko.
Aktivirajte ručicu za promjenu brzina i provjerite da se ne pojavljuje buka u bilo kojem od položaja brzina.
Za najbolje SIS performanse, povremeno podmazujte sve dijelove za prijenos snage.
Opće sigurnosne informacije
- Koristite neutralni deterdžent za čišćenje lanca. Nemojte koristiti alkalne ili kisele deterdžente kao što su sredstva za čišćenje hrđe jer to može dovesti do oštećenja i/ili kvara lanca.
- Koristite ojačani spojni pin samo za spajanje uskog tipa lanca.
- Postoje dvije različite vrste ojačanih spojnih pinova. Obavezno provjerite tablicu u nastavku prije odabira koji pin koristiti. Ako se koriste spojni pinovi koji nisu ojačani spojni pinovi, ili ako se koristi ojačani spojni pin ili alat koji nije prikladan za vrstu lanca, možda se neće dobiti dovoljna sila spajanja, što bi moglo uzrokovati pucanje ili otpadanje lanca.
| Lanac | Ojačani spojni pin | Alat za lanac |
| 9-brzinski super uski lanac kao što je CN-7701 / CN-HG93 | ![]() | TL-CN32 / TL-CN24 |
| 8- / 7- / 6-brzinski uski lanac kao što je CN-HG50 / CN-IG51 | ![]() | TL-CN32 / TL-CN24 |
- Ako je potrebno podesiti duljinu lanca zbog promjene u broju zuba lančanika, napravite rez na nekom drugom mjestu osim na mjestu gdje je lanac spojen pomoću ojačanog spojnog pina ili završnog pina. Lanac će biti oštećen ako se reže na mjestu gdje je spojen s ojačanim spojnim pinom ili završnim pinom.
![Shimano - TIAGRA RD-4500 - ojačani spojni pin ojačani spojni pin]()
- Provjerite je li napetost lanca ispravna i da lanac nije oštećen. Ako je napetost preslaba ili je lanac oštećen, lanac treba zamijeniti. Ako se to ne učini, lanac se može slomiti i uzrokovati ozbiljne ozljede.
- Nabavite i pažljivo pročitajte upute za servis prije instaliranja dijelova. Labavi, istrošeni ili oštećeni dijelovi mogu uzrokovati ozljede vozača. Preporučujemo samo korištenje originalnih Shimano zamjenskih dijelova.
- Pažljivo pročitajte ove Tehničke upute za servis i čuvajte ih na sigurnom mjestu za kasniju upotrebu.
Napomena
- Ako se operacije prebacivanja brzina ne mogu izvoditi glatko, očistite mjenjač i podmažite sve pokretne dijelove.
- Ako je količina labavosti u karikama toliko velika da podešavanje nije moguće, trebali biste zamijeniti mjenjač.
- Povremeno biste trebali očistiti mjenjač i podmazati sve pokretne dijelove (mehanizam i remenice).
- Ako se ne može izvršiti podešavanje prebacivanja brzina, provjerite stupanj paralelnosti na stražnjem kraju bicikla. Također provjerite je li sajla podmazana i je li vanjsko kućište predugo ili prekratko.
- Ako čujete neuobičajenu buku kao rezultat labavosti u remenici, trebali biste zamijeniti remenicu.
- Za glatki rad, koristite specificirano vanjsko kućište i vodilicu sajle donjeg nosača.
- Podmažite unutarnju sajlu i unutrašnjost vanjskog kućišta prije uporabe kako biste osigurali da klize pravilno.
- Okvir s unutarnjim usmjeravanjem sajle se strogo ne preporučuje jer ima tendenciju narušavanja SIS funkcije prebacivanja zbog visokog otpora sajle.
- Dijelovi nemaju jamstvo protiv prirodnog trošenja ili propadanja uslijed normalne uporabe.
- Za maksimalne performanse preporučujemo Shimano maziva i proizvode za održavanje.
- Za sva pitanja u vezi s metodama ugradnje, podešavanja, održavanja ili rada, obratite se profesionalnom prodavaču bicikala.
SHIMANO AMERICAN CORPORATION
One Holland, Irvine, California 92618, U.S.A. Telefon: +1-949-951-5003
SHIMANO EUROPE B.V.
Industrieweg 24, 8071 CT Nunspeet, The Netherlands Telefon: +31-341-272222
SHIMANO INC.
3-77 Oimatsu-cho Sakai-ku, Sakai, Osaka 590-8577, Japan
Napomena:
specifikacije su podložne promjenama radi poboljšanja bez prethodne najave. (Engleski)
© Ožujak 2006. od strane Shimano Inc.

Preuzmi priručnik
Ovdje možete preuzeti punu pdf verziju priručnika, koja može sadržavati dodatne sigurnosne upute, informacije o jamstvu, FCC pravila, itd.
Preuzmi Shimano TIAGRA RD-4500 - Priručnik za stražnji mjenjač








