Star futurePRNT ECO TSP100, TSP143IIU Manuál
- 1 Vybalenie a inštalácia
- 2 Vlastnosti produktu
- 3 Nastavenie
- 4 Pripevnenie príslušenstva
- 5 Špecifikácia termálneho kotúčového papiera
- 6 Ovládací panel a ďalšie funkcie
- 7 Predchádzanie zaseknutiu papiera a jeho odstránenie
- 8 Pravidelné čistenie
- 9 Referencie
- 10 Stiahnuť návod
- 11 V iných jazykoch

Vybalenie a inštalácia
Vybalenie
Po vybalení jednotky skontrolujte, či sú v balení všetky potrebné príslušenstvá.

Obr. 1-1 Vybalenie
Ak niečo chýba, kontaktujte predajcu, u ktorého ste tlačiareň zakúpili, a požiadajte ho o doplnenie chýbajúcej časti. Upozorňujeme, že je dobré uschovať si pôvodnú škatuľu a všetok obalový materiál pre prípad, že by ste museli tlačiareň znova zabaliť a poslať ju niekam neskôr.
Výber miesta pre tlačiareň
Pred samotným vybalením tlačiarne by ste si mali nájsť pár minút na to, aby ste si premysleli, kde ju plánujete používať. Pri tom pamätajte na nasledujúce body.
- Vyberte si pevný, rovný povrch, kde tlačiareň nebude vystavená vibráciám.
- Zásuvka, do ktorej plánujete pripojiť napájanie, by mala byť v blízkosti a nezakrytá.
- Uistite sa, že tlačiareň je dostatočne blízko k hostiteľskému počítaču, aby ste ich mohli prepojiť.
- Uistite sa, že tlačiareň nie je vystavená priamemu slnečnému žiareniu.
- Uistite sa, že tlačiareň je v dostatočnej vzdialenosti od ohrievačov a iných zdrojov extrémneho tepla.
- Uistite sa, že okolie je čisté, suché a bez prachu.
- Uistite sa, že tlačiareň je pripojená k spoľahlivej elektrickej zásuvke. Nemala by byť v rovnakom elektrickom obvode ako kopírky, chladničky alebo iné spotrebiče, ktoré spôsobujú napäťové špičky.
- Uistite sa, že miestnosť, v ktorej tlačiareň používate, nie je príliš vlhká.
- Pri likvidácii tlačiarne dodržiavajte miestne predpisy.
- Toto zariadenie používa jednosmerný motor a spínače, ktoré majú elektrický kontaktný bod. Nepoužívajte zariadenie v prostrediach, kde sa môže silikónový plyn stať prchavým.
- Ak zariadenie produkuje dym, zvláštny zápach alebo nezvyčajný hluk, okamžite ho vypnite. Okamžite odpojte zariadenie a požiadajte o radu svojho predajcu.
- Nikdy sa nepokúšajte tento výrobok sami opraviť. Nesprávna oprava môže byť nebezpečná.
- Nikdy tento výrobok nerozoberajte ani neupravujte. Neoprávnené zásahy do tohto výrobku môžu viesť k zraneniu, požiaru alebo úrazu elektrickým prúdom.
Názvoslovie

Vlastnosti produktu
Vlastnosti produktu
- Táto tlačiareň nie je vybavená vypínačom. Tlačiareň sa zapne, keď sa zapne počítač, ku ktorému je tlačiareň pripojená.
- Po vysunutí papiera sa rolka papiera previnie späť, aby sa zmenšil okraj na prednom okraji papiera, čím sa zníži množstvo použitého papiera.
- Množstvo použitého papiera sa znižuje pomocou malej tlače.
- Keď počítač prejde do pohotovostného režimu alebo do režimu dlhodobého spánku, tlačiareň automaticky prejde do režimu pripravenosti na tlač alebo do režimu vypnutia systému, aby sa znížila spotreba energie.
- Keď tlačiareň netlačí, automaticky prejde do režimu pripravenosti na tlač, aby sa znížila spotreba energie, kým čaká na ďalšiu tlačovú úlohu.
(Avšak v závislosti od konfigurácie počítača a prostredia pripojenia nemusí vyššie uvedená funkcia fungovať.)
Prevádzkové režimy
- Režim vypnutia systému Keď je počítač vypnutý, tlačiareň sa vypne.
- Režim pripravenosti na tlač Keď tlačiareň netlačí, automaticky prejde do režimu pripravenosti na tlač, aby sa znížila spotreba energie.
- Tlač Tlačiareň tlačí (vrátane posúvania rolky papiera)
Nastavenie
Pripojenie napájacieho kábla
- Skontrolujte štítok na zadnej alebo spodnej strane tlačiarne, aby ste sa uistili, že jej napätie zodpovedá napätiu sieťovej zásuvky. Tiež sa uistite, že zástrčka na napájacom kábli zodpovedá sieťovej zásuvke.
- Ak napájací kábel nie je pripojený k tlačiarni, zasuňte príslušný koniec do vstupu AC na zadnej strane tlačiarne.
- Zasuňte napájací kábel do riadne uzemnenej sieťovej zásuvky.
![Star - futurePRNT ECO TSP100 - Pripojenie napájacieho kábla Pripojenie napájacieho kábla]()
Ak napätie uvedené na štítku na spodnej strane vašej tlačiarne nezodpovedá napätiu vo vašej oblasti, okamžite kontaktujte svojho predajcu.
Odporúčame vám odpojiť tlačiareň od elektrickej zásuvky vždy, keď ju neplánujete dlhší čas používať. Z tohto dôvodu by ste mali tlačiareň umiestniť tak, aby bola elektrická zásuvka, do ktorej je zapojená, v blízkosti a ľahko dostupná.
Pripojenie USB kábla k tlačiarni
Preveďte kábel cez podperu kábla, ako je znázornené na obrázku. Potom pripojte kábel USB rozhrania k tlačiarni.

Bezpečnostné opatrenia týkajúce sa USB pripojení
- V závislosti od nastavení a konfigurácií nemusí tlačiareň správne fungovať s niektorými počítačmi, aj keď spĺňajú podmienky pre prostredie pripojenia. Okrem toho sa nezaručuje prevádzka pre pripojenia cez rozbočovač USB alebo rozširujúcu dosku USB alebo pre doma vyrobené alebo upravené počítače.
- Pripojte kábel USB priamo do portu USB počítača. Ak je tlačiareň pripojená cez rozbočovač USB alebo iné zariadenie, tlačiareň nemusí správne fungovať.
- Táto tlačiareň vyžaduje elektrický prúd 100 mA/USB port alebo viac počas určitého časového obdobia počas operácií, ako je spustenie. Ak je elektrický prúd menší ako 100 mA, nasledujúce zariadenia môžu fungovať nesprávne.
- Táto tlačiareň
- Zariadenia pripojené k ostatným portom USB počítača
Pripojenie k periférnej jednotke
K tlačiarni môžete pripojiť periférnu jednotku pomocou modulárnej zástrčky. Nasledujúci text popisuje, ako nainštalovať feritové jadro a vykonať skutočné pripojenie. Upozorňujeme, že táto tlačiareň sa nedodáva s modulárnou zástrčkou alebo káblom, takže je na vás, aby ste si zaobstarali takú, ktorá vyhovuje vašim potrebám.
Pred pripojením sa uistite, že je tlačiareň vypnutá a odpojená od elektrickej zásuvky a že je počítač vypnutý.
- Pripojte kábel periférnej jednotky ku konektoru na zadnom paneli tlačiarne.
Nezapájajte telefónnu linku do konektora periférnej jednotky. Nedodržanie tohto pokynu môže viesť k poškodeniu tlačiarne.
Tiež z bezpečnostných dôvodov nepripájajte káble ku konektoru externej jednotky, ak existuje možnosť, že by mohol viesť periférne napätie.

Zapnutie a vypnutie napájania
Táto tlačiareň nie je vybavená vypínačom.
- Na zapnutie tlačiarne sú potrebné nasledujúce štyri podmienky.
- Počítač je zapnutý.
- Napájací kábel tlačiarne je zapojený do elektrickej zásuvky.
- Tlačiareň je pripojená k počítaču pomocou kábla USB.
- Prepínač spánku je nastavený na Aktívny, ak je k dispozícii.
![Star - futurePRNT ECO TSP100 - Zapnutie a vypnutie napájania Zapnutie a vypnutie napájania]()
- Ak tlačiareň nefunguje správne, odpojte napájací kábel a odpojte kábel USB, aby ste tlačiareň vypli.
Zapnutie napájania (režim pripravenosti na tlač)
Existujú dva spôsoby, ako zapnúť napájanie. Ak je k dispozícii prepínač spánku, skontrolujte, či je nastavený na Aktívny.

- Ručné zapnutie napájania
Uistite sa, že je napájací kábel tlačiarne zapojený do elektrickej zásuvky. Pripojte kábel USB do portu USB počítača, ktorý je zapnutý. Keď je kábel USB pripojený, tlačiareň sa zapne a rozsvieti sa kontrolka POWER (NAPÁJANIE) na ovládacom paneli. - Automatické zapnutie napájania
Uistite sa, že je napájací kábel tlačiarne zapojený do elektrickej zásuvky. Uistite sa, že je kábel USB pripojený k portu USB počítača, ktorý je vypnutý. Keď sa počítač zapne, tlačiareň sa zapne a rozsvieti sa kontrolka POWER (NAPÁJANIE) na ovládacom paneli.
Vypnutie napájania (režim vypnutia systému)
Existujú dva spôsoby, ako vypnúť napájanie.

- Ručné vypnutie napájania
Odpojte kábel USB. Ak je k dispozícii prepínač spánku, môžete napájanie vypnúť aj nastavením prepínača spánku na Sleep (Spánok). - Automatické vypnutie napájania
Vypnite počítač. Tlačiareň sa tiež vypne, keď počítač prejde do pohotovostného režimu alebo hibernácie.
V tomto stave tlačiareň prijíma malé množstvo energie a stále pracuje. Ak chcete napájanie úplne vypnúť, odpojte kábel USB a napájací kábel.
- V závislosti od počítača, ktorý je pripojený k tlačiarni, nemusí tlačiareň prejsť do režimu vypnutia systému, aj keď je počítač vypnutý.
- V závislosti od typu použitého rozbočovača nemusí tlačiareň prejsť do režimu vypnutia systému, aj keď je počítač vypnutý.
Bezpečnostné opatrenia týkajúce sa USB pripojení
- V závislosti od nastavení a konfigurácií nemusí tlačiareň správne fungovať s niektorými počítačmi, aj keď spĺňajú podmienky pre prostredie pripojenia. Okrem toho sa nezaručuje prevádzka pre pripojenia cez rozbočovač USB alebo rozširujúcu dosku USB alebo pre doma vyrobené alebo upravené počítače.
- Pripojte kábel USB priamo do portu USB počítača. Ak je tlačiareň pripojená cez rozbočovač USB alebo iné zariadenie, tlačiareň nemusí správne fungovať.
- Táto tlačiareň vyžaduje elektrický prúd 100 mA/USB port alebo viac počas určitého časového obdobia počas operácií, ako je spustenie. Ak je elektrický prúd menší ako 100 mA, nasledujúce zariadenia môžu fungovať nesprávne.
- Táto tlačiareň
- Zariadenia pripojené k ostatným portom USB počítača
Vloženie kotúča papiera
Použitie kotúča papiera so šírkou 79,5 mm
Uistite sa, že používate kotúč papiera, ktorý zodpovedá špecifikácii tlačiarne.
Ak používate kotúč papiera so šírkou 57,5 mm, nainštalujte držiak kotúča papiera podľa popisu na nasledujúcej strane.
- Zatlačte na páčku otvorenia krytu a otvorte kryt tlačiarne.
![]()
- Pri sledovaní smeru kotúča vložte kotúč papiera do dutiny a potiahnite za predný okraj papiera smerom k sebe.
Nevyťahujte koniec papiera diagonálne, pretože to spôsobí zaseknutie alebo skosenie papiera.

- Zatlačte obe strany krytu tlačiarne, aby ste ho zatvorili.
![]()
Poznámka: Uistite sa, že je kryt tlačiarne bezpečne zatvorený.
- Ak je kryt tlačiarne zatvorený po zapnutí napájania, rezačka sa automaticky spustí a predný koniec papiera sa odreže.
Použitie kotúča papiera so šírkou 57,5 mm
Ak používate kotúč papiera so šírkou 57,5 mm, nainštalujte dodaný vodič papiera na tlačiareň. Ak chcete zmeniť efektívnu šírku tlače (šírku kotúča papiera), zmeňte nastavenie položky Print Width (Šírka tlače) v časti Configuration (Konfigurácia). Podrobnosti o nastavení položky Print Width (Šírka tlače) nájdete v softvérovom manuáli, ktorý sa nachádza v priečinkoch "Documents" (Dokumenty) na disku CD-ROM.
- Vložte držiak kotúča papiera do jednotky, pričom dbajte na to, aby ste sa nedotkli pomocného valčeka, a potom vložte držiak do otvorov, ako je znázornené.
![]()
- Zaistite vodič papiera zatlačením na oblasť označenú "A", kým nezapadne na miesto.
![]()
Poznámka: Po použití kotúča papiera so šírkou 57,5 mm nepoužívajte kotúč papiera so šírkou 79,5 mm. (Je to preto, že sa tlačová hlava zhoršila v dôsledku toho, že časť hlavy bola v priamom kontakte s valcom.)
Symbol upozornenia

Tieto štítky sa nachádzajú v blízkosti termálnej tlačovej hlavy.
Keďže je termálna tlačová hlava horúca ihneď po tlači, nedotýkajte sa jej. Statická elektrina môže poškodiť termálnu tlačovú hlavu. Na ochranu termálnej tlačovej hlavy pred statickou elektrinou sa jej nedotýkajte.
Tento symbol je umiestnený v blízkosti rezačky. Nikdy sa nedotýkajte čepele rezačky, pretože by ste si mohli poraniť prsty.
Tento symbol je umiestnený v blízkosti konektora periférneho pohonu. Nepripájajte ho k telefónu.
Tento symbol alebo pečiatka je umiestnená v blízkosti skrutiek, ktoré zaisťujú kryt alebo ochrannú dosku, ktoré by nemali otvárať iné osoby ako servisný personál. Osoby iné ako servisný personál by nemali odstraňovať tieto skrutky. Oblasti s vysokým napätím v kryte môžu byť nebezpečné.

- Nedotýkajte sa čepele rezačky.
- Vnútri otvoru na výstup papiera sa nachádza rezačka. Nielenže by ste nemali vkladať ruku do otvoru na výstup papiera počas tlače, ale nikdy nevkladajte ruku do otvoru, ani keď tlač neprebieha.
- Kryt tlačiarne je možné otvoriť pri výmene papiera. Keďže je však čepeľ rezačky na vnútornej strane krytu tlačiarne, dávajte pozor, aby ste si tvár alebo ruky neumiestnili príliš blízko k čepeli rezačky.
- Počas tlače a ihneď po nej je oblasť okolo termálnej hlavy veľmi horúca. Nedotýkajte sa jej, pretože by ste sa mohli popáliť.
- Ak zariadenie produkuje dym, zvláštny zápach alebo nezvyčajný hluk, okamžite ho odpojte od elektrickej siete a požiadajte o radu svojho predajcu.
- Nikdy sa nepokúšajte opraviť tento produkt sami. Nesprávna oprava môže byť nebezpečná.
- Nikdy tento produkt nerozoberajte ani neupravujte. Manipulácia s týmto produktom môže viesť k zraneniu, požiaru alebo úrazu elektrickým prúdom.
- Nepoužívajte páčku otvorenia krytu, keď rukou tlačíte na kryt tlačiarne.
- Netlačte na páčku otvorenia krytu a neotvárajte kryt tlačiarne, keď prebieha tlač alebo keď pracuje automatická rezačka.
- Nevytláčajte papier, keď je kryt tlačiarne zatvorený.
- Vykurovací prvok a budiaci integrovaný obvod termálnej hlavy sa ľahko poškodia. Nedotýkajte sa ich kovovými predmetmi, brúsnym papierom atď.
- Ak sa vykurovací prvok termálnej hlavy znečistí dotykom rúk, môže sa znížiť kvalita tlače. Nedotýkajte sa vykurovacieho prvku termálnej hlavy.
- Existuje riziko poškodenia budiaceho integrovaného obvodu termálnej hlavy statickou elektrinou. Nikdy sa priamo nedotýkajte integrovaného obvodu.
- Kvalitu tlače a životnosť termálnej hlavy nemožno zaručiť, ak sa použije iný ako odporúčaný papier. Najmä papier obsahujúci [Na+, K+, C1-] môže výrazne znížiť životnosť termálnej hlavy. Buďte opatrní.
- Nepoužívajte tlačiareň, ak je na prednej strane hlavy vlhkosť spôsobená kondenzáciou atď.
- Potlačený kus termálneho papiera sa môže nabiť elektrickým nábojom. Ak je tlačiareň umiestnená vertikálne alebo namontovaná na stene, odrezaný kus papiera sa môže prilepiť na tlačiareň namiesto toho, aby spadol. Uvedomte si, že to môže spôsobiť problém, ak používate zakladač, ktorý ukladá voľne padajúce kusy papiera.
- Počas používania nemeňte šírku papiera. Termálna tlačová hlava, gumový valček a rezačka sa opotrebúvajú odlišne v závislosti od šírky papiera. To môže spôsobiť poruchu tlače alebo pohybu rezačky.
- Neprepravujte tlačiareň s otvoreným krytom a držaním za kryt.
- Nenápadne ťahajte za kábel rozhrania, napájací kábel alebo kábel zásuvky na peniaze, ktoré sú pripojené. Ak chcete odpojiť konektor, uchopte ho v časti konektora a nepoužívajte nadmerné namáhanie konektora na tlačiarni.
- Ak sa vaša tlačiareň zasekne, musíte ju resetovať odpojením a zapojením kábla USB. Intervaly na odpojenie a zapojenie musia byť však 5 sekúnd alebo viac. Kratší interval môže spôsobiť poruchu.
- Nevypínajte počítač ani ho neprepínajte do pohotovostného režimu počas tlače.
- Neodpájajte napájací kábel ani neodpájajte kábel USB počas jeho prevádzky.
Poznámky k používaniu automatickej rezačky
- Ak sa rezačka po chybe nenachádza v domácej polohe, najprv odstráňte príčinu chyby; potom znova zapnite napájanie.
- Odporúča sa okraj 5 mm alebo viac od konca potlačenej oblasti po polohu rezu.
- Nepokúšajte sa odstrániť papier počas rezu, pretože to môže spôsobiť zaseknutie papiera
Pripevnenie príslušenstva
Nasledujúce príslušenstvo je potrebné pri montáži tlačiarne na stenu.
- Horné vedenie a dve prírubové skrutky
- Držiak a dve skrutky bez príruby
Nasledujúce príslušenstvo je potrebné pri vertikálnom umiestnení tlačiarne.
- Horné vedenie a dve prírubové skrutky
- Štyri gumové nožičky
Pripevnenie horného vedenia
- Zatlačte na páčku otvorenia krytu a otvorte kryt tlačiarne.
- Nasaďte horné vedenie na hriadeľ, kým západky na vedení nezacvaknú na svoje miesto.
- Utiahnite dve skrutky (prírubové skrutky M3x6), ktoré boli dodané na zaistenie horného vedenia na mieste.
![Star - futurePRNT ECO TSP100 - Pripevnenie horného vedenia Pripevnenie horného vedenia]()
![]()
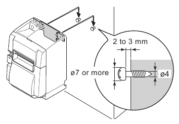
Pripevnenie držiaka
- Držiak sa pripevní k tlačiarni pomocou priložených skrutiek a zahákne sa na skrutky, ktoré sú namontované do steny.
- Skrutky na stene nie sú súčasťou balenia. Použite komerčne dostupné skrutky (priemer 4 mm), ktoré sú vhodné pre materiál steny (drevo, oceľový nosník, betón atď.).
- Hmotnosť tlačiarne je približne 2,4 kg, keď je vložený papier v rolke s najväčším priemerom. Použite skrutky na stene, ktoré majú šmykovú pevnosť aj pevnosť v ťahu, aby odolali sile najmenej 12 kgf (118 N).
Bezpečnostné opatrenia týkajúce sa inštalácie
Toto upozornenie označuje informácie, ktorých ignorovanie by mohlo viesť k zraneniu osôb alebo poškodeniu majetku.
- Uistite sa, že kvalifikovaný personál nainštaluje špecifikované skrutky a tlačiareň na stenu.
Spoločnosť Star nezodpovedá za žiadne nehody alebo zranenia, ktoré sa vyskytnú v dôsledku nesprávnej inštalácie, nesprávneho používania alebo úprav.
Najmä pri inštalácii tlačiarne na vysokom mieste sa uistite, že je tlačiareň bezpečne nainštalovaná na stene.
Ak tlačiareň nie je bezpečne nainštalovaná a spadne, môže dôjsť k zraneniu osôb alebo poškodeniu tlačiarne. - Uistite sa, že montážny povrch a inštalačné skrutky sú dostatočne pevné na inštaláciu tlačiarne.
Bezpečne nainštalujte tlačiareň tak, aby hmotnosť tlačiarne a akýchkoľvek pripojených káblov nespôsobila pád tlačiarne.
V opačnom prípade môže dôjsť k zraneniu osôb alebo poškodeniu tlačiarne. - Neinštalujte tlačiareň na nestabilné miesto alebo na miesto, ktoré je vystavené vibráciám a otrasom.
Ak tlačiareň spadne, môže dôjsť k zraneniu osôb alebo poškodeniu tlačiarne.
- Pripevnite držiak na tlačiareň. Potom utiahnite dve skrutky, ktoré boli dodané na jeho zaistenie na mieste.
![Star - futurePRNT ECO TSP100 - Pripevnenie držiaka - Krok 1 Pripevnenie držiaka - Krok 1]()
- Umiestnite tlačiareň nad skrutky atď. na stene a potom ju posuňte smerom nadol, aby ste ju umiestnili na miesto. Po nastavení tlačiarne na miesto znova skontrolujte skrutky na stene, aby ste sa uistili, že sú schopné uniesť hmotnosť tlačiarne.
![Star - futurePRNT ECO TSP100 - Pripevnenie držiaka - Krok 2 Pripevnenie držiaka - Krok 2]()
- Hmotnosť tlačiarne je približne 2,4 kg, keď je vložený papier v rolke s najväčším priemerom.
- Použite skrutky na stene, ktoré majú šmykovú pevnosť aj pevnosť v ťahu, aby odolali sile najmenej 12 kgf (118 N).
- Zatlačte na páčku otvorenia krytu a otvorte kryt tlačiarne.
- Vložte papier v rolke, ako je znázornené na obrázku.
![Star - futurePRNT ECO TSP100 - Pripevnenie držiaka - Krok 3 Pripevnenie držiaka - Krok 3]()
Pripevnenie gumových nožičiek
- Pripevnite štyri gumové nožičky na miesta znázornené na obrázku. Pred pripevnením gumových nožičiek sa uistite, že ste úplne utreli všetky nečistoty.
![Star - futurePRNT ECO TSP100 - Pripevnenie gumových nožičiek - Krok 1 Pripevnenie gumových nožičiek - Krok 1]()
- Zatlačte na páčku otvorenia krytu a otvorte kryt tlačiarne.
- Vložte papier v rolke, ako je znázornené na obrázku.
![Star - futurePRNT ECO TSP100 - Pripevnenie gumových nožičiek - Krok 2 Pripevnenie gumových nožičiek - Krok 2]()
Špecifikácia termálneho kotúčového papiera
Keď sa spotrebný materiál minie, použite ten, ktorý je uvedený nižšie.
Špecifikácie vyhovujúcich kotúčov papiera
| Hrúbka | 65~85 µm | |
| Šírka | 79,5±0,5 mm (57,5±0,5 mm, keď sa používa držiak valčeka papiera) | |
| Vonkajší priemer rolky | ø83 mm alebo menej | |
| Šírka kotúčového papiera | 80+ 0.5-1 mm alebo (58+ 0.5-1 mm, keď sa používa držiak valčeka papiera) | |
| Vonkajší/vnútorný priemer jadra | Vonkajšie jadro | ø18±1 mm |
| Vnútorné jadro | ø12±1 mm | |
| Potlačený povrch | Vonkajší okraj kotúča | |
Poznámka:
- Na pripevnenie kotúčového papiera alebo jeho jadra nepoužívajte pastu ani lepidlo.
- Neohýbajte koniec papiera.
- Pre informácie o odporúčanom papieri prejdite na nasledujúcu adresu URL.
http://www.starmicronics.com/support/
Ovládací panel a ďalšie funkcie
Ovládací panel

- POWER lampa (zelená LED) Svieti, keď je napájanie ZAPNUTÉ.
Táto tlačiareň nie je vybavená vypínačom. Po zapojení napájacieho kábla do zásuvky bude tlačiareň prvýkrát zapnutá, keď je USB kábel pripojený k zapnutému počítaču.
- ERROR lampa (červená LED)
Indikuje rôzne chyby v kombinácii s POWER lampou. - FEED button (podávacie tlačidlo)
Stlačením FEED button (podávacie tlačidlo) podáte kotúčový papier.
Indikátor lampy
- Stav tlačiarne
| Stav | POWER Lampa | ERROR Lampa |
| Tlač | Zapnutá | Vypnutá |
| Pripravené na tlač | Zapnutá | Vypnutá |
| Systém vypnutý | Vypnutá | Vypnutá |
| Chyby | Pozrite si nasledujúcu stranu. | Pozrite si nasledujúcu stranu. |
Poznámka: V závislosti od použitého USB portu môže trvať krátky čas, kým tlačiareň prejde do režimu vypnutia systému po vypnutí počítača.
- Automaticky obnoviteľné chyby
| Popis chyby | POWER Lampa | ERROR Lampa | Podmienky obnovenia |
| Chyba otvoreného krytu | Zapnutá | Zapnutá | Automaticky sa obnoví po zatvorení krytu tlačiarne. |
| Chyba odpojenia napájacieho kábla | Bliká v 0,5-sekundových intervaloch *1 | Bliká v 0,5-sekundových intervaloch *1 | Automaticky sa obnoví po zapojení napájacieho kábla do zásuvky. |
| Detekcia vysokej teploty hlavy | Bliká v 0,5-sekundových intervaloch | Vypnutá | Automaticky sa obnoví po vychladnutí tlačovej hlavy. |
| Detekcia vysokej teploty dosky | Bliká v 2-sekundových intervaloch | Vypnutá | Automaticky sa obnoví po zatvorení krytu tlačiarne. |
*1: POWER a ERROR lampy blikajú striedavo. Ak sa súčasne vyskytnú chyby napätia VM a VCC, zobrazí sa chyba odpojenia napájacieho kábla, aj keď je kábel pripojený do zásuvky. V takýchto prípadoch odpojte napájací kábel zo zásuvky a potom ho znova pripojte. Potom pripojte USB kábel k PC, keď je zapnuté napájanie.
| Popis chyby | POWER Lampa | ERROR Lampa | Podmienky obnovenia |
| Chyba nedostatku papiera | Zapnutá | Bliká v 0,5-sekundových intervaloch | Automaticky sa obnoví vložením novej rolky papiera a následným zatvorením krytu tlačiarne. |
- Neobnoviteľné chyby
| Popis chyby | POWER Lampa | ERROR Lampa | Podmienky obnovenia |
| Chyba termistora hlavy | Bliká v 0,5-sekundových intervaloch | Bliká v 0,5-sekundových intervaloch | Neobnoviteľná |
| Chyba termistora dosky | Bliká v 2-sekundových intervaloch | Bliká v 2-sekundových intervaloch | Neobnoviteľná |
| Chyba napätia VM | Vypnutá | Bliká v 1-sekundových intervaloch | Neobnoviteľná |
| Chyba napätia VCC | Bliká v 1-sekundových intervaloch | Bliká v 1-sekundových intervaloch | Neobnoviteľná |
| Chyba energeticky nezávislej pamäte | Bliká v 0,25-sekundových intervaloch | Bliká v 0,25-sekundových intervaloch | Neobnoviteľná |
| Chyba USB | Bliká v 5-sekundových intervaloch | Bliká v 5-sekundových intervaloch | Neobnoviteľná |
| Chyba CPU | Vypnutá | Vypnutá | Neobnoviteľná |
| Chyba RAM | Vypnutá | Zapnutá | Neobnoviteľná |
Poznámka:
- Ak sa vyskytne neobnoviteľná chyba, okamžite vypnite napájanie.
- Ak sa vyskytne neobnoviteľná chyba, obráťte sa na predajcu so žiadosťou o opravu.
- Chyba odrezania papiera
| Popis chyby | POWER Lampa | ERROR Lampa | Podmienky obnovenia |
| Chyba odrezania papiera | Vypnutá | Bliká v 0,125-sekundových intervaloch | Pre verziu firmvéru 1.1 alebo novšiu: Otvorte kryt tlačiarne. Odstráňte príčinu (zaseknutý papier) chyby a zatvorte kryt tlačiarne. Potom sa tlačiareň obnoví. Pre verziu firmvéru 1.0 alebo ak sa kryt tlačiarne nedá otvoriť kvôli zámku rezačky: Postupujte podľa krokov opísaných v časti Uvoľnenie zablokovanej rezačky. |
Poznámka: Ak sa rezačka nevráti do svojej východiskovej polohy alebo nevykoná počiatočný pohyb, bude to mať za následok neobnoviteľnú chybu.
- Chyba nedostatku papiera
| Popis chyby | POWER Lampa | ERROR Lampa | Podmienky obnovenia |
| Chyba nedostatku papiera | Zapnutá | Bliká v 0,5-sekundových intervaloch | Automaticky sa obnoví vložením novej rolky papiera a následným zatvorením krytu tlačiarne. |
Samotlač
Testovacia tlač
- Uistite sa, že je počítač zapnutý.
- Uistite sa, že je napájací kábel tlačiarne zapojený do zásuvky.
- Počas držania FEED button (podávacieho tlačidla) pripojte USB kábel k počítaču.
Začne sa testovacia tlač. Vytlačí sa číslo verzie a nastavenia tlačiarne.
Po spustení tlače tlačiarne uvoľnite ruku z FEED button (podávacieho tlačidla).
Po dokončení samotlače sa tlačiareň spustí v normálnom režime.

Predchádzanie zaseknutiu papiera a jeho odstránenie
Predchádzanie zaseknutiu papiera
Počas vysúvania a pred odrezaním by ste sa nemali papiera dotýkať.
Stláčanie alebo ťahanie papiera počas vysúvania môže spôsobiť zaseknutie papiera, zlyhanie odrezania papiera alebo zlyhanie posuvu riadkov.
Odstránenie zaseknutého papiera
Ak dôjde k zaseknutiu papiera, odstráňte ho, ako je popísané nižšie.
- Odpojte napájací kábel a odpojte USB kábel.
- Zatlačením páčky smerom k sebe otvorte kryt tlačiarne.
- Odstráňte zaseknutý papier.
Poznámka: Aby ste predišli poškodeniu alebo deformácii dielov, ako je tepelná hlava alebo gumový valec, ťahajte za papier nasilu, keď je kryt tlačiarne zatvorený.
- Umiestnite rolku papiera rovno a jemne zatvorte kryt tlačiarne.
Poznámka 1: Uistite sa, že je papier umiestnený rovno. Ak je kryt tlačiarne zatvorený so skoseným papierom, môže dôjsť k zaseknutiu papiera.
Poznámka 2: Zaistite kryt tlačiarne zatlačením na boky. Nesnažte sa ho zatvoriť zatlačením na stred. Kryt sa nemusí správne zaistiť.
- Zapojte napájací kábel do zásuvky a pripojte USB kábel k zapnutému počítaču. Potom sa uistite, že ERROR LED nesvieti.
Poznámka: Keď svieti ERROR LED, tlačiareň nebude akceptovať žiadne príkazy, ako napríklad príkaz na tlač, preto sa uistite, že je kryt tlačiarne správne zaistený.
Výstražný symbol

Tieto štítky sa nachádzajú v blízkosti tepelnej tlačovej hlavy. Pretože je tepelná tlačová hlava horúca ihneď po tlači, nedotýkajte sa jej. Statická elektrina môže poškodiť tepelnú tlačovú hlavu. Aby ste chránili tepelnú tlačovú hlavu pred statickou elektrinou, nedotýkajte sa jej.
Tento symbol je umiestnený v blízkosti rezačky. Nikdy sa nedotýkajte čepele rezačky, pretože by ste si mohli poraniť prsty.
Tento symbol je umiestnený v blízkosti konektora periférneho pohonu. Nepripájajte ho k telefónu.
Tento symbol alebo pečiatka je umiestnená v blízkosti skrutiek, ktoré upevňujú puzdro alebo ochrannú dosku, ktoré by nemali otvárať iné osoby ako servisný personál. Jednotlivci, ktorí nie sú servisným personálom, by nemali tieto skrutky odstraňovať. Oblasti s vysokým napätím v puzdre môžu byť nebezpečné.

Uvoľnenie zablokovanej rezačky
Ak sa automatická rezačka zablokuje, odpojte USB kábel a odpojte napájací kábel, aby ste tlačiareň vypli. Potom znova pripojte USB kábel a zapojte napájací kábel, aby ste tlačiareň zapli. Ak reštartovanie tlačiarne neuvoľní zablokovanú rezačku, postupujte podľa krokov uvedených nižšie.
Keďže práca na rezačke môže byť nebezpečná, pred začatím práce tlačiareň vypnite.
- Odpojte napájací kábel a odpojte USB kábel.
- Odstráňte predný kryt, aby ste odkryli automatickú rezačku.

- Odstráňte všetok zaseknutý papier.
Dávajte pozor, aby ste pri odstraňovaní zaseknutého papiera nepoškodili tlačiareň. Keďže je tepelná tlačová hlava obzvlášť citlivá, nedotýkajte sa jej.
- Vložte krížový skrutkovač do otvoru na manuálnu obsluhu na boku rezačky a otáčajte ním v smere šípky znázornenej vpravo, kým sa neotvorí zadný kryt.
Ak sa kryt tlačiarne nedá ľahko otvoriť, neotvárajte kryt tlačiarne nasilu. Obráťte sa na predajcu so žiadosťou o opravu.

- Otvorte kryt tlačiarne, odstráňte všetok zaseknutý papier a potom znova nainštalujte rolku papiera.
- Nainštalujte predný kryt.
Pravidelné čistenie
Tlačené znaky môžu byť čiastočne nejasné v dôsledku nahromadeného papierového prachu a nečistôt. Aby sa predišlo takémuto problému, papierový prach nahromadený v držiaku papiera a v časti pre posun papiera a na povrchu termálnej hlavy sa musí pravidelne odstraňovať.
Takéto čistenie sa odporúča vykonávať raz za šesť mesiacov alebo po jednom milióne riadkov.
Čistenie termálnej hlavy
Ak chcete odstrániť tmavý papierový prach, ktorý sa nahromadil na povrchu termálnej hlavy, utrite ju dočista vatovým tampónom (alebo mäkkou handričkou) namočeným v alkohole (etanole, metanole alebo izopropylalkohole).
Poznámka 1: Termálna hlava sa ľahko poškodí, preto ju čistite mäkkou handričkou a dávajte pozor, aby ste ju nepoškriabali.
Poznámka 2: Nepokúšajte sa čistiť termálnu hlavu ihneď po tlači, keď je termálna hlava horúca.
Poznámka 3: Dávajte pozor na riziko poškodenia termálnej hlavy v dôsledku statickej elektriny, ktorá môže vzniknúť počas čistenia.
Poznámka 4: Zapnite napájanie až po úplnom vyschnutí alkoholu.
Čistenie gumového valčeka
Na utretie prachu, ktorý sa mohol nahromadiť na gumovom valčeku, použite suchú, mäkkú handričku. Otáčaním valca vyčistite celý povrch.
Čistenie držiaka papiera a okolitého priestoru
Vyčistite držiak papiera od nečistôt, prachu, častíc papiera, lepidla atď., ktoré sa mohli nahromadiť.

Referencie
Stiahnuť návod
Tu si môžete stiahnuť úplnú verziu návodu vo formáte pdf, môže obsahovať ďalšie bezpečnostné pokyny, informácie o záruke, pravidlá FCC atď.
Stiahnuť Star futurePRNT ECO TSP100, TSP143IIU Manuál












