GIGABYTE B650M AORUS PRO AX, 650M AORUS PRO, 50M AORUS ELITE AX, 50M AORUS ELITE - Εγχειρίδιο μητρικής πλακέτας
- 1 Αναγνώριση της αναθεώρησης της μητρικής πλακέτας σας
- 2 Εισαγωγή προϊόντος
-
3
Εγκατάσταση υλικού
- 3.1 Προφυλάξεις εγκατάστασης
- 3.2 Προδιαγραφές προϊόντος
- 3.3 Εγκατάσταση της CPU και του ψυγείου CPU
- 3.4 Εγκατάσταση της μνήμης
- 3.5 Εγκατάσταση κάρτας επέκτασης
- 3.6 Συνδέσεις πίσω πλαισίου
-
3.7
Εσωτερικές Συνδέσεις
- 3.7.1 ATX_12V/ATX (Υποδοχή ρεύματος 2x4 12V και Υποδοχή κύριου ρεύματος 2x12)
- 3.7.2 CPU_FAN/SYS_FAN1/2/3 (Υποδοχές ανεμιστήρα)
- 3.7.3 SYS_FAN4_PUMP (Υποδοχή ανεμιστήρα συστήματος/αντλίας ψύξης νερού)
- 3.7.4 CPU_OPT (Υποδοχή ανεμιστήρα CPU/αντλίας ψύξης νερού)
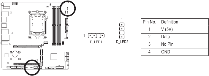
- 3.7.5 D_LED1/D_LED2 (Διευθυνσιοδοτούμενες υποδοχές ταινίας LED)
- 3.7.6 CPU_LED (Υποδοχή ταινίας LED ψύκτρας CPU/ταινίας RGB LED)
- 3.7.7 LED_C1/LED_C2 (Υποδοχές ταινίας RGB LED)
- 3.7.8 SATA3 0/1/2/3 (Υποδοχές SATA 6Gb/s)
- 3.7.9 BAT (Μπαταρία)
- 3.7.10 M2A_CPU/M2B_CPU (Υποδοχές M.2 Socket 3)
- 3.7.11 F_PANEL (Επικεφαλίδα μπροστινού πίνακα)
- 3.7.12 F_AUDIO (Επικεφαλίδα ήχου μπροστινού πίνακα)
- 3.7.13 F_U320G (Επικεφαλίδα USB Type-C με υποστήριξη USB 3.2 Gen 2x2)
- 3.7.14 F_U32 (Επικεφαλίδα USB 3.2 Gen 1)
- 3.7.15 F_USB1/F_USB2 (Επικεφαλίδες USB 2.0/1.1)
- 3.7.16 SPI_TPM (Επικεφαλίδα Trusted Platform Module)
- 3.7.17 COM (Επικεφαλίδα σειριακής θύρας)
- 3.7.18 THB_U4 (Σύνδεσμος κάρτας πρόσθετης λειτουργίας)
- 3.7.19 RST_SW/RST (Κουμπί Επαναφοράς/Ζεύγος Επαναφοράς)
- 3.7.20 CLR_CMOS (Ζεύγος Εκκαθάρισης CMOS)
- 4 Ρύθμιση BIOS
- 5 Εγκατάσταση του λειτουργικού συστήματος και των προγραμμάτων οδήγησης
- 6 Διαμόρφωση συνόλου RAID
- 7 Επικοινωνήστε μαζί μας
- 8 Αναφορές
- 9 Λήψη εγχειριδίου
- 10 Σε άλλες γλώσσες

Αναγνώριση της αναθεώρησης της μητρικής πλακέτας σας
Ο αριθμός αναθεώρησης στη μητρική πλακέτα σας μοιάζει με αυτόν: "REV: X.X." Για παράδειγμα, "REV: 1.0" σημαίνει ότι η αναθεώρηση της μητρικής πλακέτας είναι 1.0. Ελέγξτε την αναθεώρηση της μητρικής πλακέτας σας πριν από την ενημέρωση του BIOS της μητρικής πλακέτας, των προγραμμάτων οδήγησης ή όταν αναζητάτε τεχνικές πληροφορίες.
Παράδειγμα:

Εισαγωγή προϊόντος
Διάταξη μητρικής πλακέτας

- Μόνο για B650M AORUS PRO AX.
- Μόνο για B650M AORUS ELITE AX.
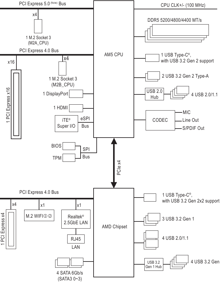
Διάγραμμα μπλοκ μητρικής πλακέτας

- Μόνο για B650M AORUS PRO AX.
- Μόνο για B650M AORUS ELITE AX.
(Σημείωση) Η πραγματική υποστήριξη ενδέχεται να διαφέρει ανάλογα με την CPU.
Εγκατάσταση υλικού
Προφυλάξεις εγκατάστασης
Η μητρική πλακέτα περιέχει πολυάριθμα ευαίσθητα ηλεκτρονικά κυκλώματα και εξαρτήματα που μπορεί να υποστούν ζημιά ως αποτέλεσμα ηλεκτροστατικής εκφόρτισης (ESD). Πριν από την εγκατάσταση, διαβάστε προσεκτικά το εγχειρίδιο χρήστη και ακολουθήστε αυτές τις διαδικασίες:
- Πριν από την εγκατάσταση, βεβαιωθείτε ότι το πλαίσιο είναι κατάλληλο για τη μητρική πλακέτα.
- Πριν από την εγκατάσταση, μην αφαιρέσετε ή σπάσετε το αυτοκόλλητο S/N (σειριακός αριθμός) της μητρικής πλακέτας ή το αυτοκόλλητο εγγύησης που παρέχεται από τον αντιπρόσωπό σας. Αυτά τα αυτοκόλλητα απαιτούνται για την επικύρωση της εγγύησης.
- Να αφαιρείτε πάντα την τροφοδοσία AC αποσυνδέοντας το καλώδιο ρεύματος από την πρίζα πριν εγκαταστήσετε ή αφαιρέσετε τη μητρική πλακέτα ή άλλα εξαρτήματα υλικού.
- Όταν συνδέετε εξαρτήματα υλικού στις εσωτερικές υποδοχές της μητρικής πλακέτας, βεβαιωθείτε ότι είναι συνδεδεμένα σφιχτά και με ασφάλεια.
- Όταν χειρίζεστε τη μητρική πλακέτα, αποφύγετε να αγγίζετε μεταλλικά καλώδια ή συνδέσμους.
- Είναι καλύτερο να φοράτε έναν ιμάντα καρπού ηλεκτροστατικής εκφόρτισης (ESD) όταν χειρίζεστε ηλεκτρονικά εξαρτήματα, όπως μια μητρική πλακέτα, CPU ή μνήμη. Εάν δεν έχετε ιμάντα καρπού ESD, κρατήστε τα χέρια σας στεγνά και αγγίξτε πρώτα ένα μεταλλικό αντικείμενο για να εξαλείψετε τον στατικό ηλεκτρισμό.
- Πριν από την εγκατάσταση της μητρικής πλακέτας, τοποθετήστε την πάνω σε ένα αντιστατικό μαξιλάρι ή μέσα σε ένα ηλεκτροστατικό δοχείο θωράκισης.
- Πριν συνδέσετε ή αποσυνδέσετε το καλώδιο τροφοδοσίας από τη μητρική πλακέτα, βεβαιωθείτε ότι το τροφοδοτικό έχει απενεργοποιηθεί.
- Πριν ενεργοποιήσετε το ρεύμα, βεβαιωθείτε ότι η τάση του τροφοδοτικού έχει ρυθμιστεί σύμφωνα με το τοπικό πρότυπο τάσης.
- Πριν χρησιμοποιήσετε το προϊόν, βεβαιωθείτε ότι όλα τα καλώδια και οι σύνδεσμοι ρεύματος του υλικού σας εξαρτήματα είναι συνδεδεμένα.
- Για να αποφύγετε ζημιά στη μητρική πλακέτα, μην αφήνετε τις βίδες να έρθουν σε επαφή με το κύκλωμα της μητρικής πλακέτας ή τα εξαρτήματά της.
- Βεβαιωθείτε ότι δεν υπάρχουν βίδες ή μεταλλικά εξαρτήματα που έχουν απομείνει τοποθετημένα στη μητρική πλακέτα ή μέσα στο περίβλημα του υπολογιστή.
- Μην τοποθετείτε το σύστημα του υπολογιστή σε μια ανώμαλη επιφάνεια.
- Μην τοποθετείτε το σύστημα του υπολογιστή σε περιβάλλον υψηλής θερμοκρασίας ή υγρό.
- Η ενεργοποίηση του υπολογιστή κατά τη διάρκεια της διαδικασίας εγκατάστασης μπορεί να οδηγήσει σε ζημιά στα εξαρτήματα του συστήματος καθώς και σε σωματική βλάβη στον χρήστη.
- Εάν δεν είστε βέβαιοι για κάποιο βήμα εγκατάστασης ή έχετε κάποιο πρόβλημα που σχετίζεται με τη χρήση του προϊόντος, συμβουλευτείτε έναν πιστοποιημένο τεχνικό υπολογιστών.
- Εάν χρησιμοποιείτε έναν προσαρμογέα, ένα καλώδιο επέκτασης ρεύματος ή μια πολύπριζο, φροντίστε να συμβουλευτείτε τις οδηγίες εγκατάστασης ή/και γείωσης.
Προδιαγραφές προϊόντος



* Η GIGABYTE διατηρεί το δικαίωμα να προβεί σε οποιεσδήποτε αλλαγές στις προδιαγραφές του προϊόντος και στις πληροφορίες που σχετίζονται με το προϊόν χωρίς προηγούμενη ειδοποίηση.
- Μόνο για B650M AORUS PRO AX.
- Μόνο για B650M AORUS ELITE AX.
(Σημείωση) Η πραγματική υποστήριξη ενδέχεται να διαφέρει ανάλογα με την CPU.
Επισκεφθείτε τη σελίδα SERVICE/SUPPORT\Utility στην ιστοσελίδα της GIGABYTE για να κατεβάσετε την τελευταία έκδοση των εφαρμογών.
https://www.gigabyte.com/Support/Utility/Motherboard?m=ut
Εγκατάσταση της CPU και του ψυγείου CPU
Διαβάστε τις ακόλουθες οδηγίες πριν ξεκινήσετε την εγκατάσταση της CPU:
- Βεβαιωθείτε ότι η μητρική πλακέτα υποστηρίζει την CPU. (Μεταβείτε στην ιστοσελίδα της GIGABYTE για την πιο πρόσφατη λίστα υποστήριξης CPU.)
- Να απενεργοποιείτε πάντα τον υπολογιστή και να αποσυνδέετε το καλώδιο ρεύματος από την πρίζα πριν εγκαταστήσετε την CPU για να αποφύγετε ζημιά στο υλικό.
- Εντοπίστε τον ακροδέκτη ένα της CPU. Η CPU δεν μπορεί να τοποθετηθεί εάν είναι λανθασμένα προσανατολισμένη. (Ή μπορείτε να εντοπίσετε τις εγκοπές και στις δύο πλευρές της CPU και τα κλειδιά ευθυγράμμισης στην υποδοχή CPU.)
- Εφαρμόστε μια ομοιόμορφη και λεπτή στρώση θερμικής πάστας στην επιφάνεια της CPU.
- Μην ενεργοποιείτε τον υπολογιστή εάν δεν έχει εγκατασταθεί το ψυγείο CPU, διαφορετικά μπορεί να προκληθεί υπερθέρμανση και ζημιά στην CPU.
- Ρυθμίστε τη συχνότητα κεντρικού υπολογιστή CPU σύμφωνα με τις προδιαγραφές της CPU. Δεν συνιστάται η ρύθμιση της συχνότητας του διαύλου συστήματος πέρα από τις προδιαγραφές του υλικού, επειδή δεν πληροί τις τυπικές απαιτήσεις για τα περιφερειακά. Εάν θέλετε να ρυθμίσετε τη συχνότητα πέρα από τις τυπικές προδιαγραφές, κάντε το σύμφωνα με τις προδιαγραφές του υλικού σας, συμπεριλαμβανομένης της CPU, της κάρτας γραφικών, της μνήμης, του σκληρού δίσκου κ.λπ.
Σημειώστε τον προσανατολισμό της CPU
Σημειώστε τα κλειδιά ευθυγράμμισης στην υποδοχή CPU της μητρικής πλακέτας και τις εγκοπές στην CPU.
Μην αφαιρέσετε το κάλυμμα της υποδοχής CPU πριν εισαγάγετε την CPU. Μπορεί να ξεκολλήσει αυτόματα από την πλάκα φορτίου αφού εισαγάγετε την CPU και κλείσετε την πλάκα φορτίου.
Επισκεφθείτε την ιστοσελίδα της GIGABYTE για λεπτομέρειες σχετικά με την εγκατάσταση υλικού.
http://www.gigabyte.com/WebPage/210/quick-guide.html?m=sw
Εγκατάσταση της CPU
Ακολουθήστε τα παρακάτω βήματα για να εγκαταστήσετε σωστά την CPU στην υποδοχή CPU της μητρικής πλακέτας.
- Πιέστε απαλά τη λαβή του μοχλού της υποδοχής CPU προς τα κάτω και μακριά από την υποδοχή.
- Ανασηκώστε εντελώς τον μοχλό ασφάλισης της υποδοχής CPU.
- Με τα δάχτυλά σας, κρατήστε το πλαστικό προστατευτικό κάλυμμα που είναι συνδεδεμένο στη μεταλλική πλάκα φορτίου για να σηκώσετε και να ανοίξετε τη μεταλλική πλάκα φορτίου.
- Κρατήστε την CPU με τα δάχτυλά σας από τις άκρες. Ευθυγραμμίστε τη σήμανση του ακροδέκτη ένα της CPU (τρίγωνο) με τη γωνία του ακροδέκτη ένα της υποδοχής CPU (ή μπορείτε να ευθυγραμμίσετε τις εγκοπές της CPU με τα κλειδιά ευθυγράμμισης της υποδοχής) και τοποθετήστε απαλά την CPU στη θέση της.
![GIGABYTE - B650M AORUS PRO AX - Εγκατάσταση της CPU - Βήμα 2 Εγκατάσταση της CPU - Βήμα 2]()
- Βεβαιωθείτε ότι η CPU είναι σωστά εγκατεστημένη και, στη συνέχεια, κλείστε την πλάκα φορτίου. Ασφαλίστε τον μοχλό της υποδοχής κάτω από την καρτέλα συγκράτησης. Το πλαστικό προστατευτικό κάλυμμα θα ξεκολλήσει από μόνο του και μπορεί να αφαιρεθεί.
* Να αντικαθιστάτε πάντα το πλαστικό προστατευτικό κάλυμμα όταν δεν είναι εγκατεστημένη η CPU για να προστατεύετε την υποδοχή CPU.
![GIGABYTE - B650M AORUS PRO AX - Εγκατάσταση της CPU - Βήμα 3 Εγκατάσταση της CPU - Βήμα 3]()
Μην ασκήσετε δύναμη για να εμπλέξετε τον μοχλό ασφάλισης της υποδοχής CPU όταν η CPU δεν είναι εγκατεστημένη σωστά, καθώς αυτό θα προκαλούσε ζημιά στην CPU και στην υποδοχή CPU.
Εγκατάσταση του ψυγείου CPU
Φροντίστε να εγκαταστήσετε το ψυγείο CPU μετά την εγκατάσταση της CPU. (Η πραγματική διαδικασία εγκατάστασης μπορεί να διαφέρει ανάλογα με το ψυγείο CPU που θα χρησιμοποιηθεί. Ανατρέξτε στο εγχειρίδιο χρήστη για το ψυγείο CPU σας.)
- Εφαρμόστε μια ομοιόμορφη και λεπτή στρώση θερμικής πάστας στην επιφάνεια της εγκατεστημένης CPU.
![]()
- Τύπος A:
![]()
Συνδέστε το κλιπ του ψυγείου CPU στην προεξοχή στήριξης στη μία πλευρά του πλαισίου συγκράτησης. Από την άλλη πλευρά, πιέστε ευθεία προς τα κάτω το κλιπ του ψυγείου CPU για να το συνδέσετε στην προεξοχή στήριξης στο πλαίσιο συγκράτησης. Γυρίστε τη λαβή έκκεντρου από την αριστερή πλευρά στη δεξιά πλευρά για να ασφαλίσετε στη θέση της.
Τύπος B:
![GIGABYTE - B650M AORUS PRO AX - Εγκατάσταση του ψυγείου CPU Εγκατάσταση του ψυγείου CPU]()
Αφαιρέστε πρώτα τις τέσσερις βίδες από το πλαίσιο συγκράτησης της CPU και αφαιρέστε το πλαίσιο συγκράτησης της CPU. Στη συνέχεια, ευθυγραμμίστε τις τέσσερις βίδες ώμου στο ψυγείο CPU με τα στηρίγματα από την πίσω πλάκα. Στερεώστε κάθε βίδα ώμου με ένα μοτίβο 1-2-3-4 (x) όπως φαίνεται παρακάτω.
![]()
* Όταν χρησιμοποιείτε ένα ψυγείο CPU τύπου B, δεν συνιστάται να σφίξετε κάθε βίδα μέχρι τέρμα σε ένα βήμα. Ακολουθήστε τη σειρά 1-2-3-4, σφίξτε τη βίδα δεξιόστροφα κατά 1 περιστροφή ανά βήμα. Επαναλάβετε τα βήματα 1-2-3-4 μέχρι να σφίξουν όλες οι βίδες. - Τέλος, συνδέστε τον σύνδεσμο ρεύματος του ψυγείου CPU στην κεφαλίδα του ανεμιστήρα CPU (CPU_FAN) στη μητρική πλακέτα.
![]()
Εγκατάσταση της μνήμης
Διαβάστε τις ακόλουθες οδηγίες πριν ξεκινήσετε την εγκατάσταση της μνήμης:
- Βεβαιωθείτε ότι η μητρική πλακέτα υποστηρίζει τη μνήμη. Συνιστάται να χρησιμοποιείται μνήμη της ίδιας χωρητικότητας, μάρκας, ταχύτητας και τσιπ. (Μεταβείτε στην ιστοσελίδα της GIGABYTE για τις πιο πρόσφατες υποστηριζόμενες ταχύτητες μνήμης και μονάδες μνήμης.)
- Να απενεργοποιείτε πάντα τον υπολογιστή και να αποσυνδέετε το καλώδιο ρεύματος από την πρίζα πριν εγκαταστήσετε τη μνήμη για να αποφύγετε ζημιά στο υλικό.
- Οι μονάδες μνήμης έχουν αλάνθαστο σχεδιασμό. Μια μονάδα μνήμης μπορεί να εγκατασταθεί μόνο σε μία κατεύθυνση. Εάν δεν μπορείτε να τοποθετήσετε τη μνήμη, αλλάξτε την κατεύθυνση.
Διαμόρφωση μνήμης διπλού καναλιού
Αυτή η μητρική πλακέτα παρέχει τέσσερις υποδοχές μνήμης και υποστηρίζει τεχνολογία διπλού καναλιού. Αφού εγκατασταθεί η μνήμη, το BIOS θα εντοπίσει αυτόματα τις προδιαγραφές και τη χωρητικότητα της μνήμης. Η ενεργοποίηση της λειτουργίας μνήμης διπλού καναλιού θα διπλασιάσει το αρχικό εύρος ζώνης μνήμης.

Οι τέσσερις υποδοχές μνήμης χωρίζονται σε δύο κανάλια και κάθε κανάλι έχει δύο υποδοχές μνήμης ως εξής:
- Κανάλι A: DDR5_A1, DDR5_A2
- Κανάλι B: DDR5_B1, DDR5_B2
* Συνιστώμενη διαμόρφωση μνήμης διπλού καναλιού:

(SS=Μονής όψης, DS=Διπλής όψης, "- -"=Χωρίς μνήμη)
Λόγω περιορισμών της CPU, διαβάστε τις ακόλουθες οδηγίες πριν εγκαταστήσετε τη μνήμη σε λειτουργία διπλού καναλιού.
- Η λειτουργία διπλού καναλιού δεν μπορεί να ενεργοποιηθεί εάν είναι εγκατεστημένη μόνο μία μονάδα μνήμης.
- Όταν ενεργοποιείτε τη λειτουργία διπλού καναλιού με δύο ή τέσσερις μονάδες μνήμης, συνιστάται να χρησιμοποιείται μνήμη της ίδιας χωρητικότητας, μάρκας, ταχύτητας και τσιπ.
Όταν εγκαθιστάτε μια μονή μονάδα μνήμης, συνιστούμε να την εγκαταστήσετε στην υποδοχή DDR5_A2 ή DDR5_B2.
Εγκατάσταση κάρτας επέκτασης
Διαβάστε τις ακόλουθες οδηγίες πριν ξεκινήσετε την εγκατάσταση μιας κάρτας επέκτασης:
- Βεβαιωθείτε ότι η μητρική πλακέτα υποστηρίζει την κάρτα επέκτασης. Διαβάστε προσεκτικά το εγχειρίδιο που συνόδευε την κάρτα επέκτασης.
- Απενεργοποιείτε πάντα τον υπολογιστή και αποσυνδέετε το καλώδιο τροφοδοσίας από την πρίζα πριν εγκαταστήσετε μια κάρτα επέκτασης για να αποφύγετε την πρόκληση ζημιάς στο υλικό.
Ακολουθήστε τα παρακάτω βήματα για να εγκαταστήσετε σωστά την κάρτα επέκτασης στην υποδοχή επέκτασης.
- Εντοπίστε μια υποδοχή επέκτασης που υποστηρίζει την κάρτα σας. Αφαιρέστε το μεταλλικό κάλυμμα της υποδοχής από το πίσω πλαίσιο του πλαισίου.
- Ευθυγραμμίστε την κάρτα με την υποδοχή και πιέστε την προς τα κάτω μέχρι να καθίσει πλήρως στην υποδοχή.
![GIGABYTE - B650M AORUS PRO AX - Εγκατάσταση κάρτας επέκτασης Εγκατάσταση κάρτας επέκτασης]()
- Βεβαιωθείτε ότι η κάρτα επέκτασης έχει τοποθετηθεί πλήρως στην υποδοχή της.
- Στερεώστε το μεταλλικό στήριγμα της κάρτας στο πίσω πλαίσιο του πλαισίου με μια βίδα.
- Αφού εγκαταστήσετε όλες τις κάρτες επέκτασης, επανατοποθετήστε το(τα) κάλυμμα(τα) του πλαισίου.
- Ενεργοποιήστε τον υπολογιστή σας. Εάν είναι απαραίτητο, μεταβείτε στο BIOS Setup για να κάνετε τις απαραίτητες αλλαγές στο BIOS για την(τις) κάρτα(ες) επέκτασης.
- Εγκαταστήστε το πρόγραμμα οδήγησης που παρέχεται με την κάρτα επέκτασης στο λειτουργικό σας σύστημα.
Συνδέσεις πίσω πλαισίου

- Q-Flash Plus Button (Κουμπί Q-Flash Plus) (Σημείωση)
Το Q-Flash Plus σας επιτρέπει να ενημερώσετε το BIOS όταν το σύστημά σας είναι απενεργοποιημένο (κατάσταση τερματισμού S5). Αποθηκεύστε το πιο πρόσφατο BIOS σε μια μονάδα USB και συνδέστε την στην αποκλειστική θύρα και, στη συνέχεια, μπορείτε τώρα να κάνετε flash το BIOS αυτόματα, απλώς πατώντας το κουμπί Q-Flash Plus. Το QFLED θα αναβοσβήνει όταν ξεκινήσουν οι δραστηριότητες αντιστοίχισης και flashing του BIOS και θα σταματήσει να αναβοσβήνει όταν ολοκληρωθεί το κύριο flashing του BIOS. - SMA Antenna Connectors (2T2R) (Συνδέσεις κεραίας SMA (2T2R))
![]()
Χρησιμοποιήστε αυτήν την υποδοχή για να συνδέσετε μια κεραία.
Σφίξτε τις κεραίες στις υποδοχές της κεραίας και, στη συνέχεια, στοχεύστε τις κεραίες σωστά για καλύτερη λήψη σήματος. - USB 2.0/1.1 Port (Θύρα USB 2.0/1.1)
Η θύρα USB υποστηρίζει την προδιαγραφή USB 2.0/1.1. Χρησιμοποιήστε αυτήν τη θύρα για συσκευές USB. - DisplayPort
Το DisplayPort προσφέρει ψηφιακή εικόνα και ήχο υψηλής ποιότητας, υποστηρίζοντας αμφίδρομη μετάδοση ήχου. Μπορείτε να χρησιμοποιήσετε αυτήν τη θύρα για να συνδέσετε την οθόνη που υποστηρίζει DisplayPort. Σημείωση: Η τεχνολογία DisplayPort μπορεί να υποστηρίξει μέγιστη ανάλυση 3840x2160@144 Hz, αλλά οι πραγματικές υποστηριζόμενες αναλύσεις εξαρτώνται από την οθόνη που χρησιμοποιείται. - HDMI Port (Θύρα HDMI)
![]()
Η θύρα HDMI είναι συμβατή με HDCP 2.3 και υποστηρίζει μορφές Dolby TrueHD και DTS HD Master Audio. Υποστηρίζει επίσης έξοδο ήχου LPCM 7.1 καναλιών έως 192 KHz/24 bit. Μπορείτε να χρησιμοποιήσετε αυτήν τη θύρα για να συνδέσετε την οθόνη που υποστηρίζει HDMI. Η μέγιστη υποστηριζόμενη ανάλυση είναι 4096x2160@60 Hz, αλλά οι πραγματικές υποστηριζόμενες αναλύσεις εξαρτώνται από την οθόνη που χρησιμοποιείται.
Μετά την εγκατάσταση της συσκευής DisplayPort/HDMI, βεβαιωθείτε ότι έχετε ορίσει την προεπιλεγμένη συσκευή αναπαραγωγής ήχου σε DisplayPort/HDMI. (Το όνομα του στοιχείου ενδέχεται να διαφέρει ανάλογα με το λειτουργικό σας σύστημα.) - USB 3.2 Gen 1 Port (Θύρα USB 3.2 Gen 1)
Η θύρα USB 3.2 Gen 1 υποστηρίζει την προδιαγραφή USB 3.2 Gen 1 και είναι συμβατή με την προδιαγραφή USB 2.0. Χρησιμοποιήστε αυτήν τη θύρα για συσκευές USB. - USB Type-C® Port (with USB 3.2 Gen 2 Support) (Θύρα (με υποστήριξη USB 3.2 Gen 2))
Η αντιστρέψιμη θύρα USB υποστηρίζει την προδιαγραφή USB 3.2 Gen 2 και είναι συμβατή με την προδιαγραφή USB 3.2 Gen 1 και USB 2.0. Χρησιμοποιήστε αυτήν τη θύρα για συσκευές USB. - USB 3.2 Gen 1 Port (Θύρα USB 3.2 Gen 1)
Η θύρα USB 3.2 Gen 1 υποστηρίζει την προδιαγραφή USB 3.2 Gen 1 και είναι συμβατή με την προδιαγραφή USB 2.0. Χρησιμοποιήστε αυτήν τη θύρα για συσκευές USB. - RJ-45 LAN Port (Θύρα RJ-45 LAN)
Η θύρα Gigabit Ethernet LAN παρέχει σύνδεση στο Διαδίκτυο με ρυθμό δεδομένων έως και 2,5 Gbps. Τα παρακάτω περιγράφουν τις καταστάσεις των LED της θύρας LAN.
![GIGABYTE - B650M AORUS PRO AX - Θύρα RJ-45 LAN Θύρα RJ-45 LAN]()
- USB 3.2 Gen 2 Type-A Port (Red) (Θύρα USB 3.2 Gen 2 Type-A (Κόκκινη))
Η θύρα USB 3.2 Gen 2 υποστηρίζει την προδιαγραφή USB 3.2 Gen 2 και είναι συμβατή με την προδιαγραφή USB 3.2 Gen 1 και USB 2.0. Χρησιμοποιήστε αυτήν τη θύρα για συσκευές USB. - USB 3.2 Gen 2 Type-A Port (Red) (Q-Flash Plus Port) (Θύρα USB 3.2 Gen 2 Type-A (Κόκκινη) (Θύρα Q-Flash Plus))
Η θύρα USB 3.2 Gen 2 υποστηρίζει την προδιαγραφή USB 3.2 Gen 2 και είναι συμβατή με την προδιαγραφή USB 3.2 Gen 1 και USB 2.0. Χρησιμοποιήστε αυτήν τη θύρα για συσκευές USB. Πριν χρησιμοποιήσετε το Q-Flash Plus (Σημείωση), φροντίστε να εισαγάγετε πρώτα τη μονάδα flash USB σε αυτήν τη θύρα. - Line Out/Front Speaker Out (Έξοδος γραμμής/Έξοδος μπροστινού ηχείου)
Η υποδοχή εξόδου γραμμής. - Mic In/Rear Speaker Out (Είσοδος μικροφώνου/Έξοδος πίσω ηχείου)
Η υποδοχή εισόδου μικροφώνου. - Optical S/PDIF Out Connector (Οπτική υποδοχή εξόδου S/PDIF)
Αυτή η υποδοχή παρέχει ψηφιακή έξοδο ήχου σε ένα εξωτερικό σύστημα ήχου που υποστηρίζει ψηφιακό οπτικό ήχο. Πριν χρησιμοποιήσετε αυτήν τη δυνατότητα, βεβαιωθείτε ότι το σύστημα ήχου σας παρέχει μια οπτική ψηφιακή υποδοχή εισόδου ήχου.
Διαμορφώσεις υποδοχής ήχου:
![GIGABYTE - B650M AORUS PRO AX - Διαμορφώσεις υποδοχής ήχου Διαμορφώσεις υποδοχής ήχου]()
Μπορείτε να αλλάξετε τη λειτουργικότητα μιας υποδοχής ήχου χρησιμοποιώντας το λογισμικό ήχου. Για να διαμορφώσετε ήχο 7.1 καναλιών, αποκτήστε πρόσβαση στο λογισμικό ήχου για τις ρυθμίσεις ήχου.
Επισκεφθείτε τον ιστότοπο της GIGABYTE για λεπτομέρειες σχετικά με τη διαμόρφωση του λογισμικού ήχου.
https://www.gigabyte.com/WebPage/697/realtek897-audio.html
(Σημείωση) Για να ενεργοποιήσετε τη λειτουργία Q-Flash Plus, μεταβείτε στη σελίδα "Μοναδικά χαρακτηριστικά" του ιστότοπου της GIGABYTE για περισσότερες πληροφορίες.
- Μόνο για B650M AORUS PRO AX.
- Μόνο για B650M AORUS ELITE AX.
- Όταν αφαιρείτε το καλώδιο που είναι συνδεδεμένο σε μια υποδοχή πίσω πλαισίου, αφαιρέστε πρώτα το καλώδιο από τη συσκευή σας και, στη συνέχεια, αφαιρέστε το από τη μητρική πλακέτα.
- Όταν αφαιρείτε το καλώδιο, τραβήξτε το ευθεία έξω από την υποδοχή. Μην το μετακινείτε από τη μια πλευρά στην άλλη για να αποφύγετε ένα ηλεκτρικό βραχυκύκλωμα μέσα στην υποδοχή του καλωδίου.
Εσωτερικές Συνδέσεις

- ATX_12V
- ATX
- CPU_FAN
- SYS_FAN1/2/3
- SYS_FAN4_PUMP
- CPU_OPT
- D_LED1/D_LED2
- CPU_LED
- LED_C1/LED_C2
- SATA3 0/1/2/3
- BAT
- M2A_CPU/M2B_CPU
- F_PANEL
- F_AUDIO
- F_U320G
- F_U32
- F_USB1/F_USB2
- SPI_TPM
- COM
- THB_U4
- RST_SW/RST
- CLR_CMOS
Διαβάστε τις παρακάτω οδηγίες πριν συνδέσετε εξωτερικές συσκευές:
- Πρώτα βεβαιωθείτε ότι οι συσκευές σας συμμορφώνονται με τις συνδέσεις που θέλετε να συνδέσετε.
- Πριν εγκαταστήσετε τις συσκευές, φροντίστε να απενεργοποιήσετε τις συσκευές και τον υπολογιστή σας. Αποσυνδέστε το καλώδιο ρεύματος από την πρίζα για να αποφύγετε ζημιά στις συσκευές.
- Μετά την εγκατάσταση της συσκευής και πριν ενεργοποιήσετε τον υπολογιστή, βεβαιωθείτε ότι το καλώδιο της συσκευής έχει συνδεθεί με ασφάλεια στην υποδοχή της μητρικής πλακέτας.
ATX_12V/ATX (Υποδοχή ρεύματος 2x4 12V και Υποδοχή κύριου ρεύματος 2x12)
Με τη χρήση της υποδοχής ρεύματος, το τροφοδοτικό μπορεί να παρέχει αρκετή σταθερή ισχύ σε όλα τα εξαρτήματα της μητρικής πλακέτας. Πριν συνδέσετε την υποδοχή ρεύματος, βεβαιωθείτε πρώτα ότι το τροφοδοτικό είναι απενεργοποιημένο και ότι όλες οι συσκευές είναι σωστά εγκατεστημένες. Η υποδοχή ρεύματος διαθέτει μια αλάνθαστη σχεδίαση. Συνδέστε το καλώδιο τροφοδοσίας στην υποδοχή ρεύματος με τον σωστό προσανατολισμό.
Η υποδοχή ρεύματος 12V παρέχει κυρίως ρεύμα στην CPU. Εάν δεν είναι συνδεδεμένη η υποδοχή ρεύματος 12V, ο υπολογιστής δεν θα ξεκινήσει.
Για να ικανοποιηθούν οι απαιτήσεις επέκτασης, συνιστάται η χρήση ενός τροφοδοτικού που μπορεί να αντέξει υψηλή κατανάλωση ενέργειας (500W ή μεγαλύτερο). Εάν χρησιμοποιηθεί τροφοδοτικό που δεν παρέχει την απαιτούμενη ισχύ, το αποτέλεσμα μπορεί να οδηγήσει σε ένα ασταθές ή μη εκκινήσιμο σύστημα.

CPU_FAN/SYS_FAN1/2/3 (Υποδοχές ανεμιστήρα)
Όλες οι υποδοχές ανεμιστήρα σε αυτήν τη μητρική πλακέτα είναι 4 ακίδων. Οι περισσότερες υποδοχές ανεμιστήρα διαθέτουν αλάνθαστη σχεδίαση εισαγωγής. Όταν συνδέετε ένα καλώδιο ανεμιστήρα, φροντίστε να το συνδέσετε με τον σωστό προσανατολισμό (το μαύρο καλώδιο σύνδεσης είναι το καλώδιο γείωσης). Η λειτουργία ελέγχου ταχύτητας απαιτεί τη χρήση ανεμιστήρα με σχεδίαση ελέγχου ταχύτητας ανεμιστήρα. Για βέλτιστη απαγωγή θερμότητας, συνιστάται η εγκατάσταση ανεμιστήρα συστήματος μέσα στο πλαίσιο.

SYS_FAN4_PUMP (Υποδοχή ανεμιστήρα συστήματος/αντλίας ψύξης νερού)
Η υποδοχή ανεμιστήρα/αντλίας είναι 4 ακίδων. Οι περισσότερες υποδοχές ανεμιστήρα διαθέτουν αλάνθαστη σχεδίαση εισαγωγής. Όταν συνδέετε ένα καλώδιο ανεμιστήρα, φροντίστε να το συνδέσετε με τον σωστό προσανατολισμό (το μαύρο καλώδιο σύνδεσης είναι το καλώδιο γείωσης). Η λειτουργία ελέγχου ταχύτητας απαιτεί τη χρήση ανεμιστήρα με σχεδίαση ελέγχου ταχύτητας ανεμιστήρα. Για βέλτιστη απαγωγή θερμότητας, συνιστάται η εγκατάσταση ανεμιστήρα συστήματος μέσα στο πλαίσιο. Η υποδοχή παρέχει επίσης έλεγχο ταχύτητας για μια αντλία ψύξης νερού. Μεταβείτε στη σελίδα "BIOS Setup" (Ρύθμιση BIOS) του ιστότοπου της GIGABYTE και αναζητήστε το "Smart Fan 6" για περισσότερες πληροφορίες.

- Βεβαιωθείτε ότι έχετε συνδέσει τα καλώδια του ανεμιστήρα στις υποδοχές του ανεμιστήρα για να αποφύγετε την υπερθέρμανση της CPU και του συστήματός σας. Η υπερθέρμανση μπορεί να προκαλέσει ζημιά στην CPU ή το σύστημα μπορεί να κολλήσει.
- Αυτές οι υποδοχές ανεμιστήρα δεν είναι μπλοκ βραχυκυκλωτήρων διαμόρφωσης. Μην τοποθετείτε ένα καπάκι βραχυκυκλωτήρα στις υποδοχές.
CPU_OPT (Υποδοχή ανεμιστήρα CPU/αντλίας ψύξης νερού)
Η υποδοχή ανεμιστήρα/αντλίας είναι 4 ακίδων και διαθέτει αλάνθαστη σχεδίαση εισαγωγής. Οι περισσότερες υποδοχές ανεμιστήρα διαθέτουν αλάνθαστη σχεδίαση εισαγωγής. Όταν συνδέετε ένα καλώδιο ανεμιστήρα, φροντίστε να το συνδέσετε με τον σωστό προσανατολισμό (το μαύρο καλώδιο σύνδεσης είναι το καλώδιο γείωσης). Η λειτουργία ελέγχου ταχύτητας απαιτεί τη χρήση ανεμιστήρα με σχεδίαση ελέγχου ταχύτητας ανεμιστήρα.

D_LED1/D_LED2 (Διευθυνσιοδοτούμενες υποδοχές ταινίας LED)
Οι υποδοχές μπορούν να χρησιμοποιηθούν για τη σύνδεση μιας τυπικής διευθυνσιοδοτούμενης ταινίας LED 5050, με μέγιστη ονομαστική ισχύ 5A (5V) και μέγιστο αριθμό 1000 LED.

Συνδέστε τη διευθυνσιοδοτούμενη ταινία LED στην υποδοχή. Η ακίδα ρεύματος (που επισημαίνεται με ένα τρίγωνο στο βύσμα) της ταινίας LED πρέπει να είναι συνδεδεμένη στην ακίδα 1 της διευθυνσιοδοτούμενης υποδοχής ταινίας LED. Η λανθασμένη σύνδεση μπορεί να οδηγήσει σε ζημιά στην ταινία LED.
CPU_LED (Υποδοχή ταινίας LED ψύκτρας CPU/ταινίας RGB LED)
Η υποδοχή μπορεί να χρησιμοποιηθεί για τη σύνδεση μιας ταινίας LED ψύκτρας CPU ή μιας τυπικής ταινίας RGB LED 5050 (12V/G/R/B), με μέγιστη ονομαστική ισχύ 2A (12V) και μέγιστο μήκος 2m.

Συνδέστε την ταινία LED ψύκτρας CPU/ταινία RGB LED στην υποδοχή. Η ακίδα ρεύματος (που επισημαίνεται με ένα τρίγωνο στο βύσμα) της ταινίας LED πρέπει να είναι συνδεδεμένη στην ακίδα 1 (12V) αυτής της υποδοχής. Η λανθασμένη σύνδεση μπορεί να οδηγήσει σε ζημιά στην ταινία LED.

LED_C1/LED_C2 (Υποδοχές ταινίας RGB LED)
Οι υποδοχές μπορούν να χρησιμοποιηθούν για τη σύνδεση μιας τυπικής ταινίας RGB LED 5050 (12V/G/R/B), με μέγιστη ονομαστική ισχύ 2A (12V) και μέγιστο μήκος 2m.

Συνδέστε την ταινία RGB LED στην υποδοχή. Η ακίδα ρεύματος (που επισημαίνεται με ένα τρίγωνο στο βύσμα) της ταινίας LED πρέπει να είναι συνδεδεμένη στην ακίδα 1 (12V) αυτής της υποδοχής. Η λανθασμένη σύνδεση μπορεί να οδηγήσει σε ζημιά στην ταινία LED.

Για πληροφορίες σχετικά με τον τρόπο ενεργοποίησης/απενεργοποίησης των φώτων της ταινίας LED, μεταβείτε στη σελίδα "Unique Features" (Μοναδικά Χαρακτηριστικά) του ιστότοπου της GIGABYTE.
Πριν εγκαταστήσετε τις συσκευές, φροντίστε να απενεργοποιήσετε τις συσκευές και τον υπολογιστή σας. Αποσυνδέστε το καλώδιο ρεύματος από την πρίζα για να αποφύγετε ζημιά στις συσκευές.
SATA3 0/1/2/3 (Υποδοχές SATA 6Gb/s)
Οι υποδοχές SATA συμμορφώνονται με το πρότυπο SATA 6Gb/s και είναι συμβατές με τα πρότυπα SATA 3Gb/s και SATA 1,5Gb/s. Κάθε υποδοχή SATA υποστηρίζει μία μόνο συσκευή SATA. Οι υποδοχές SATA υποστηρίζουν RAID 0, RAID 1 και RAID 10. Μεταβείτε στη σελίδα "Configuring a RAID Set" (Διαμόρφωση συνόλου RAID) του ιστότοπου της GIGABYTE για οδηγίες σχετικά με τη διαμόρφωση ενός πίνακα RAID.

Για να ενεργοποιήσετε τη λειτουργία hot-plugging για τις θύρες SATA, μεταβείτε στη σελίδα "BIOS Setup" (Ρύθμιση BIOS) του ιστότοπου της GIGABYTE και αναζητήστε το "SATA Configuration" (Διαμόρφωση SATA) για περισσότερες πληροφορίες.
BAT (Μπαταρία)
Η μπαταρία παρέχει ρεύμα για να διατηρούνται οι τιμές (όπως οι διαμορφώσεις BIOS, οι πληροφορίες ημερομηνίας και ώρας) στην CMOS όταν ο υπολογιστής είναι απενεργοποιημένος. Αντικαταστήστε την μπαταρία όταν η τάση της μπαταρίας πέσει σε χαμηλό επίπεδο, διαφορετικά οι τιμές CMOS ενδέχεται να μην είναι ακριβείς ή ενδέχεται να χαθούν.

Μπορείτε να διαγράψετε τις τιμές της CMOS αφαιρώντας την μπαταρία:
- Απενεργοποιήστε τον υπολογιστή σας και αποσυνδέστε το καλώδιο τροφοδοσίας.
- Αφαιρέστε απαλά την μπαταρία από τη θήκη της μπαταρίας και περιμένετε ένα λεπτό. (Ή χρησιμοποιήστε ένα μεταλλικό αντικείμενο όπως ένα κατσαβίδι για να αγγίξετε τους θετικούς και αρνητικούς ακροδέκτες της θήκης της μπαταρίας, βραχυκυκλώνοντας τους για 5 δευτερόλεπτα.)
- Αντικαταστήστε την μπαταρία.
- Συνδέστε το καλώδιο τροφοδοσίας και επανεκκινήστε τον υπολογιστή σας.
- Να απενεργοποιείτε πάντα τον υπολογιστή σας και να αποσυνδέετε το καλώδιο τροφοδοσίας πριν αντικαταστήσετε την μπαταρία.
- Αντικαταστήστε την μπαταρία με μια ισοδύναμη. Ενδέχεται να προκληθεί ζημιά στις συσκευές σας εάν η μπαταρία αντικατασταθεί με ένα εσφαλμένο μοντέλο.
- Επικοινωνήστε με το μέρος αγοράς ή τον τοπικό αντιπρόσωπο εάν δεν μπορείτε να αντικαταστήσετε την μπαταρία μόνοι σας ή δεν είστε βέβαιοι για το μοντέλο της μπαταρίας.
- Κατά την εγκατάσταση της μπαταρίας, σημειώστε τον προσανατολισμό της θετικής πλευράς (+) και της αρνητικής πλευράς (-) της μπαταρίας (η θετική πλευρά πρέπει να είναι στραμμένη προς τα πάνω).
- Οι χρησιμοποιημένες μπαταρίες πρέπει να διαχειρίζονται σύμφωνα με τους τοπικούς περιβαλλοντικούς κανονισμούς.
M2A_CPU/M2B_CPU (Υποδοχές M.2 Socket 3)
Υπάρχουν δύο τύποι M.2 SSD: M.2 SATA SSD και M.2 PCIe SSD. Αυτή η μητρική πλακέτα υποστηρίζει μόνο M.2 PCIe SSD. Λάβετε υπόψη ότι ένα M.2 PCIe SSD δεν μπορεί να χρησιμοποιηθεί για τη δημιουργία ενός συνόλου RAID με έναν σκληρό δίσκο SATA. Μεταβείτε στη σελίδα "Configuring a RAID Set" (Διαμόρφωση συνόλου RAID) της ιστοσελίδας της GIGABYTE για οδηγίες σχετικά με τη διαμόρφωση μιας συστοιχίας RAID.

Ακολουθήστε τα παρακάτω βήματα για να εγκαταστήσετε σωστά ένα M.2 SSD στην υποδοχή M.2.
Βήμα 1:
Για να αποκτήσετε πρόσβαση στην υποδοχή M.2 που θέλετε να χρησιμοποιήσετε, ξεβιδώστε τις βίδες στη ψύκτρα της μητρικής πλακέτας διαγώνια για να αφαιρέσετε την ψύκτρα. Εντοπίστε την κατάλληλη οπή στήριξης για το M.2 SSD που θα εγκατασταθεί και, στη συνέχεια, εγκαταστήστε πρώτα το κλιπ M.2 EZ-Latch.

- Εάν θέλετε να εγκαταστήσετε ένα M.2 SSD που συνοδεύεται από τη δική του ψύκτρα, πρέπει πρώτα να αφαιρέσετε το κλιπ EZ-Latch και να χρησιμοποιήσετε τη βίδα και το στήριγμα που παρέχονται για να στερεώσετε το SSD.
- Εάν θέλετε να εγκαταστήσετε ένα M.2 SSD στην οπή 110 mm που έχει ήδη ένα στήριγμα ψύκτρας μητρικής πλακέτας, φροντίστε να αφαιρέσετε πρώτα το κλιπ EZ-Latch και να χρησιμοποιήσετε τη βίδα ψύκτρας μητρικής πλακέτας για να στερεώσετε την ψύκτρα και το SSD.
Βήμα 2:
Εισαγάγετε το M.2 SSD στην υποδοχή M.2 υπό γωνία. Πιέστε προς τα κάτω το μπροστινό άκρο του M.2 SSD και κλείστε το κλιπ M.2 EZ-Latch για να στερεώσετε το M.2 SSD.
Βήμα 3:
Αφαιρέστε την προστατευτική μεμβράνη από το κάτω μέρος της ψύκτρας της μητρικής πλακέτας και, στη συνέχεια, αντικαταστήστε την ψύκτρα και σφίξτε τις βίδες διαγώνια.
* Τύποι M.2 SSD που υποστηρίζονται από κάθε υποδοχή M.2:

Επισκεφθείτε την ιστοσελίδα της GIGABYTE για λεπτομέρειες σχετικά με τη χρήση του M.2 EZ-Latch.
Εγκαταστήστε το M.2 SSD: https://www.gigabyte.com/WebPage/919/M2-ezlatch.html
* Η σχεδίαση της ψύκτρας της μητρικής πλακέτας ενδέχεται να διαφέρει ανάλογα με το μοντέλο.
F_PANEL (Επικεφαλίδα μπροστινού πίνακα)
Συνδέστε τον διακόπτη λειτουργίας, τον διακόπτη επαναφοράς, το ηχείο, τον διακόπτη/αισθητήρα εισβολής στο περίβλημα και την ένδειξη κατάστασης συστήματος στο περίβλημα σε αυτήν την επικεφαλίδα σύμφωνα με τις παρακάτω αντιστοιχίσεις ακίδων. Σημειώστε τις θετικές και αρνητικές ακίδες πριν συνδέσετε τα καλώδια.

- PLED/PWR_LED (LED τροφοδοσίας):
LED κατάστασης συστήματος Συνδέεται στην ένδειξη κατάστασης τροφοδοσίας στην μπροστινή όψη του περιβλήματος. Το LED είναι αναμμένο όταν το σύστημα λειτουργεί. Το LED είναι σβηστό όταν το σύστημα βρίσκεται σε κατάσταση αναστολής λειτουργίας S3/S4 ή είναι απενεργοποιημένο (S5).Κατάσταση συστήματος LED S0 Αναμμένο S3/S4/S5 Σβηστό - PW (Διακόπτης τροφοδοσίας):
Συνδέεται στον διακόπτη λειτουργίας στην μπροστινή όψη του περιβλήματος. Μπορείτε να διαμορφώσετε τον τρόπο απενεργοποίησης του συστήματός σας χρησιμοποιώντας τον διακόπτη λειτουργίας (μεταβείτε στη σελίδα "BIOS Setup" (Ρύθμιση BIOS) της ιστοσελίδας της GIGABYTE και αναζητήστε το "Soft-Off by PWR-BTTN" για περισσότερες πληροφορίες). - SPEAK (Ηχείο):
Συνδέεται στο ηχείο στην μπροστινή όψη του περιβλήματος. Το σύστημα αναφέρει την κατάσταση εκκίνησης του συστήματος εκδίδοντας έναν κωδικό ηχητικού σήματος. Θα ακουστεί ένα μόνο σύντομο ηχητικό σήμα εάν δεν εντοπιστεί κανένα πρόβλημα κατά την εκκίνηση του συστήματος. - HD (LED δραστηριότητας σκληρού δίσκου):
Συνδέεται στο LED δραστηριότητας σκληρού δίσκου στην μπροστινή όψη του περιβλήματος. Το LED είναι αναμμένο όταν ο σκληρός δίσκος διαβάζει ή εγγράφει δεδομένα. - RES (Διακόπτης επαναφοράς):
Συνδέεται στον διακόπτη επαναφοράς στην μπροστινή όψη του περιβλήματος. Πατήστε τον διακόπτη επαναφοράς για να επανεκκινήσετε τον υπολογιστή εάν ο υπολογιστής «παγώσει» και δεν καταφέρει να εκτελέσει μια κανονική επανεκκίνηση. - CI (Επικεφαλίδα εισβολής στο περίβλημα):
Συνδέεται στον διακόπτη/αισθητήρα εισβολής στο περίβλημα στο περίβλημα που μπορεί να ανιχνεύσει εάν έχει αφαιρεθεί το κάλυμμα του περιβλήματος. Αυτή η λειτουργία απαιτεί ένα περίβλημα με διακόπτη/αισθητήρα εισβολής στο περίβλημα. - NC: Καμία σύνδεση.
Η σχεδίαση του μπροστινού πίνακα ενδέχεται να διαφέρει ανάλογα με το περίβλημα. Μια μονάδα μπροστινού πίνακα αποτελείται κυρίως από διακόπτη λειτουργίας, διακόπτη επαναφοράς, LED τροφοδοσίας, LED δραστηριότητας σκληρού δίσκου, ηχείο κ.λπ. Όταν συνδέετε τη μονάδα μπροστινού πίνακα του περιβλήματός σας σε αυτήν την επικεφαλίδα, βεβαιωθείτε ότι οι αντιστοιχίσεις καλωδίων και οι αντιστοιχίσεις ακίδων αντιστοιχούν σωστά.
F_AUDIO (Επικεφαλίδα ήχου μπροστινού πίνακα)
Η επικεφαλίδα ήχου μπροστινού πίνακα υποστηρίζει ήχο High Definition (HD). Μπορείτε να συνδέσετε τη μονάδα ήχου μπροστινού πίνακα του περιβλήματός σας σε αυτήν την επικεφαλίδα. Βεβαιωθείτε ότι οι αντιστοιχίσεις καλωδίων του συνδέσμου της μονάδας αντιστοιχούν στις αντιστοιχίσεις ακίδων της επικεφαλίδας της μητρικής πλακέτας. Η εσφαλμένη σύνδεση μεταξύ του συνδέσμου της μονάδας και της επικεφαλίδας της μητρικής πλακέτας θα καταστήσει τη συσκευή ανίκανη να λειτουργήσει ή ακόμα και θα την καταστρέψει.

Ορισμένα περιβλήματα παρέχουν μια μονάδα ήχου μπροστινού πίνακα που έχει ξεχωριστούς συνδέσμους σε κάθε καλώδιο αντί για ένα μόνο βύσμα. Για πληροφορίες σχετικά με τη σύνδεση της μονάδας ήχου μπροστινού πίνακα που έχει διαφορετικές αντιστοιχίσεις καλωδίων, επικοινωνήστε με τον κατασκευαστή του περιβλήματος.
F_U320G (Επικεφαλίδα USB Type-C® με υποστήριξη USB 3.2 Gen 2x2)
Η επικεφαλίδα συμμορφώνεται με τις προδιαγραφές USB 3.2 Gen 2x2 και μπορεί να παρέχει μία θύρα USB.

F_U32 (Επικεφαλίδα USB 3.2 Gen 1)
Η επικεφαλίδα συμμορφώνεται με τις προδιαγραφές USB 3.2 Gen 1 και USB 2.0 και μπορεί να παρέχει δύο θύρες USB. Για την αγορά του προαιρετικού μπροστινού πίνακα 3,5" που παρέχει δύο θύρες USB 3.2 Gen 1, επικοινωνήστε με τον τοπικό αντιπρόσωπο.

F_USB1/F_USB2 (Επικεφαλίδες USB 2.0/1.1)
Οι επικεφαλίδες συμμορφώνονται με τις προδιαγραφές USB 2.0/1.1. Κάθε επικεφαλίδα USB μπορεί να παρέχει δύο θύρες USB μέσω ενός προαιρετικού βραχίονα USB. Για την αγορά του προαιρετικού βραχίονα USB, επικοινωνήστε με τον τοπικό αντιπρόσωπο.

Πριν εγκαταστήσετε τον βραχίονα USB, φροντίστε να απενεργοποιήσετε τον υπολογιστή σας και να αποσυνδέσετε το καλώδιο τροφοδοσίας από την πρίζα για να αποφύγετε ζημιά στον βραχίονα USB.
SPI_TPM (Επικεφαλίδα Trusted Platform Module)
Μπορείτε να συνδέσετε ένα SPI TPM (Trusted Platform Module) σε αυτήν την επικεφαλίδα.

COM (Επικεφαλίδα σειριακής θύρας)
Η επικεφαλίδα COM μπορεί να παρέχει μία σειριακή θύρα μέσω ενός προαιρετικού καλωδίου θύρας COM. Για την αγορά του προαιρετικού καλωδίου θύρας COM, επικοινωνήστε με τον τοπικό αντιπρόσωπο.

THB_U4 (Σύνδεσμος κάρτας πρόσθετης λειτουργίας)
Αυτός ο σύνδεσμος προορίζεται για μια κάρτα πρόσθετης λειτουργίας GIGABYTE.

RST_SW/RST (Κουμπί Επαναφοράς/Ζεύγος Επαναφοράς)
Το κουμπί επαναφοράς (RST_SW) επιτρέπει στους χρήστες να ενεργοποιούν/απενεργοποιούν γρήγορα τον υπολογιστή σε ένα ανοικτό περιβάλλον θήκης όταν θέλουν να αλλάξουν στοιχεία υλικού ή να πραγματοποιήσουν δοκιμές υλικού. Το ζεύγος επαναφοράς (RST) μπορεί να συνδεθεί στον διακόπτη επαναφοράς στην μπροστινή όψη του πλαισίου. Πατήστε τον διακόπτη επαναφοράς για να επανεκκινήσετε τον υπολογιστή εάν ο υπολογιστής παγώσει και αποτύχει να εκτελέσει μια κανονική επανεκκίνηση.

Το κουμπί επαναφοράς (RST_SW)/ζεύγος επαναφοράς (RST) σας παρέχει πολλές λειτουργίες για χρήση. Για να αντιστοιχίσετε εκ νέου το κουμπί για να εκτελεί διαφορετικές εργασίες, μεταβείτε στη σελίδα "BIOS Setup" (Ρύθμιση BIOS) του ιστότοπου της GIGABYTE και αναζητήστε το "RST_SW (MULTIKEY)" για περισσότερες πληροφορίες.
CLR_CMOS (Ζεύγος Εκκαθάρισης CMOS)
Χρησιμοποιήστε αυτό το ζεύγος για να εκκαθαρίσετε τη διαμόρφωση του BIOS και να επαναφέρετε τις τιμές CMOS στις εργοστασιακές προεπιλογές. Για να εκκαθαρίσετε τις τιμές CMOS, χρησιμοποιήστε ένα μεταλλικό αντικείμενο όπως ένα κατσαβίδι για να αγγίξετε τις δύο ακίδες για λίγα δευτερόλεπτα.

- Να απενεργοποιείτε πάντα τον υπολογιστή σας και να αποσυνδέετε το καλώδιο τροφοδοσίας από την πρίζα πριν από την εκκαθάριση των τιμών CMOS.
- Μετά την επανεκκίνηση του συστήματος, μεταβείτε στο BIOS Setup για να φορτώσετε τις εργοστασιακές προεπιλογές (επιλέξτε Load Optimized Defaults (Φόρτωση Βελτιστοποιημένων Προεπιλογών)) ή να διαμορφώσετε χειροκίνητα τις ρυθμίσεις του BIOS (μεταβείτε στη σελίδα "BIOS Setup" (Ρύθμιση BIOS) του ιστότοπου της GIGABYTE για περισσότερες πληροφορίες).
Ρύθμιση BIOS
Το BIOS (Basic Input and Output System) καταγράφει τις παραμέτρους υλικού του συστήματος στο CMOS στη μητρική πλακέτα. Οι κύριες λειτουργίες του περιλαμβάνουν τη διεξαγωγή του Power-On Self-Test (POST) κατά την εκκίνηση του συστήματος, την αποθήκευση των παραμέτρων του συστήματος και τη φόρτωση του λειτουργικού συστήματος κ.λπ. Το BIOS περιλαμβάνει ένα πρόγραμμα ρύθμισης BIOS που επιτρέπει στο χρήστη να τροποποιήσει τις βασικές ρυθμίσεις διαμόρφωσης του συστήματος ή να ενεργοποιήσει ορισμένες λειτουργίες του συστήματος.
Όταν η τροφοδοσία είναι απενεργοποιημένη, η μπαταρία στη μητρική πλακέτα παρέχει την απαραίτητη ισχύ στο CMOS για να διατηρήσει τις τιμές διαμόρφωσης στο CMOS.
Για να αποκτήσετε πρόσβαση στο πρόγραμμα ρύθμισης BIOS, πατήστε το πλήκτρο <Delete> κατά τη διάρκεια του POST όταν ενεργοποιηθεί η τροφοδοσία.
Για να αναβαθμίσετε το BIOS, χρησιμοποιήστε το βοηθητικό πρόγραμμα GIGABYTE Q-Flash ή Q-Flash Plus.
- Το Q-Flash επιτρέπει στο χρήστη να αναβαθμίσει ή να δημιουργήσει αντίγραφα ασφαλείας του BIOS γρήγορα και εύκολα χωρίς να εισέλθει στο λειτουργικό σύστημα.
- Το Q-Flash Plus σάς επιτρέπει να ενημερώσετε το BIOS όταν το σύστημά σας είναι απενεργοποιημένο (κατάσταση τερματισμού λειτουργίας S5). Αποθηκεύστε το πιο πρόσφατο BIOS σε μια μονάδα USB και συνδέστε την στην αποκλειστική θύρα και, στη συνέχεια, μπορείτε να ανανεώσετε αυτόματα το BIOS απλώς πατώντας το κουμπί Q-Flash Plus.
Για οδηγίες σχετικά με τη χρήση των βοηθητικών προγραμμάτων Q-Flash και Q-Flash Plus, μεταβείτε στη σελίδα "Μοναδικά χαρακτηριστικά" του ιστότοπου της GIGABYTE και αναζητήστε "Βοηθητικά προγράμματα ενημέρωσης BIOS".
- Επειδή η ανανέωση του BIOS είναι δυνητικά επικίνδυνη, εάν δεν αντιμετωπίζετε προβλήματα με την τρέχουσα έκδοση του BIOS, συνιστάται να μην κάνετε ανανέωση του BIOS. Για να ανανεώσετε το BIOS, κάντε το με προσοχή. Η ακατάλληλη ανανέωση του BIOS ενδέχεται να προκαλέσει δυσλειτουργία του συστήματος.
- Συνιστάται να μην αλλάξετε τις προεπιλεγμένες ρυθμίσεις (εκτός εάν χρειάζεται) για να αποτρέψετε την αστάθεια του συστήματος ή άλλα απροσδόκητα αποτελέσματα. Η ακατάλληλη αλλαγή των ρυθμίσεων ενδέχεται να οδηγήσει σε αποτυχία εκκίνησης του συστήματος. Εάν συμβεί αυτό, προσπαθήστε να διαγράψετε τις τιμές CMOS και να επαναφέρετε την πλακέτα στις προεπιλεγμένες τιμές.
- Ανατρέξτε στις εισαγωγές της μπαταρίας/του βραχυκυκλωτήρα απαλοιφής CMOS στο προηγούμενο κεφάλαιο ή μεταβείτε στη σελίδα "BIOS Setup" του ιστότοπου της GIGABYTE και αναζητήστε "Load Optimized Defaults" για τον τρόπο διαγραφής των τιμών CMOS.
Επισκεφθείτε τον ιστότοπο της GIGABYTE για λεπτομέρειες σχετικά με τη διαμόρφωση του BIOS Setup.
https://www.gigabyte.com/WebPage/917/amd600-bios.html
Οθόνη εκκίνησης
Η παρακάτω οθόνη λογότυπου εκκίνησης θα εμφανιστεί κατά την εκκίνηση του υπολογιστή.

Πλήκτρα λειτουργιών
<DEL>: BIOS SETUP\Q-FLASH
Πατήστε το πλήκτρο <Delete> για να εισέλθετε στο BIOS Setup ή για να αποκτήσετε πρόσβαση στο βοηθητικό πρόγραμμα Q-Flash στο BIOS Setup.
<F12>: BOOT MENU
Το Boot Menu σάς επιτρέπει να ορίσετε την πρώτη συσκευή εκκίνησης χωρίς να εισέλθετε στο BIOS Setup. Στο Boot Menu, χρησιμοποιήστε το πλήκτρο επάνω βέλους <↑> ή το πλήκτρο κάτω βέλους <↓> για να επιλέξετε την πρώτη συσκευή εκκίνησης και, στη συνέχεια, πατήστε <Enter> για να αποδεχτείτε. Το σύστημα θα εκκινηθεί αμέσως από τη συσκευή.
Σημείωση: Η ρύθμιση στο Boot Menu ισχύει μόνο για μία φορά. Μετά την επανεκκίνηση του συστήματος, η σειρά εκκίνησης της συσκευής θα εξακολουθεί να βασίζεται στις ρυθμίσεις του BIOS Setup.
<END>: Q-FLASH
Πατήστε το πλήκτρο <End> για να αποκτήσετε πρόσβαση στο βοηθητικό πρόγραμμα Q-Flash απευθείας χωρίς να χρειαστεί να εισέλθετε πρώτα στο BIOS Setup.
Εγκατάσταση του λειτουργικού συστήματος και των προγραμμάτων οδήγησης
Εγκατάσταση λειτουργικού συστήματος
Με τις σωστές ρυθμίσεις BIOS, είστε έτοιμοι να εγκαταστήσετε το λειτουργικό σύστημα.
Επειδή ορισμένα λειτουργικά συστήματα περιλαμβάνουν ήδη πρόγραμμα οδήγησης RAID, δεν χρειάζεται να εγκαταστήσετε ξεχωριστό πρόγραμμα οδήγησης RAID κατά τη διαδικασία εγκατάστασης των Windows. Μετά την εγκατάσταση του λειτουργικού συστήματος, συνιστούμε να εγκαταστήσετε όλα τα απαιτούμενα προγράμματα οδήγησης από το GIGABYTE Control Center για να διασφαλίσετε την απόδοση και τη συμβατότητα του συστήματος. Εάν το λειτουργικό σύστημα που πρόκειται να εγκατασταθεί απαιτεί να παρέχετε επιπλέον πρόγραμμα οδήγησης RAID κατά τη διαδικασία εγκατάστασης του λειτουργικού συστήματος, ανατρέξτε στα παρακάτω βήματα:
Βήμα 1:
Μεταβείτε στον ιστότοπο της GIGABYTE, μεταβείτε στην ιστοσελίδα του μοντέλου μητρικής πλακέτας, κατεβάστε το αρχείο AMD RAID Preinstall Driver στη σελίδα Support\Download\SATA RAID/AHCI, αποσυμπιέστε το αρχείο και αντιγράψτε τα αρχεία στη μονάδα USB.
Βήμα 2:
Εκκινήστε από το δίσκο εγκατάστασης των Windows και εκτελέστε τα τυπικά βήματα εγκατάστασης του λειτουργικού συστήματος. Όταν εμφανιστεί η οθόνη που σας ζητά να φορτώσετε το πρόγραμμα οδήγησης, επιλέξτε Browse (Αναζήτηση).
Βήμα 3:
Εισαγάγετε τη μονάδα USB και, στη συνέχεια, μεταβείτε στη θέση του προγράμματος οδήγησης. Επιλέξτε πρώτα AMD-RAID Bottom Device και κάντε κλικ στο Next (Επόμενο) για να φορτώσετε το πρόγραμμα οδήγησης. Στη συνέχεια, επιλέξτε AMD-RAID Controller και κάντε κλικ στο Next (Επόμενο) για να φορτώσετε το πρόγραμμα οδήγησης. Τέλος, συνεχίστε την εγκατάσταση του λειτουργικού συστήματος.

Εγκατάσταση προγραμμάτων οδήγησης
Αφού εγκαταστήσετε το λειτουργικό σύστημα, θα εμφανιστεί ένα παράθυρο διαλόγου στην κάτω δεξιά γωνία της επιφάνειας εργασίας, το οποίο θα σας ρωτά εάν θέλετε να κατεβάσετε και να εγκαταστήσετε τα προγράμματα οδήγησης και τις εφαρμογές GIGABYTE μέσω του GIGABYTE Control Center (GCC). Κάντε κλικ στο Install (Εγκατάσταση) για να συνεχίσετε την εγκατάσταση. (Στο BIOS Setup, βεβαιωθείτε ότι η επιλογή Settings\Gigabyte Utilities Downloader Configuration\Gigabyte Utilities Downloader έχει οριστεί σε Enabled (Ενεργοποιημένο).)

Όταν εμφανιστεί το παράθυρο διαλόγου Άδεια χρήσης τελικού χρήστη, πατήστε <Accept> για να εγκαταστήσετε το GIGABYTE Control Center (GCC). Στην οθόνη GIGABYTE CONTROL CENTER, επιλέξτε τα προγράμματα οδήγησης και τις εφαρμογές που θέλετε να εγκαταστήσετε και κάντε κλικ στο Install (Εγκατάσταση).

Πριν από την εγκατάσταση, βεβαιωθείτε ότι το σύστημα είναι συνδεδεμένο στο Διαδίκτυο.
Επισκεφθείτε τον ιστότοπο της GIGABYTE για περισσότερες πληροφορίες σχετικά με το λογισμικό.
https://www.gigabyte.com/WebPage/916/amd600-app.html
Επισκεφθείτε τον ιστότοπο της GIGABYTE για περισσότερες πληροφορίες αντιμετώπισης προβλημάτων.
https://www.gigabyte.com/WebPage/351/faq.html
Διαμόρφωση συνόλου RAID
Επίπεδα RAID
Πριν ξεκινήσετε, ετοιμάστε τα ακόλουθα στοιχεία:
Αυτή η μητρική πλακέτα υποστηρίζει RAID 0, RAID 1 και RAID 10. Ετοιμάστε τον σωστό αριθμό σκληρών δίσκων, όπως υποδεικνύεται στον παραπάνω πίνακα, πριν από τη διαμόρφωση μιας συστοιχίας RAID.
- Σκληροί δίσκοι SATA ή SSD. Για να διασφαλίσετε τη βέλτιστη απόδοση, συνιστάται να χρησιμοποιείτε δύο σκληρούς δίσκους με ίδια μοντέλο και χωρητικότητα.
- Δίσκος εγκατάστασης των Windows.
- Ένας υπολογιστής συνδεδεμένος στο Διαδίκτυο.
- Μια μονάδα USB.
Ένα M.2 PCIe SSD δεν μπορεί να χρησιμοποιηθεί για τη δημιουργία ενός συνόλου RAID με έναν σκληρό δίσκο SATA.
Επισκεφθείτε τον ιστότοπο της GIGABYTE για λεπτομέρειες σχετικά με τη διαμόρφωση μιας συστοιχίας RAID.
https://www.gigabyte.com/WebPage/918/amd600-raid.html
Επικοινωνήστε μαζί μας
GIGA-BYTE TECHNOLOGY CO., LTD.
Διεύθυνση: No.6, Baoqiang Rd., Xindian Dist., New Taipei City 231
ΤΗΛ: +886-2-8912-4000, ΦΑΞ: +886-2-8912-4005
Tech. and Non-Tech. Support (Sales/Marketing): https://esupport.gigabyte.com
WEB address (English): https://www.gigabyte.com
WEB address (Chinese): https://www.gigabyte.com/tw
- GIGABYTE eSupport
Για να υποβάλετε μια τεχνική ή μη τεχνική ερώτηση (Πωλήσεις/Μάρκετινγκ), συνδεθείτε στη διεύθυνση:
https://esupport.gigabyte.com
![]()
Αναφορές
Utility | Service / Support - GIGABYTE GlobalGIGABYTE Quick-Guide
GIGABYTE Realtek Audio
M.2 EZ-Latch
GIGABYTE AMD 600 Series BIOS Setup
GIGABYTE Motherboards Software Manual
GIGABYTE Troubleshooting Manual
GIGABYTE AMD 600 Series RAID Setup
GIGABYTE - eSupport
GIGABYTE Global
GIGABYTE 技嘉科技
Λήψη εγχειριδίου
Εδώ μπορείτε να κατεβάσετε την πλήρη έκδοση pdf του εγχειριδίου, μπορεί να περιέχει πρόσθετες οδηγίες ασφαλείας, πληροφορίες εγγύησης, κανόνες FCC κ.λπ.












