GIGABYTE Z590 AORUS XTREME WATERFORCE - Manual de utilizare al plăcii de bază
- 1 Identificarea reviziei plăcii tale de bază
- 2 Conținutul cutiei
- 3 Articole opționale
- 4 Aspectul plăcii de bază Z590 AORUS XTREME WB (Z590 AORUS XTREME WATERFORCE)
- 5 Diagrama bloc a plăcii de bază Z590 AORUS XTREME WB (Z590 AORUS XTREME WATERFORCE)
-
6
Instalarea hardware-ului
- 6.1 Precauții la instalare
- 6.2 Specificațiile produsului
- 6.3 Instalarea CPU-ului și a cooler-ului CPU
- 6.4 Instalarea memoriei
- 6.5 Instalarea unei plăci de expansiune
- 6.6 Configurarea unei configurații AMD CrossFire
- 6.7 Conectorii panoului din spate
- 6.8 Butoane și comutatoare integrate
-
6.9
Conectori interni
- 6.9.1 ATX_12V_2X4_1/ATX_12V_2X4_2/ATX (conectori de alimentare 2x4 12V și conector de alimentare principal 2x12)
- 6.9.2 CPU_FAN/SYS_FAN1/2/3/4/7/8 (Anteturi pentru ventilator)
- 6.9.3 SYS_FAN5_PUMP/SYS_FAN6_PUMP (Anteturi pentru ventilator de sistem/pompă de răcire cu apă)
- 6.9.4 CPU_OPT (Antet pentru ventilator CPU cu răcire cu apă)
- 6.9.5 LED_CPU (Antet LED CPU kit de răcire cu apă)
- 6.9.6 LED_PCH (Antet LED Chipset kit de răcire cu apă)
- 6.9.7 NOISE_SENSOR (Antet de detectare a zgomotului)
- 6.9.8 EC_TEMP1/EC_TEMP2 (Anteturi pentru senzor de temperatură)
- 6.9.9 LED_C1/LED_C2 (Anteturi integrate pentru cablu de extensie pentru benzi LED adresabile și RGB)
- 6.9.10 BAT (Baterie)
- 6.9.11 SATA3 0/1/2/3/4/5 (Conectori SATA 6Gb/s)
- 6.9.12 M2A_SB/M2P_CPU (Notă)/M2M_SB (Conectori M.2 Socket 3)
- 6.9.13 F_PANEL (Antetul panoului frontal)
- 6.9.14 F_AUDIO (Antet audio panou frontal)
- 6.9.15 F_U320G (Antet USB Type-C cu suport USB 3.2 Gen 2x2)
- 6.9.16 F_U32 (Antet USB 3.2 Gen 1)
- 6.9.17 F_USB1 (USB 2.0/1.1 Header)
- 7 Configurare BIOS
- 8 Configurarea unui set RAID
- 9 Instalarea driverelor
- 10 Caracteristici unice
- 11 Configurarea intrărilor și ieșirilor audio
- 12 Depanare
- 13 Coduri LED de depanare
- 14 Contactați-ne
- 15 Referințe
- 16 Descărcați manualul
- 17 În alte limbi

Identificarea reviziei plăcii tale de bază
Numărul de revizie al plăcii tale de bază arată astfel: "REV: X.X." De exemplu, "REV: 1.0" înseamnă că revizia plăcii de bază este 1.0. Verifică revizia plăcii tale de bază înainte de a actualiza BIOS-ul plăcii de bază, driverele sau când cauți informații tehnice.
Exemplu:

Conținutul cutiei
- Placă de bază Z590 AORUS XTREME WB (Z590 AORUS XTREME WATERFORCE)
- Un kit de răcire cu apă
- Un stick de memorie flash USB AORUS cu drivere
- Manualul utilizatorului
- Ghid de instalare rapidă
- Șase cabluri SATA
- Două antene
- Două cabluri de extensie integrate pentru benzi LED adresabile și RGB
- Un AORUS RGB Fan Commander
- Un cablu de extensie pentru panoul frontal
- Un cablu de extensie pentru header-ul USB frontal
- Un ESSential USB DAC
- Un cablu de detectare a zgomotului
- Două cabluri termistor
- Un G Connector
- Două legături de cablu Velcro
- Șuruburi M.2
- Un adaptor AORUS Gen4 AIC (GC-2XM2G4)
Conținutul cutiei de mai sus este doar pentru referință, iar articolele reale vor depinde de pachetul de produse pe care îl obțineți. Conținutul cutiei poate fi modificat fără notificare prealabilă.
Articole opționale
- Brățară USB 2.0 cu 2 porturi (Nr. piesă 12CR1-1UB030-6*R)
- Brățară eSATA (Nr. piesă 12CF1-3SATPW-4*R)
- Panou frontal de 3,5" cu 2 porturi USB 3.2 Gen 1 (Nr. piesă 12CR1-FPX582-2*R)
Aspectul plăcii de bază Z590 AORUS XTREME WB (Z590 AORUS XTREME WATERFORCE)

(Notă) Pentru informații despre codul de depanare, vă rugăm să consultați Codurile LED de depanare.
Diagrama bloc a plăcii de bază Z590 AORUS XTREME WB (Z590 AORUS XTREME WATERFORCE)

(Notă) Suportul real poate varia în funcție de CPU.
Instalarea hardware-ului
Precauții la instalare
Placa de bază conține numeroase circuite și componente electronice delicate care pot fi deteriorate ca urmare a descărcărilor electrostatice (ESD). Înainte de instalare, citiți cu atenție manualul de utilizare și urmați aceste proceduri:
- Înainte de instalare, asigurați-vă că șasiul este potrivit pentru placa de bază.
- Înainte de instalare, nu îndepărtați sau rupeți autocolantul S/N (numărul de serie) de pe placa de bază sau autocolantul de garanție furnizat de distribuitorul dumneavoastră. Aceste autocolante sunt necesare pentru validarea garanției.
- Scoateți întotdeauna alimentarea cu curent alternativ deconectând cablul de alimentare de la priză înainte de a instala sau scoate placa de bază sau alte componente hardware.
- Când conectați componente hardware la conectorii interni de pe placa de bază, asigurați-vă că sunt conectate strâns și sigur.
- Când manipulați placa de bază, evitați să atingeți orice conductori sau conectori metalici.
- Cel mai bine este să purtați o brățară antistatică (ESD) atunci când manipulați componente electronice, cum ar fi o placă de bază, un CPU sau o memorie. Dacă nu aveți o brățară ESD, păstrați-vă mâinile uscate și atingeți mai întâi un obiect metalic pentru a elimina electricitatea statică.
- Înainte de a instala placa de bază, vă rugăm să o așezați deasupra unei plăcuțe antistatice sau într-un recipient de ecranare electrostatică.
- Înainte de a conecta sau deconecta cablul de alimentare de la placa de bază, asigurați-vă că sursa de alimentare a fost oprită.
- Înainte de a porni alimentarea, asigurați-vă că tensiunea sursei de alimentare a fost setată conform standardului local de tensiune.
- Înainte de a utiliza produsul, vă rugăm să verificați dacă toate cablurile și conectorii de alimentare ale hardware-ului dumneavoastră sunt conectate.
- Pentru a preveni deteriorarea plăcii de bază, nu permiteți șuruburilor să intre în contact cu circuitul plăcii de bază sau cu componentele sale.
- Asigurați-vă că nu există șuruburi sau componente metalice rămase așezate pe placa de bază sau în interiorul carcasei computerului.
- Nu așezați sistemul computerului pe o suprafață neuniformă.
- Nu așezați sistemul computerului într-un mediu cu temperatură ridicată sau umed.
- Pornirea alimentării computerului în timpul procesului de instalare poate duce la deteriorarea componentelor sistemului, precum și la vătămări fizice ale utilizatorului.
- Dacă nu sunteți sigur cu privire la pașii de instalare sau aveți o problemă legată de utilizarea produsului, vă rugăm să consultați un tehnician informatic certificat.
- Dacă utilizați un adaptor, un cablu prelungitor de alimentare sau o bandă de alimentare, asigurați-vă că consultați instrucțiunile sale de instalare și/sau împământare.
Specificațiile produsului




(Notă) Suportat numai de procesoarele de generația a 11-a.
* GIGABYTE își rezervă dreptul de a face orice modificări ale specificațiilor produsului și ale informațiilor legate de produs fără notificare prealabilă.

Vă rugăm să vizitați site-ul web GIGABYTE pentru liste de suport pentru CPU, module de memorie, SSD-uri și dispozitive M.2.

Vă rugăm să vizitați pagina Support\Utility List (Lista Utilitarelor de Suport) de pe site-ul web GIGABYTE pentru a descărca cea mai recentă versiune a aplicațiilor.
Instalarea CPU-ului și a cooler-ului CPU
Citiți următoarele instrucțiuni înainte de a începe să instalați CPU:
- Asigurați-vă că placa de bază acceptă CPU-ul.
(Accesați site-ul web GIGABYTE pentru cea mai recentă listă de suport CPU.) - Opriți întotdeauna computerul și deconectați cablul de alimentare de la priză înainte de a instala CPU-ul pentru a preveni deteriorarea hardware-ului.
- Localizați pinul unu al CPU-ului. CPU-ul nu poate fi introdus dacă este orientat incorect. (Sau puteți localiza crestăturile de pe ambele părți ale CPU-ului și tastele de aliniere de pe soclul CPU-ului.)
- Aplicați un strat uniform și subțire de grăsime termică pe suprafața CPU-ului.
- Nu porniți computerul dacă cooler-ul CPU-ului nu este instalat, altfel pot apărea supraîncălzirea și deteriorarea CPU-ului.
- Setați frecvența gazdă a CPU-ului în conformitate cu specificațiile CPU-ului. Nu este recomandat ca frecvența magistralei de sistem să fie setată dincolo de specificațiile hardware, deoarece nu îndeplinește cerințele standard pentru periferice. Dacă doriți să setați frecvența dincolo de specificațiile standard, vă rugăm să faceți acest lucru conform specificațiilor hardware, inclusiv CPU, placa grafică, memorie, hard disk etc.
Instalarea CPU-ului
- Localizați tastele de aliniere de pe soclul CPU-ului plăcii de bază și crestăturile de pe CPU.
![GIGABYTE - Z590 AORUS XTREME WATERFORCE - Instalarea CPU-ului - Pasul 1 Instalarea CPU-ului - Pasul 1]()
![]()
Vă rugăm să vizitați site-ul web GIGABYTE pentru detalii despre instalarea hardware-ului. - Urmați pașii de mai jos pentru a instala corect CPU-ul în soclul CPU-ului plăcii de bază.
- Înainte de a instala CPU-ul, asigurați-vă că opriți computerul și deconectați cablul de alimentare de la priză pentru a preveni deteriorarea CPU-ului.
- Pentru a proteja contactele soclului, nu scoateți capacul de protecție din plastic decât dacă CPU-ul este introdus în soclul CPU-ului. Păstrați capacul în mod corespunzător și înlocuiți-l dacă CPU-ul este scos.
Pasul 1:
Apăsați ușor în jos mânerul pârghiei soclului CPU-ului și îndepărtați-l de soclu cu degetul. Apoi ridicați complet pârghia soclului CPU-ului, iar placa metalică de încărcare/capacul de plastic vor fi, de asemenea, ridicate.
![GIGABYTE - Z590 AORUS XTREME WATERFORCE - Instalarea CPU-ului - Pasul 2 Instalarea CPU-ului - Pasul 2]()
Pasul 2:
Țineți CPU-ul cu degetul mare și arătătorul. Aliniați marcajul pinului unu al CPU-ului (triunghi) cu colțul pinului unu al soclului CPU-ului (sau puteți alinia crestăturile CPU-ului cu tastele de aliniere ale soclului) și introduceți ușor CPU-ul în poziție.
![]()
Pasul 3:
Odată ce CPU-ul este introdus corect, înlocuiți cu atenție placa de încărcare. Când înlocuiți placa de încărcare, asigurați-vă că capătul frontal al plăcii de încărcare este sub șurubul de umăr. Apoi apăsați pârghia soclului CPU-ului. Capacul de protecție din plastic poate să sară de pe placa de încărcare în timpul procesului de cuplare a pârghiei. Scoateți capacul. (Păstrați capacul în mod corespunzător și înlocuiți-l întotdeauna când CPU-ul nu este instalat.)
![]()
Pasul 4:
În cele din urmă, fixați pârghia sub clapeta de reținere pentru a finaliza instalarea CPU-ului.
![]()
NOTĂ:
Țineți pârghia soclului CPU-ului de mâner, nu de porțiunea de bază a pârghiei.
![]()
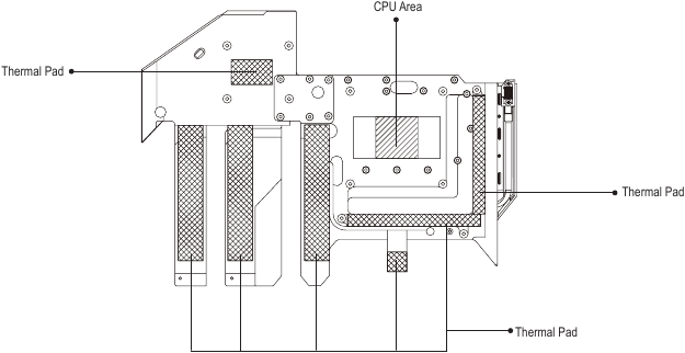
Instalarea kit-ului de răcire cu apă

- Înainte de a instala kit-ul de răcire cu apă, asigurați-vă că placa de bază poate porni normal.
- Dacă doriți să instalați un SSD M.2, trebuie să instalați mai întâi SSD-ul M.2 înainte de a instala kit-ul de răcire cu apă.
- Kit-ul de răcire cu apă oferă o intrare G1/4" și o ieșire G1/4". Vă rugăm să alegeți barbetele (nu sunt incluse) care se potrivesc cerințelor dumneavoastră.
- În funcție de cerințele dumneavoastră hardware, aplicați cantitatea adecvată de pastă termică furnizată pe kit-ul de răcire cu apă.
- După ce kit-ul de răcire cu apă este așezat pe placa de bază, apăsați mai întâi butonul OC Ignition și apoi apăsați butonul de alimentare pentru a verifica dacă fluidul de răcire poate fi injectat corect. Apoi finalizați injecția. Deconectați sursa de alimentare și strângeți șuruburile incluse în kit-ul de răcire cu apă. Tipul și numărul șuruburilor incluse sunt următoarele. Asigurați-vă că utilizați șuruburile corecte înainte de instalare:
Șurub M2*6 M3*10.8 M3*6.5 (cu șaibă) Cuplu de referință 2.0~2.5 (kgf-cm) 3.5~4.0 (kgf-cm) 3.5~4.0 (kgf-cm) Număr 2 4 7
Consultați imaginile de mai jos pentru a instala kit-ul de răcire cu apă pe placa de bază.
Pasul 1:
Scoateți cu atenție kit-ul de răcire cu apă din pachet și îndepărtați folile de plastic de protecție din zona CPU-ului și de pe plăcuțele termice.

Pasul 2:
Înainte de instalare, scoateți capacul lateral de pe kit-ul de răcire cu apă și păstrați-l în mod corespunzător. Aliniați kit-ul de răcire cu apă cu placa de bază în direcția indicată mai jos, conectați cablul LED de la kit-ul de răcire cu apă la header-ul LED_PCH. Apoi așezați vertical kit-ul de răcire cu apă pe placa de bază. Strângeți cele două șuruburi (M2*6) pentru a fixa kit-ul de răcire cu apă de distanțierele M.2, așa cum este indicat.

Pasul 3:
Întoarceți cu atenție placa de bază, fixați placa din spate a CPU-ului folosind cele patru șuruburi (M3*10.8) într-o secvență diagonală.

Pasul 4:
Strângeți cele trei șuruburi (M3*6.5) cu șaibe la orificiile de montare din zona CPU-ului (consultați imaginea din stânga jos). Apoi strângeți cele patru șuruburi (M3*6.5) cu șaibe la orificiile de montare din zona Chipset-ului într-o secvență diagonală (consultați imaginea din dreapta jos). Asigurați-vă că kit-ul de răcire cu apă este atașat în siguranță.

Pasul 5:
După instalarea kit-ului de răcire cu apă, conectați cablul Type-C® de pe partea laterală a kit-ului de răcire cu apă la header-ul LED_CPU de pe placa de bază și apoi înlocuiți capacul lateral. După finalizarea pașilor de mai sus, conectați componentele de răcire cu apă.

Instalarea memoriei
Citiți următoarele recomandări înainte de a începe instalarea memoriei:
- Asigurați-vă că placa de bază acceptă memoria. Se recomandă utilizarea memoriei de aceeași capacitate, marcă, viteză și cipuri.
(Accesați site-ul web GIGABYTE pentru cele mai recente viteze de memorie și module de memorie acceptate.) - Opriți întotdeauna computerul și scoateți cablul de alimentare din priză înainte de a instala memoria pentru a preveni deteriorarea hardware-ului.
- Modulele de memorie au un design sigur. Un modul de memorie poate fi instalat doar într-o singură direcție. Dacă nu puteți introduce memoria, schimbați direcția.
Configurarea memoriei Dual Channel
Această placă de bază oferă patru socluri de memorie și acceptă tehnologia Dual Channel. După instalarea memoriei, BIOS-ul va detecta automat specificațiile și capacitatea memoriei. Activarea modului de memorie Dual Channel va dubla lățimea de bandă originală a memoriei.
Cele patru socluri de memorie sunt împărțite în două canale și fiecare canal are două socluri de memorie, după cum urmează:
- Canalul A: DDR4_A1, DDR4_A2
- Canalul B: DDR4_B1, DDR4_B2

Datorită limitărilor CPU, citiți următoarele instrucțiuni înainte de a instala memoria în modul Dual Channel.
- Modul Dual Channel nu poate fi activat dacă este instalat un singur modul de memorie.
- Când activați modul Dual Channel cu două sau patru module de memorie, se recomandă utilizarea memoriei de aceeași capacitate, marcă, viteză și cipuri.
Instalarea unei memorii
Înainte de a instala un modul de memorie, asigurați-vă că opriți computerul și scoateți cablul de alimentare din priză pentru a preveni deteriorarea modulului de memorie. DDR4 și DDR3 DIMM-urile nu sunt compatibile între ele sau cu DDR2 DIMM-urile. Asigurați-vă că instalați DDR4 DIMM-uri pe această placă de bază.
Un modul de memorie DDR4 are o crestătură, astfel încât se poate potrivi doar într-o singură direcție. Urmați pașii de mai jos pentru a instala corect modulele de memorie în soclurile de memorie.
Pasul 1:
Rețineți orientarea modulului de memorie. Răspândiți clema de reținere la capătul drept al soclului de memorie. Așezați modulul de memorie pe soclu. După cum se indică în imaginea din stânga, puneți degetele pe marginea superioară a memoriei, apăsați pe memorie și introduceți-o vertical în soclul de memorie.

Pasul 2:
Clema de la capătul drept al soclului se va fixa în poziție când modulul de memorie este introdus în siguranță.

Instalarea unei plăci de expansiune
Citiți următoarele recomandări înainte de a începe instalarea unei plăci de expansiune:
- Asigurați-vă că placa de bază acceptă placa de expansiune. Citiți cu atenție manualul care a venit cu placa dvs. de expansiune.
- Opriți întotdeauna computerul și scoateți cablul de alimentare din priză înainte de a instala o placă de expansiune pentru a preveni deteriorarea hardware-ului.

Urmați pașii de mai jos pentru a instala corect placa de expansiune în slotul de expansiune.
- Localizați un slot de expansiune care acceptă placa dvs. Scoateți capacul metalic al slotului de pe panoul din spate al șasiului.
- Aliniați placa cu slotul și apăsați pe placă până când este complet așezată în slot.
- Asigurați-vă că contactele metalice de pe placă sunt complet introduse în slot.
- Fixați suportul metalic al plăcii pe panoul din spate al șasiului cu un șurub.
- După instalarea tuturor plăcilor de expansiune, înlocuiți capacul (capacele) șasiului.
- Porniți computerul. Dacă este necesar, accesați Configurare BIOS pentru a efectua orice modificări BIOS necesare pentru placa (plăcile) dvs. de expansiune.
- Instalați driverul furnizat cu placa de expansiune în sistemul dvs. de operare.
Exemplu: Instalarea și scoaterea unei plăci grafice PCI Express:
- Instalarea unei plăci grafice:
Apăsați ușor pe marginea superioară a plăcii până când este complet introdusă în slotul PCI Express. Asigurați-vă că placa este așezată în siguranță în slot și nu se clatină.
![GIGABYTE - Z590 AORUS XTREME WATERFORCE - Instalarea unei plăci grafice Instalarea unei plăci grafice]()
- Scoaterea plăcii:
Apăsați ușor pe maneta de pe slot și apoi ridicați placa direct din slot.
![]()
Configurarea unei configurații AMD CrossFire™
Cerințe de sistem
- Sistem de operare Windows 10 pe 64 de biți
- O placă de bază compatibilă cu CrossFire cu două sloturi PCI Express x16 și driverul corect
- Plăci grafice compatibile cu CrossFire de aceeași marcă și cip și driverul corect
- CrossFire(Notă) conectori bridge
- Se recomandă o sursă de alimentare cu energie suficientă (consultați manualul plăcilor dvs. grafice pentru cerințele de alimentare)
Conectarea plăcilor grafice
Pasul 1:
Respectați pașii din "Instalarea unei plăci de expansiune" și instalați plăcile grafice pe sloturile PCIEX16 și PCIEX8.
Pasul 2:
Introduceți conectorii bridge CrossFire(Notă) în conectorii aurii CrossFire de pe partea superioară a plăcilor.
Pasul 3:
Conectați cablul de afișare la placa grafică de pe slotul PCIEX16.
Configurarea driverului plăcii grafice
Pentru a activa funcția CrossFire
După instalarea driverului plăcii grafice în sistemul de operare, accesați ecranul AMD RADEON SETTINGS (SETĂRI AMD RADEON). Accesați Gaming\Global Settings (Jocuri\Setări globale) și asigurați-vă că AMD CrossFire este setat pe On (Activat).

(Notă) Conectorul (conectorii) bridge pot fi necesari sau nu, în funcție de plăcile dvs. grafice.
Procedura și ecranul driverului pentru activarea tehnologiei CrossFire pot diferi în funcție de plăcile grafice și versiunea driverului. Consultați manualul care a venit cu plăcile dvs. grafice pentru mai multe informații despre activarea tehnologiei CrossFire.
Conectorii panoului din spate

- Buton Q-Flash Plus (Notă)
Acest buton vă permite să actualizați BIOS-ul atunci când conectorul de alimentare este conectat, dar sistemul nu este pornit. - Buton Clear CMOS
Utilizați acest buton pentru a șterge valorile CMOS (de exemplu, configurația BIOS) și a reseta valorile CMOS la valorile implicite din fabrică atunci când este necesar.
- Opriți întotdeauna computerul și scoateți cablul de alimentare din priză înainte de a utiliza butonul de ștergere CMOS.
- Nu utilizați butonul de ștergere CMOS când sistemul este pornit, altfel sistemul se poate opri și pot apărea pierderi de date sau deteriorări.
- După repornirea sistemului, accesați Configurare BIOS pentru a încărca valorile implicite din fabrică (selectați Load Optimized Defaults (Încărcați valorile implicite optimizate)) sau configurați manual setările BIOS (consultați capitolul "Configurare BIOS" pentru configurațiile BIOS).
- Conectori antenă SMA (2T2R)
Utilizați acest conector pentru a conecta o antenă.
Strângeți antenele la conectorii antenei și apoi orientați antenele corect pentru o recepție mai bună a semnalului. - Port LAN RJ-45 (LAN2)
Portul LAN Gigabit Ethernet oferă conexiune la Internet la o rată de date de până la 2,5 Gbps. Următoarele descriu stările LED-urilor portului LAN.
![GIGABYTE - Z590 AORUS XTREME WATERFORCE - Port LAN RJ-45 (LAN2) Port LAN RJ-45 (LAN2)]()
- Port USB 3.2 Gen 2 Type-A (roșu)
Portul USB 3.2 Gen 2 acceptă specificația USB 3.2 Gen 2 și este compatibil cu specificația USB 3.2 Gen 1 și USB 2.0. Utilizați acest port pentru dispozitivele USB. - Conector Thunderbolt™ 4 (port USB Type-C®)
Conectorul acceptă ieșiri video standard DisplayPort și Thunderbolt™. Puteți conecta un monitor standard DisplayPort/Thunderbolt™ la acest conector cu un adaptor. Conectorul Thunderbolt™ poate conecta în lanț până la cinci dispozitive Thunderbolt™. Datorită resurselor I/O limitate ale arhitecturii PC, numărul de dispozitive Thunderbolt™ care pot fi utilizate depinde de numărul de dispozitive PCI Express care sunt instalate. Puteți ajusta setările Thunderbolt™ din Settings\Thunderbolt Configuration (Setări\Configurare Thunderbolt) în Configurare BIOS. Rezoluția maximă acceptată este 5120 x 2880@60 Hz cu 24 bpp prin ieșire cu un singur afișaj, dar rezoluțiile reale acceptate depind de monitorul utilizat. De asemenea, conectorul este reversibil și acceptă specificația USB 3.2 Gen 2 și este compatibil cu specificația USB 3.2 Gen 1 și USB 2.0. Puteți utiliza acest port și pentru dispozitivele USB. - Port LAN RJ-45 (LAN1)
Portul LAN Gigabit Ethernet oferă conexiune la Internet la o rată de date de până la 10 Gbps. Următoarele descriu stările LED-urilor portului LAN.
![GIGABYTE - Z590 AORUS XTREME WATERFORCE - Port LAN RJ-45 (LAN1) Port LAN RJ-45 (LAN1)]()
- Port USB 3.2 Gen 2 Type-A (roșu) (port Q-Flash Plus)
Portul USB 3.2 Gen 2 acceptă specificația USB 3.2 Gen 2 și este compatibil cu specificația USB 3.2 Gen 1 și USB 2.0. Utilizați acest port pentru dispozitivele USB. Înainte de a utiliza Q-Flash Plus (Notă), asigurați-vă că introduceți mai întâi unitatea flash USB în acest port. - Port HDMI
![]()
Portul HDMI acceptă formatele HDCP 2.3 și Dolby TrueHD și DTS HD Master Audio. De asemenea, acceptă ieșire audio LPCM pe 7.1 canale de până la 192 KHz/16 biți. Puteți utiliza acest port pentru a conecta monitorul compatibil cu HDMI. Rezoluția maximă acceptată este 4096x2160@30 Hz, dar rezoluțiile reale acceptate depind de monitorul utilizat.
După instalarea dispozitivului HDMI, asigurați-vă că setați dispozitivul de redare audio implicit la HDMI. (Denumirea elementului poate diferi în funcție de sistemul dvs. de operare.) - Ieșire difuzor centru/subwoofer
Utilizați această mufă audio pentru a conecta difuzoarele centru/subwoofer. - Ieșire difuzor spate
Utilizați această mufă audio pentru a conecta difuzoarele spate. - Conector ieșire S/PDIF optic
Acest conector oferă ieșire audio digitală către un sistem audio extern care acceptă audio digital optic. Înainte de a utiliza această funcție, asigurați-vă că sistemul dvs. audio oferă un conector de intrare audio digital optic. - Intrare linie/Ieșire difuzor lateral
Mufa de intrare linie. Utilizați această mufă audio pentru dispozitive de intrare linie, cum ar fi o unitate optică, walkman etc. - Ieșire linie/Ieșire difuzor față
Mufa de ieșire linie. - Intrare microfon
Mufa de intrare microfon.
Configurații mufe audio:
![GIGABYTE - Z590 AORUS XTREME WATERFORCE - Configurații mufe audio Configurații mufe audio]()
Dacă doriți să instalați un difuzor lateral, trebuie să reatribuiți mufa de intrare linie pentru a fi ieșire difuzor lateral prin intermediul driverului audio.
- Când scoateți cablul conectat la un conector al panoului din spate, scoateți mai întâi cablul din dispozitiv și apoi scoateți-l din placa de bază.
- Când scoateți cablul, trageți-l drept afară din conector. Nu-l clătinați dintr-o parte în alta pentru a preveni un scurtcircuit electric în interiorul conectorului cablului.
(Notă) Pentru a activa funcția Q-Flash Plus, consultați capitolul "Funcții unice" pentru mai multe informații.
Butoane și comutatoare integrate
Comutatoare BIOS
Comutatorul BIOS (BIOS_SW) permite utilizatorilor să selecteze cu ușurință un BIOS diferit pentru pornire sau overclocking, ajutând la reducerea defecțiunilor BIOS în timpul overclocking-ului. Comutatorul SB permite activarea sau dezactivarea funcției Dual BIOS.

Înainte de a seta comutatorul SB, asigurați-vă că opriți computerul și sursa de alimentare.
Butoane rapide
Această placă de bază are 2 butoane rapide: butonul de pornire și butonul de resetare. Butonul de pornire și butonul de resetare permit utilizatorilor să pornească/oprească sau să reseteze rapid computerul într-un mediu cu carcasă deschisă atunci când doresc să schimbe componente hardware sau să efectueze teste hardware.

PW_SW: Butonul de pornire
RST_SW: Butonul de resetare
Butonul de resetare vă oferă mai multe funcții de utilizat. Pentru a reatribui butonul pentru a efectua diferite sarcini, consultați capitolul "Configurare BIOS", "Settings\Miscellaneous\RST_SW," pentru mai multe informații).
Butonul OC (OC IGNITION)
Butonul OC Ignition permite pasionaților de overclocking și utilizatorilor DIY să pre-testeze configurațiile de răcire cu apă atunci când își construiesc computerele fără a fi nevoie să pornească sistemul. De asemenea, permite ventilatoarelor sistemului să continue să se rotească la o temperatură scăzută și permite o actualizare a firmware-ului chiar și fără o CPU instalată. Vizitați site-ul web GIGABYTE pentru mai multe utilizări și caracteristici.

Puncte de măsurare a tensiunii
Utilizați un multimetru pentru a măsura următoarele tensiuni ale plăcii de bază. Puteți utiliza următoarea metodă pentru a măsura tensiunile componentelor.

Pași:
Conectați firul roșu al multimetrului la pinul 1 (Alimentare) al unui punct de măsurare a tensiunii și firul negru la pinul 2 (împământare).

Conectori interni

- ATX_12V_2X4_1/ATX_12V_2X4_2
- ATX
- CPU_FAN
- SYS_FAN1/2/3/4/7/8
- SYS_FAN5_PUMP/SYS_FAN6_PUMP
- CPU_OPT
- LED_CPU
- LED_PCH
- NOISE_SENSOR
- EC_TEMP1/EC_TEMP2
- LED_C1/LED_C2
- BAT
- SATA3 0/1/2/3/4/5
- M2A_SB/M2P_CPU/M2M_SB
- F_PANEL
- F_AUDIO
- F_U320G
- F_U32
- F_USB1
Citiți următoarele instrucțiuni înainte de a conecta dispozitive externe:
- În primul rând, asigurați-vă că dispozitivele dumneavoastră sunt conforme cu conectorii pe care doriți să-i conectați.
- Înainte de a instala dispozitivele, asigurați-vă că opriți dispozitivele și computerul. Deconectați cablul de alimentare de la priză pentru a preveni deteriorarea dispozitivelor.
- După instalarea dispozitivului și înainte de a porni computerul, asigurați-vă că cablul dispozitivului a fost atașat în siguranță la conectorul de pe placa de bază.
ATX_12V_2X4_1/ATX_12V_2X4_2/ATX (conectori de alimentare 2x4 12V și conector de alimentare principal 2x12)
Cu utilizarea conectorului de alimentare, sursa de alimentare poate furniza suficientă energie stabilă tuturor componentelor de pe placa de bază. Înainte de a conecta conectorul de alimentare, asigurați-vă mai întâi că sursa de alimentare este oprită și că toate dispozitivele sunt instalate corect. Conectorul de alimentare are un design sigur. Conectați cablul de alimentare la conectorul de alimentare în orientarea corectă.
Conectorul de alimentare de 12V alimentează în principal procesorul. Dacă conectorul de alimentare de 12V nu este conectat, computerul nu va porni.
Pentru a satisface cerințele de extindere, se recomandă utilizarea unei surse de alimentare care să reziste la un consum mare de energie (500W sau mai mare). Dacă se utilizează o sursă de alimentare care nu furnizează energia necesară, rezultatul poate duce la un sistem instabil sau care nu poate fi pornit.

CPU_FAN/SYS_FAN1/2/3/4/7/8 (Anteturi pentru ventilator)
Toate anteturile pentru ventilator de pe această placă de bază sunt cu 4 pini. Majoritatea anteturilor pentru ventilator au un design de inserare sigur. Când conectați un cablu de ventilator, asigurați-vă că îl conectați în orientarea corectă (firul conectorului negru este firul de împământare). Funcția de control al vitezei necesită utilizarea unui ventilator cu design de control al vitezei ventilatorului. Pentru o disipare optimă a căldurii, se recomandă instalarea unui ventilator de sistem în interiorul șasiului.

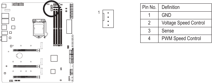
SYS_FAN5_PUMP/SYS_FAN6_PUMP (Anteturi pentru ventilator de sistem/pompă de răcire cu apă)
Anteturile pentru ventilator/pompă sunt cu 4 pini. Majoritatea anteturilor pentru ventilator au un design de inserare sigur. Când conectați un cablu de ventilator, asigurați-vă că îl conectați în orientarea corectă (firul conectorului negru este firul de împământare). Funcția de control al vitezei necesită utilizarea unui ventilator cu design de control al vitezei ventilatorului. Pentru o disipare optimă a căldurii, se recomandă instalarea unui ventilator de sistem în interiorul șasiului. Antetul oferă, de asemenea, controlul vitezei pentru o pompă de răcire cu apă, consultați capitolul „Configurare BIOS”, „Smart Fan 6” pentru mai multe informații.

- Asigurați-vă că conectați cablurile ventilatorului la anteturile ventilatorului pentru a preveni supraîncălzirea procesorului și a sistemului. Supraîncălzirea poate duce la deteriorarea procesorului sau la blocarea sistemului.
- Aceste anteturi pentru ventilator nu sunt blocuri jumper de configurare. Nu puneți un capac jumper pe anteturi.
CPU_OPT (Antet pentru ventilator CPU cu răcire cu apă)
Antetul pentru ventilator este cu 4 pini și are un design de inserare sigur. Majoritatea anteturilor pentru ventilator au un design de inserare sigur. Când conectați un cablu de ventilator, asigurați-vă că îl conectați în orientarea corectă (firul conectorului negru este firul de împământare). Funcția de control al vitezei necesită utilizarea unui ventilator cu design de control al vitezei ventilatorului.

- Asigurați-vă că conectați cablurile ventilatorului la anteturile ventilatorului pentru a preveni supraîncălzirea procesorului și a sistemului. Supraîncălzirea poate duce la deteriorarea procesorului sau la blocarea sistemului.
- Aceste anteturi pentru ventilator nu sunt blocuri jumper de configurare. Nu puneți un capac jumper pe anteturi.
LED_CPU (Antet LED CPU kit de răcire cu apă)
Acest antet oferă energie și semnale LED-ului CPU de pe kitul de răcire cu apă. Poate detecta scurgerile de răcire cu apă, ceea ce asigură o disipare stabilă a căldurii pentru sistemul dumneavoastră.

- În cazul în care apare o scurgere, opriți imediat alimentarea. Nu porniți alimentarea până când scurgerea nu este rezolvată.
- Eficacitatea detectării scurgerilor variază în funcție de agenții de răcire lichizi.
LED_PCH (Antet LED Chipset kit de răcire cu apă)
Acest antet oferă energie și semnale LED-ului Chipset de pe kitul de răcire cu apă.

NOISE_SENSOR (Antet de detectare a zgomotului)
Acest antet poate fi utilizat pentru a conecta un cablu de detectare a zgomotului pentru a detecta zgomotul din interiorul carcasei.

Pentru mai multe informații despre funcția de detectare a zgomotului, consultați instrucțiunile din capitolul „Caracteristici unice”, „APP Center\System Information Viewer”
Înainte de a conecta cablul la antet, asigurați-vă că scoateți capacul jumperului; repuneți capacul jumperului dacă antetul nu este utilizat.
EC_TEMP1/EC_TEMP2 (Anteturi pentru senzor de temperatură)
Conectați cablurile termistorului la anteturi pentru detectarea temperaturii.

LED_C1/LED_C2 (Anteturi integrate pentru cablu de extensie pentru benzi LED adresabile și RGB)
Conectați cablul de extensie integrat inclus pentru benzi LED adresabile și RGB la antet. Celelalte două capete ale cablului se pot conecta respectiv la o bandă LED RGB 5050 standard (12V/G/R/B), cu o putere maximă de 2A (12V) și o lungime maximă de 2m și o bandă LED adresabilă 5050 standard, cu o putere maximă de 5A (5V) și un număr maxim de 1000 de LED-uri. Înainte de a conecta banda LED, scoateți capacul de pe cablul de extensie integrat. Pinul de alimentare al benzii LED trebuie conectat la Pinul 1 al antetului benzii LED. Conectarea incorectă poate duce la deteriorarea benzii LED.

Pentru a afla cum să porniți/opriți luminile benzii LED, consultați instrucțiunile din capitolul „Caracteristici unice”, „APP Center\RGB Fusion”.
Înainte de a instala dispozitivele, asigurați-vă că opriți dispozitivele și computerul. Deconectați cablul de alimentare de la priză pentru a preveni deteriorarea dispozitivelor.
BAT (Baterie)
Bateria asigură energia pentru a păstra valorile (cum ar fi configurațiile BIOS, data și ora) în CMOS când computerul este oprit. Înlocuiți bateria atunci când tensiunea bateriei scade la un nivel scăzut, altfel valorile CMOS ar putea să nu fie precise sau pot fi pierdute.

Puteți șterge valorile CMOS prin scoaterea bateriei:
- Opriți computerul și scoateți cablul de alimentare.
- Scoateți cu grijă bateria din suportul acesteia și așteptați un minut. (Sau folosiți un obiect metalic, cum ar fi o șurubelniță, pentru a atinge bornele pozitive și negative ale suportului bateriei, scurtcircuitându-le timp de 5 secunde.)
- Înlocuiți bateria.
- Introduceți cablul de alimentare și reporniți computerul.
- Opriți întotdeauna computerul și scoateți cablul de alimentare înainte de a înlocui bateria.
- Înlocuiți bateria cu una echivalentă. Dispozitivele dvs. pot fi deteriorate dacă bateria este înlocuită cu un model incorect.
- Contactați locul de achiziție sau dealerul local dacă nu puteți înlocui bateria singur sau nu sunteți sigur de modelul acesteia.
- Când instalați bateria, rețineți orientarea părții pozitive (+) și a părții negative (-) a bateriei (partea pozitivă ar trebui să fie orientată în sus).
- Bateriile uzate trebuie manipulate în conformitate cu reglementările locale de mediu.
SATA3 0/1/2/3/4/5 (Conectori SATA 6Gb/s)
Conectorii SATA respectă standardul SATA 6Gb/s și sunt compatibili cu standardele SATA 3Gb/s și SATA 1.5Gb/s. Fiecare conector SATA acceptă un singur dispozitiv SATA. Chipsetul Intel® acceptă RAID 0, RAID 1, RAID 5 și RAID 10. Consultați capitolul „Configurarea unui set RAID” pentru instrucțiuni despre configurarea unei matrice RAID.

Pentru a activa hot-plugging pentru porturile SATA, consultați capitolul „Configurare BIOS”, „Settings\IO Ports\SATA And RST Configuration” (Setări\Porturi IO\Configurare SATA și RST), pentru mai multe informații.
M2A_SB/M2P_CPU (Notă)/M2M_SB (Conectori M.2 Socket 3)
Conectorii M.2 acceptă SSD-uri M.2 SATA sau SSD-uri M.2 PCIe și acceptă configurația RAID. Vă rugăm să rețineți că un SSD M.2 PCIe nu poate fi utilizat pentru a crea un set RAID nici cu un SSD M.2 SATA, nici cu un hard disk SATA. Consultați capitolul „Configurarea unui set RAID” pentru instrucțiuni despre configurarea unei matrice RAID.

Urmați pașii de mai jos pentru a instala corect un SSD M.2 în conectorul M.2.
Pasul 1:
Localizați conectorul M.2 în care veți instala SSD-ul M.2, utilizați o șurubelniță pentru a desface șurubul de pe radiator și apoi scoateți radiatorul. Scoateți folia de protecție de pe plăcuța termică de pe conectorul M.2.
Pasul 2:
Localizați orificiul de montare corect în funcție de lungimea unității SSD M.2. Dacă este necesar, mutați distanțierul în orificiul de montare dorit. Introduceți SSD-ul M.2 în conectorul M.2 în unghi.
Pasul 3:
Apăsați SSD-ul M.2 în jos și apoi utilizați șurubul inclus pentru a-l fixa în conector. Înlocuiți radiatorul și fixați-l în orificiul original. Scoateți folia de protecție de pe partea inferioară a radiatorului înainte de a-l înlocui.
(Notă) Acceptat numai de procesoarele din generația a 11-a. Asigurați-vă că utilizați SSD-uri Intel® dacă doriți să configurați o configurație RAID pe conectorul M2P_CPU.
Notificări de instalare pentru conectorii M.2 și SATA:
Disponibilitatea conectorilor SATA poate fi afectată de tipul de dispozitiv instalat în sloturile M.2. Conectorul M2A_SB partajează lățimea de bandă cu SATA3 1, iar conectorul M2M_SB partajează lățimea de bandă cu conectorii SATA3 4, 5. Consultați tabelele următoare pentru detalii.

(Notă) Acceptat numai de procesoarele din generația a 11-a.
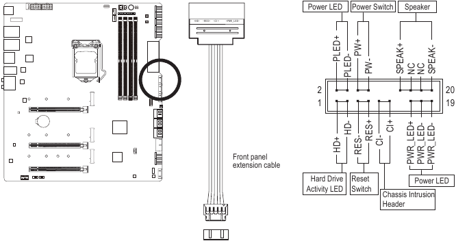
F_PANEL (Antetul panoului frontal)
Conectați un capăt al cablului de extensie al panoului frontal la acest antet și conectați comutatorul de alimentare, comutatorul de resetare, difuzorul, comutatorul/senzorul de intruziune în șasiu și indicatorul de stare a sistemului de pe panoul frontal al șasiului la celălalt capăt. Rețineți pinii pozitivi și negativi înainte de a conecta cablurile.

- PLED/PWR_LED (LED de alimentare):
LED indicator stare sistem Se conectează la indicatorul de stare a alimentării de pe panoul frontal al șasiului. LED-ul este aprins când sistemul funcționează. LED-ul este stins când sistemul este în starea de repaus S3/S4 sau oprit (S5).Starea sistemului LED S0 Pornit S3/S4/S5 Oprit - PW (Comutator de alimentare):
Se conectează la comutatorul de alimentare de pe panoul frontal al șasiului. Puteți configura modul de oprire a sistemului folosind comutatorul de alimentare (consultați capitolul „Configurare BIOS”, „Settings\Platform Power” (Setări\Alimentare platformă) pentru mai multe informații). - SPEAK (Difuzor):
Se conectează la difuzorul de pe panoul frontal al șasiului. Sistemul raportează starea de pornire a sistemului prin emiterea unui cod sonor. Se va auzi un singur bip scurt dacă nu este detectată nicio problemă la pornirea sistemului. - HD (LED activitate hard disk):
Se conectează la LED-ul de activitate a hard diskului de pe panoul frontal al șasiului. LED-ul este aprins când hard diskul citește sau scrie date. - RES (Comutator de resetare):
Se conectează la comutatorul de resetare de pe panoul frontal al șasiului. Apăsați comutatorul de resetare pentru a reporni computerul dacă acesta se blochează și nu reușește să efectueze o repornire normală. - CI (Antet de intruziune în șasiu):
Se conectează la comutatorul/senzorul de intruziune în șasiu de pe șasiu care poate detecta dacă capacul șasiului a fost îndepărtat. Această funcție necesită un șasiu cu un comutator/senzor de intruziune în șasiu. - NC: Fără conexiune.
Designul panoului frontal poate diferi în funcție de șasiu. Un modul de panou frontal constă în principal din comutatorul de alimentare, comutatorul de resetare, LED-ul de alimentare, LED-ul de activitate a hard diskului, difuzor etc. Când conectați modulul panoului frontal al șasiului la acest antet, asigurați-vă că atribuirile firelor și atribuirile pinilor sunt corelate corect.
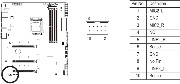
F_AUDIO (Antet audio panou frontal)
Antetul audio al panoului frontal acceptă audio High Definition (HD). Puteți conecta modulul audio al panoului frontal al șasiului la acest antet. Asigurați-vă că atribuirile firelor conectorului modulului corespund cu atribuirile pinilor antetului plăcii de bază. Conectarea incorectă între conectorul modulului și antetul plăcii de bază va face ca dispozitivul să nu funcționeze sau chiar să îl deterioreze.

Unele șasiuri oferă un modul audio pentru panoul frontal care are conectori separați pe fiecare fir în loc de o singură mufă. Pentru informații despre conectarea modulului audio al panoului frontal care are atribuiri diferite ale firelor, vă rugăm să contactați producătorul șasiului.
F_U320G (Antet USB Type-C® cu suport USB 3.2 Gen 2x2)
Antetul respectă specificația USB 3.2 Gen 2x2 și poate oferi un port USB.

F_U32 (Antet USB 3.2 Gen 1)
Antetul respectă specificația USB 3.2 Gen 1 și USB 2.0 și poate oferi două porturi USB. Pentru achiziționarea panoului frontal opțional de 3,5" care oferă două porturi USB 3.2 Gen 1, vă rugăm să contactați dealerul local.

F_USB1 (USB 2.0/1.1 Header)
Conectați un capăt al cablului de extensie al header-ului USB frontal la acest header și celelalte capete la două suporturi USB. Header-ele sunt conforme cu specificația USB 2.0/1.1. Fiecare header USB poate oferi două porturi USB printr-un suport USB opțional. Pentru achiziționarea suportului USB opțional, vă rugăm să contactați dealer-ul local. Pentru achiziționarea suportului USB opțional, vă rugăm să contactați dealer-ul local.

- Nu conectați cablul suportului IEEE 1394 (2x5 pini) în header-ul USB 2.0/1.1.
- Înainte de a instala suportul USB, asigurați-vă că opriți computerul și deconectați cablul de alimentare de la priza de curent pentru a preveni deteriorarea suportului USB.
Configurare BIOS
BIOS (Basic Input and Output System) înregistrează parametrii hardware ai sistemului în CMOS-ul de pe placa de bază. Funcțiile sale majore includ efectuarea autotestului la pornire (POST) în timpul pornirii sistemului, salvarea parametrilor sistemului și încărcarea sistemului de operare, etc. BIOS include un program de configurare BIOS care permite utilizatorului să modifice setările de configurare de bază ale sistemului sau să activeze anumite caracteristici ale sistemului.
Când alimentarea este oprită, bateria de pe placa de bază furnizează energia necesară pentru CMOS pentru a păstra valorile de configurare în CMOS.
Pentru a accesa programul de configurare BIOS, apăsați tasta <Delete> în timpul POST când alimentarea este pornită.
Pentru a actualiza BIOS-ul, utilizați fie utilitarul GIGABYTE Q-Flash, fie @BIOS.
- Q-Flash permite utilizatorului să actualizeze sau să facă backup rapid și ușor la BIOS fără a intra în sistemul de operare.
- @BIOS este un utilitar bazat pe Windows care caută și descarcă cea mai recentă versiune de BIOS de pe Internet și actualizează BIOS-ul.
Pentru instrucțiuni despre utilizarea utilităților Q-Flash și @BIOS, consultați capitolul "Utilitare de actualizare BIOS".
- Deoarece flash-uirea BIOS-ului este potențial riscantă, dacă nu întâmpinați probleme cu versiunea curentă a BIOS-ului, se recomandă să nu flash-uiți BIOS-ul. Pentru a flash-ui BIOS-ul, faceți-o cu precauție. Flash-uirea inadecvată a BIOS-ului poate duce la funcționarea defectuoasă a sistemului.
- Se recomandă să nu modificați setările implicite (decât dacă este necesar) pentru a preveni instabilitatea sistemului sau alte rezultate neașteptate. Modificarea inadecvată a setărilor poate duce la eșecul sistemului de a porni. Dacă se întâmplă acest lucru, încercați să ștergeți valorile CMOS și să resetați placa la valorile implicite. (Consultați secțiunea "Load Optimized Defaults" din acest capitol sau introducerile bateriei sau butonul de ștergere CMOS din capitolul anterior pentru modul de ștergere a valorilor CMOS.)
Ecran de pornire
Următorul ecran cu sigla de pornire va apărea când computerul pornește.

Taste funcționale:
<DEL>: CONFIGURARE BIOS\Q-FLASH
Apăsați tasta <Delete> pentru a intra în Configurarea BIOS sau pentru a accesa utilitarul Q-Flash în Configurarea BIOS.
<F12>: MENIU DE PORNIRE
Meniul de pornire vă permite să setați primul dispozitiv de pornire fără a intra în Configurarea BIOS. În Meniul de pornire, utilizați tasta săgeată în sus <↑> sau tasta săgeată în jos <↓> pentru a selecta primul dispozitiv de pornire, apoi apăsați <Enter> pentru a accepta. Sistemul va porni imediat de pe dispozitiv.
Notă: Setarea din Meniul de pornire este valabilă doar o singură dată. După repornirea sistemului, ordinea de pornire a dispozitivelor va fi totuși bazată pe setările din Configurarea BIOS.
<END>: Q-FLASH
Apăsați tasta <End> pentru a accesa direct utilitarul Q-Flash fără a fi nevoie să intrați mai întâi în Configurarea BIOS.
Meniul principal
Modul avansat
Modul avansat oferă setări detaliate ale BIOS-ului. Puteți apăsa tastele săgeată de pe tastatură pentru a vă deplasa printre elemente și apăsați <Enter> pentru a accepta sau a intra într-un submeniu. Sau puteți utiliza mouse-ul pentru a selecta elementul dorit.

Taste funcționale ale modului avansat

Modul ușor
Modul ușor permite utilizatorilor să vizualizeze rapid informațiile curente ale sistemului lor sau să facă ajustări pentru o performanță optimă. În Modul ușor, puteți utiliza mouse-ul pentru a vă deplasa prin elementele de configurare sau apăsați <F2> pentru a comuta la ecranul Modului avansat.

Smart Fan 6

Utilizați tasta funcțională <F6> pentru a comuta rapid la acest ecran. Acest ecran vă permite să configurați setările legate de viteza ventilatorului pentru fiecare conector de ventilator sau să monitorizați temperatura sistemului/CPU-ului.
- TUNE ALL
Vă permite să aplicați setările curente tuturor conectorilor de ventilator. - Temperature
Afișează temperatura curentă a zonei țintă selectate. - Fan Speed
Afișează vitezele curente ale ventilatorului/pompei. - Flow Rate
Afișează debitul sistemului dvs. de răcire cu apă. Apăsați <Enter> pe Fan Speed pentru a comuta la această funcție. - Fan Speed Control
Vă permite să determinați dacă să activați funcția de control al vitezei ventilatorului și să reglați viteza ventilatorului.- Normal: Permite ventilatorului să funcționeze la viteze diferite în funcție de temperatură. Puteți regla viteza ventilatorului cu System Information Viewer în funcție de cerințele sistemului dvs. (Implicit)
- Silent: Permite ventilatorului să funcționeze la viteze mici.
- Manual: Vă permite să trageți nodurile curbei pentru a regla viteza ventilatorului. Sau puteți utiliza funcția EZ Tuning. După reglarea poziției nodului, apăsați Apply pentru a calcula automat panta curbei.
- Full Speed: Permite ventilatorului să funcționeze la viteze maxime.
- Fan Control Use Temperature Input
Vă permite să selectați temperatura de referință pentru controlul vitezei ventilatorului. - Temperature Interval
Vă permite să selectați intervalul de temperatură pentru schimbarea vitezei ventilatorului. - FAN/PUMP Control Mode
- Auto: Permite BIOS-ului să detecteze automat tipul de ventilator instalat și setează modul de control optim. (Implicit)
- Voltage: Modul de tensiune este recomandat pentru un ventilator/pompă cu 3 pini.
- PWM: Modul PWM este recomandat pentru un ventilator/pompă cu 4 pini.
- FAN/PUMP Stop
Activează sau dezactivează funcția de oprire a ventilatorului/pompei. Puteți seta limita de temperatură utilizând curba de temperatură. Ventilatorul sau pompa oprește funcționarea când temperatura este mai mică decât limita. (Implicit: Dezactivat) - FAN/PUMP Mode
Vă permite să setați modul de operare pentru ventilator.- Slope: Reglează viteza ventilatorului liniar în funcție de temperatură. (Implicit)
- Stair: Reglează viteza ventilatorului treptat în funcție de temperatură.
- FAN/PUMP Fail Warning
Permite sistemului să emită un sunet de avertizare dacă ventilatorul/pompa nu este conectat sau nu funcționează. Verificați starea ventilatorului/pompei sau conexiunea ventilatorului/pompei când se întâmplă acest lucru. (Implicit: Dezactivat) - Save Fan Profile
Această funcție vă permite să salvați setările curente într-un profil. Puteți salva profilul în BIOS sau selectați Select File in HDD/FDD/USB pentru a salva profilul pe dispozitivul dvs. de stocare. - Load Fan Profile
Această funcție vă permite să încărcați un profil BIOS salvat anterior, fără a fi nevoie să reconfigurați setările BIOS. Sau puteți selecta Select File in HDD/FDD/USB pentru a încărca un profil de pe dispozitivul dvs. de stocare.
Favorite (F11)

Setați opțiunile utilizate frecvent ca favorite și utilizați tasta <F11> pentru a comuta rapid la pagina unde se află toate opțiunile dvs. favorite. Pentru a adăuga sau elimina o opțiune favorită, accesați pagina sa originală și apăsați <Insert> pe opțiune. Opțiunea este marcată cu un semn de stea dacă este setată ca "favorită".
Tweaker

Dacă sistemul va funcționa stabil cu setările de overclock/supratensiune pe care le-ați făcut depinde de configurațiile generale ale sistemului dumneavoastră. Efectuarea incorectă a overclock/supratensiune poate duce la deteriorarea procesorului, chipset-ului sau a memoriei și poate reduce durata de viață utilă a acestor componente. Această pagină este doar pentru utilizatorii avansați și vă recomandăm să nu modificați setările implicite pentru a preveni instabilitatea sistemului sau alte rezultate neașteptate. (Modificarea inadecvată a setărilor poate duce la eșecul de pornire a sistemului. Dacă se întâmplă acest lucru, ștergeți valorile CMOS și resetați placa la valorile implicite.)
- CPU Upgrade
Vă permite să setați frecvența procesorului. Rezultatul final poate varia în funcție de procesorul utilizat. Opțiunile sunt: Default, Gaming Profile, Advanced. (Implicit: Default) - CPU Base Clock
Vă permite să setați manual frecvența de bază a procesorului în incrementări de 0,01 MHz. (Implicit: Auto)
Se recomandă insistent ca frecvența procesorului să fie setată în conformitate cu specificațiile procesorului. - PVD Ratio Threshold Override (Notă)
Vă permite să determinați dacă doriți să îmbunătățiți performanța sub BCLK OC extrem, reducând o condiție de "PLL Banding" cauzată în parte de o frecvență DCO foarte mare. (Implicit: Auto) - PCIe/DMI/PEG Clock Frequency
Vă permite să setați manual frecvențele PCIe/DMI/PEG în incrementări de 0,01 MHz. - Enhanced Multi-Core Performance
Determină dacă permite procesorului să ruleze la viteza Turbo 1C. (Implicit: Auto) - CPU Clock Ratio
Vă permite să modificați raportul de ceas pentru procesorul instalat. Intervalul reglabil depinde de procesorul instalat. - Ring Ratio
Vă permite să setați raportul CPU Uncore. Intervalul reglabil depinde de procesorul utilizat. (Implicit: Auto) - IGP Ratio (Notă)
Vă permite să setați Graphics Ratio. (Implicit: Auto) - AVX Disable (Notă)
Vă permite să dezactivați seturile de instrucțiuni AVX pe un procesor care acceptă AVX. (Implicit: Auto) - AVX512 Disable (Notă)
Vă permite să dezactivați seturile de instrucțiuni AVX-512 pe un procesor care acceptă AVX-512. (Implicit: Auto) - AVX Offset (Notă)
Când procesorul rulează sarcini de lucru AVX, CPU Clock Ratio va fi redus cu valoarea offset AVX dorită. De exemplu, dacă valoarea este setată la 3, CPU Clock Ratio va fi redus cu 3 la executarea instrucțiunilor AVX. (Implicit: Auto) - AVX512 Offset (Notă)
Când procesorul rulează sarcini de lucru AVX-512, CPU Clock Ratio va fi redus cu valoarea offset AVX-512 dorită. De exemplu, dacă valoarea este setată la 3 (valoarea trebuie să fie mai mare sau egală cu valoarea offset AVX), CPU Clock Ratio va fi redus cu 3 la executarea instrucțiunilor AVX-512. (Implicit: Auto) - AVX Voltage Guardband Scale Factor (Notă)
Vă permite să reduceți tensiunea standard AVX. (Implicit: Auto) - AVX512 Voltage Guardband Scale Factor (Notă)
Vă permite să reduceți tensiunea standard AVX-512. (Implicit: Auto)
(Notă) Acest element este prezent numai atunci când instalați un procesor care acceptă această caracteristică. Pentru mai multe informații despre caracteristicile unice ale procesoarelor Intel® CPUs, vă rugăm să vizitați site-ul web Intel.
Setări avansate ale procesorului

- Core Fused Max Core Ratio (Notă)
Afișează cea mai mare frecvență a fiecărui nucleu. - CPU Over Temperature Protection (Notă)
Vă permite să reglați fin valoarea de decalaj TJ Max. (Implicit: Auto) - FCLK Frequency for Early Power On (Notă)
Vă permite să setați frecvența FCLK. Opțiunile sunt: Normal (800Mhz), 1GHz, 400MHz. (Implicit: 1GHz) - Hyper-Threading Technology
Vă permite să stabiliți dacă să activați tehnologia multi-threading atunci când utilizați un procesor Intel® care acceptă această funcție. Această funcție funcționează numai pentru sistemele de operare care acceptă modul multi-procesor. Auto permite BIOS-ului să configureze automat această setare. (Implicit: Auto) - No. of CPU Cores Enabled
Vă permite să selectați numărul de nuclee CPU de activat într-un procesor multi-core Intel® (numărul de nuclee CPU poate varia în funcție de CPU). Auto permite BIOS-ului să configureze automat această setare. (Implicit: Auto) - Intel® Speed Shift Technology (Intel® Speed Shift Technology) (Notă)
Activează sau dezactivează Intel® Speed Shift Technology. Activarea acestei funcții permite procesorului să-și crească mai rapid frecvența de funcționare și apoi îmbunătățește capacitatea de reacție a sistemului. (Implicit: Activat) - CPU Thermal Monitor (Notă)
Activează sau dezactivează funcția Intel® Thermal Monitor, o funcție de protecție împotriva supraîncălzirii procesorului. Când este activată, frecvența și tensiunea nucleului CPU vor fi reduse atunci când CPU este supraîncălzit. Auto permite BIOS-ului să configureze automat această setare. (Implicit: Auto) - Ring to Core offset (Down Bin)
Vă permite să stabiliți dacă să dezactivați funcția de reducere automată a raportului Ring CPU. Auto permite BIOS-ului să configureze automat această setare. (Implicit: Auto) - CPU EIST Function (Notă)
Activează sau dezactivează Enhanced Intel® Speed Step Technology (EIST). În funcție de încărcarea CPU, tehnologia Intel® EIST poate reduce dinamic și eficient tensiunea CPU și frecvența nucleului pentru a reduce consumul mediu de energie și producția de căldură. Auto permite BIOS-ului să configureze automat această setare. (Implicit: Auto) - Race To Halt (RTH) (Notă)/Energy Efficient Turbo (Notă)
Activează sau dezactivează setările legate de economisirea energiei CPU. (Implicit: Auto) - Intel® Turbo Boost Technology (Notă)
Vă permite să stabiliți dacă să activați tehnologia Intel® CPU Turbo Boost. Auto permite BIOS-ului să configureze automat această setare. (Implicit: Auto) - Intel® Turbo Boost Max Technology 3.0 (Notă)
Activează sau dezactivează Intel® Turbo Boost Max Technology 3.0. Intel® Turbo Boost Max Technology 3.0 permite sistemului să identifice cel mai bun nucleu de performanță al procesorului și vă permite să direcționați manual cele mai critice sarcini de lucru către acesta. Puteți ajusta chiar și frecvența fiecărui nucleu individual pentru optimizarea performanței. (Implicit: Activat) - CPU Flex Ratio Override
Activează sau dezactivează CPU Flex Ratio. Raportul maxim de ceas CPU va fi bazat pe valoarea CPU Flex Ratio Settings dacă CPU Clock Ratio este setat la Auto. (Implicit: Dezactivat) - CPU Flex Ratio Settings
Vă permite să setați CPU Flex Ratio. Intervalul reglabil poate varia în funcție de CPU. - Frequency Clipping TVB (Notă)
Vă permite să activați sau să dezactivați reducerea automată a frecvenței CPU inițiată de Thermal Velocity Boost. Auto permite BIOS-ului să configureze automat această setare. (Implicit: Auto) - Voltage reduction initiated TVB (Notă)
Vă permite să activați sau să dezactivați reducerea automată a tensiunii CPU inițiată de Thermal Velocity Boost. Auto permite BIOS-ului să configureze automat această setare. (Implicit: Auto)
(Notă) Acest element este prezent numai atunci când instalați un CPU care acceptă această funcție. Pentru mai multe informații despre funcțiile unice ale procesoarelor Intel® , vă rugăm să vizitați site-ul web Intel.
Active Turbo Ratios
- Turbo Ratio (Core Active)
Vă permite să setați rapoartele Turbo CPU pentru nucleele active. Auto setează rapoartele Turbo CPU conform specificațiilor CPU. Acest element este configurabil numai atunci când Active Turbo Ratios este setat la Manual. (Implicit: Auto)
Per Core HT Disable Setting
- HT Disable (Notă)
Vă permite să stabiliți dacă să dezactivați funcția HT pentru fiecare nucleu CPU. Acest element este configurabil numai atunci când Per Core HT Disable Setting este setat la Manual. (Implicit: Dezactivat)
C-States Control
- CPU Enhanced Halt (C1E)
Activează sau dezactivează funcția Intel® CPU Enhanced Halt (C1E), o funcție de economisire a energiei CPU în starea de oprire a sistemului. Când este activată, frecvența și tensiunea nucleului CPU vor fi reduse în timpul stării de oprire a sistemului pentru a reduce consumul de energie. Auto permite BIOS-ului să configureze automat această setare. Acest element este configurabil numai atunci când C-States Control este setat la Enabled. (Implicit: Auto) - C3 State Support (Notă)
Vă permite să stabiliți dacă să permiteți CPU-ului să intre în modul C3 în starea de oprire a sistemului. Când este activată, frecvența și tensiunea nucleului CPU vor fi reduse în timpul stării de oprire a sistemului pentru a reduce consumul de energie. Starea C3 este o stare de economisire a energiei mai îmbunătățită decât C1. Auto permite BIOS-ului să configureze automat această setare. Acest element este configurabil numai atunci când C-States Control este setat la Enabled. (Implicit: Auto) - C6/C7 State Support
Vă permite să stabiliți dacă să permiteți CPU-ului să intre în modul C6/C7 în starea de oprire a sistemului. Când este activată, frecvența și tensiunea nucleului CPU vor fi reduse în timpul stării de oprire a sistemului pentru a reduce consumul de energie. Starea C6/C7 este o stare de economisire a energiei mai îmbunătățită decât C3. Auto permite BIOS-ului să configureze automat această setare. Acest element este configurabil numai atunci când C-States Control este setat la Enabled. (Implicit: Auto) - C8 State Support (Notă)
Vă permite să stabiliți dacă să permiteți CPU-ului să intre în modul C8 în starea de oprire a sistemului. Când este activată, frecvența și tensiunea nucleului CPU vor fi reduse în timpul stării de oprire a sistemului pentru a reduce consumul de energie. Starea C8 este o stare de economisire a energiei mai îmbunătățită decât C6/C7. Auto permite BIOS-ului să configureze automat această setare. Acest element este configurabil numai atunci când C-States Control este setat la Enabled. (Implicit: Auto) - C10 State Support (Notă)
Vă permite să stabiliți dacă să permiteți CPU-ului să intre în modul C10 în starea de oprire a sistemului. Când este activată, frecvența și tensiunea nucleului CPU vor fi reduse în timpul stării de oprire a sistemului pentru a reduce consumul de energie. Starea C10 este o stare de economisire a energiei mai îmbunătățită decât C8. Auto permite BIOS-ului să configureze automat această setare. Acest element este configurabil numai atunci când C-States Control este setat la Enabled. (Implicit: Auto) - Package C State limit (Notă)
Vă permite să specificați limita de stare C pentru procesor. Auto permite BIOS-ului să configureze automat această setare. Acest element este configurabil numai atunci când C-States Control este setat la Enabled. (Implicit: Auto)
Turbo Power Limits
Vă permite să setați o limită de putere pentru modul CPU Turbo. Atunci când consumul de energie al CPU depășește limita de putere specificată, CPU va reduce automat frecvența nucleului pentru a reduce puterea. Auto setează limita de putere conform specificațiilor CPU. (Implicit: Auto)
- Power Limit TDP (Watts) / Power Limit Time
Vă permite să setați limita de putere pentru modul CPU/platformă/memorie Turbo și cât timp este necesar pentru a funcționa la limita de putere specificată. Auto setează limita de putere conform specificațiilor CPU. Acest element este configurabil numai atunci când Turbo Power Limits este setat la Enabled. (Implicit: Auto) - Core Current Limit (Amps)
Vă permite să setați o limită de curent pentru modul CPU Turbo. Atunci când curentul CPU depășește limita de curent specificată, CPU va reduce automat frecvența nucleului pentru a reduce curentul. Auto setează limita de putere conform specificațiilor CPU. Acest element este configurabil numai atunci când Turbo Power Limits este setat la Enabled. (Implicit: Auto)
Turbo Per Core Limit Control (Notă 1)
Vă permite să controlați limita fiecărui nucleu CPU separat. (Implicit: Auto)
- Extreme Memory Profile (X.M.P.) (Notă 2)
Permite BIOS-ului să citească datele SPD de pe modulul(ele) de memorie XMP pentru a îmbunătăți performanța memoriei atunci când este activat.- Disabled: Dezactivează această funcție. (Implicit)
- Profile1: Utilizează setările Profilului 1.
- Profile2 (Notă 2): Utilizează setările Profilului 2.
- System Memory Multiplier
Vă permite să setați multiplicatorul de memorie al sistemului. Auto setează multiplicatorul de memorie conform datelor SPD ale memoriei. (Implicit: Auto) - Memory Ref Clock
Vă permite să reglați manual ceasul de referință al memoriei. (Implicit: Auto) - Memory Odd Ratio (100/133 or 200/266) (Notă 2)
Enabled permite Qclk să ruleze în frecvență impară. (Implicit: Auto) - Gear Mode (Notă 2)
Vă permite să îmbunătățiți potențialul maxim de frecvență OC. (Implicit: Auto)
(Notă) Acest element este prezent numai atunci când instalați un CPU care acceptă această funcție. Pentru mai multe informații despre funcțiile unice ale procesoarelor Intel® , vă rugăm să vizitați site-ul web Intel.
Setări avansate de memorie

- Memory Multiplier Tweaker
Oferă diferite niveluri de reglare automată a memoriei. (Implicit: Auto) - Channel Interleaving
Activează sau dezactivează intercalarea canalelor de memorie. Enabled (Activat) permite sistemului să acceseze simultan diferite canale ale memoriei pentru a crește performanța și stabilitatea memoriei. Auto (Automat) permite BIOS-ului să configureze automat această setare. (Implicit: Auto) - Rank Interleaving
Activează sau dezactivează intercalarea rangurilor de memorie. Enabled (Activat) permite sistemului să acceseze simultan diferite ranguri ale memoriei pentru a crește performanța și stabilitatea memoriei. Auto (Automat) permite BIOS-ului să configureze automat această setare. (Implicit: Auto) - Memory Boot Mode
Oferă metode de detectare și instruire a memoriei.- Auto: Permite BIOS-ului să configureze automat această setare. (Implicit)
- Normal: BIOS-ul efectuează automat instruirea memoriei. Vă rugăm să rețineți că, dacă sistemul devine instabil sau imposibil de pornit, încercați să ștergeți valorile CMOS și să resetați placa la valorile implicite. (Consultați introducerile despre jumperul bateriei/ștergerea CMOS din capitolul anterior pentru a afla cum să ștergeți valorile CMOS.)
- Enable Fast Boot: Omite detectarea și instruirea memoriei în unele criterii specifice pentru o pornire mai rapidă a memoriei.
- Disable Fast Boot: Detectează și instruiește memoria la fiecare pornire.
- Realtime Memory Timing
Vă permite să reglați fin sincronizarea memoriei după etapa BIOS-ului. (Implicit: Auto) - Memory Enhancement Settings
Oferă mai multe setări de îmbunătățire a performanței memoriei: Auto, Relax OC, Enhanced Stability, Normal (performanță de bază), Enhanced Performance, High Frequency, High Density și DDR-4500+. (Implicit: Auto) - Memory Channel Detection
Message Vă permite să determinați dacă să afișați un mesaj de alertă atunci când memoria nu este instalată în canalul de memorie optim. (Implicit: Activat)
(Notă 1) Acest element este prezent doar atunci când instalați un CPU care acceptă această caracteristică. Pentru mai multe informații despre caracteristicile unice ale procesoarelor Intel®, vă rugăm să vizitați site-ul web al Intel.
(Notă 2) Acest element este prezent doar atunci când instalați un CPU și un modul de memorie care acceptă această caracteristică.
Informații SPD
Afișează informații despre memoria instalată.
Sincronizările canalelor de memorie
Channels Standard Timing Control, Channels Advanced Timing Control, Channels Misc Timing Control
Aceste secțiuni oferă setări de sincronizare a memoriei. Notă: Sistemul dvs. poate deveni instabil sau nu poate porni după ce faceți modificări la sincronizările memoriei. Dacă se întâmplă acest lucru, vă rugăm să resetați placa la valorile implicite prin încărcarea valorilor implicite optimizate sau ștergerea valorilor CMOS.
- Vcore Voltage Mode/CPU Vcore/Dynamic Vcore (DVID)/BCLK Adaptive Voltage/CPU Graphics Voltage (VAXG)/DRAM Voltage (CH A/B)/CPU VCCIO/CPU VCCIO2/CPU System Agent Voltage/VCC Substained/VCCPLL OC/VCCVTT/VCC STG/VCC18 PCH/VCC1V8P
Aceste elemente vă permit să reglați tensiunile CPU Vcore și ale memoriei.
Setări avansate de tensiune

Acest submeniu vă permite să configurați nivelul de calibrare a liniei de încărcare, nivelul de protecție la supratensiune și nivelul de protecție la supracurent.
Setări

Alimentare platformă

- Gestionare alimentare platformă
Activează sau dezactivează funcția Active State Power Management (ASPM). (Implicit: Dezactivat) - PEG ASPM
Vă permite să configurați modul ASPM pentru dispozitivul conectat la bus-ul CPU PEG. Acest element este configurabil numai când Platform Power Management (Gestionare alimentare platformă) este setat pe Enabled (Activat). (Implicit: Dezactivat) - PCH ASPM
Vă permite să configurați modul ASPM pentru dispozitivul conectat la bus-ul PCI Express al Chipset-ului. Acest element este configurabil numai când Platform Power Management (Gestionare alimentare platformă) este setat pe Enabled (Activat). (Implicit: Dezactivat) - DMI ASPM
Vă permite să configurați modul ASPM atât pentru partea CPU cât și pentru partea Chipset a legăturii DMI. Acest element este configurabil numai când Platform Power Management (Gestionare alimentare platformă) este setat pe Enabled (Activat). (Implicit: Dezactivat) - S3 Save Mode
Vă permite să determinați dacă sistemul va intra în modul de economisire a energiei în starea S3 a sistemului. (Implicit: Dezactivat) - ErP
Determină dacă sistemul va consuma cea mai mică putere în starea S5 (oprire). (Implicit: Dezactivat)
Notă: Când acest element este setat pe Enabled (Activat), funcția Resume by Alarm (Reluare după alarmă) devine indisponibilă. - Soft-Off by PWR-BTTN
Configurează modul de oprire a computerului în modul MS-DOS folosind butonul de alimentare.- Instant-Off: Apăsați butonul de alimentare și sistemul va fi oprit instantaneu. (Implicit)
- Delay 4 Sec.: Apăsați și mențineți apăsat butonul de alimentare timp de 4 secunde pentru a opri sistemul. Dacă butonul de alimentare este apăsat pentru mai puțin de 4 secunde, sistemul va intra în modul de suspendare.
- Resume by Alarm
Determină dacă sistemul va fi pornit la ora dorită. (Implicit: Dezactivat)
Dacă este activat, setați data și ora după cum urmează:- Wake up day: Porniți sistemul la o anumită oră în fiecare zi sau într-o anumită zi dintr-o lună.
- Wake up hour/minute/second: Setați ora la care sistemul va fi pornit automat.
Notă: Când utilizați această funcție, evitați oprirea necorespunzătoare din sistemul de operare sau scoaterea alimentării de la rețea, altfel setările pot să nu fie eficiente.
- Power Loading
Activează sau dezactivează sarcina falsă. Când sursa de alimentare este la sarcină scăzută, se va activa o autoprotecție, determinând oprirea sau defectarea acesteia. Dacă se întâmplă acest lucru, setați la Enabled (Activat). Auto (Automat) permite BIOS-ului să configureze automat această setare. (Implicit: Auto) - RC6 (Render Standby)
Vă permite să determinați dacă placa grafică integrată va intra în modul standby pentru a reduce consumul de energie. (Implicit: Activat) - AC BACK
Determină starea sistemului după revenirea alimentării după o pierdere de energie CA.- Memory: Sistemul revine la ultima sa stare cunoscută activă la revenirea alimentării CA.
- Always On: Sistemul este pornit la revenirea alimentării CA.
- Always Off: Sistemul rămâne oprit la revenirea alimentării CA. (Implicit)
Porturi IO

- Initial Display Output
Specifică prima inițiere a afișajului monitorului de la placa grafică PCI Express instalată sau de la grafica integrată.- IGFX (Notă): Setează grafica integrată ca prim afișaj.
- PCIe 1 Slot: Setează placa grafică de pe slotul PCIEX16 ca prim afișaj. (Implicit)
- PCIe 2 Slot: Setează placa grafică de pe slotul PCIEX8 ca prim afișaj.
- PCIe 3 Slot: Setează placa grafică de pe slotul PCIEX4 ca prim afișaj.
Acest element este configurabil numai când CSM Support (Suport CSM) este setat pe Enabled (Activat).
- Internal Graphics
Activează sau dezactivează funcția grafică integrată. (Implicit: Auto) - DVMT Pre-Allocated
Vă permite să setați dimensiunea memoriei grafice integrate. - DVMT Total Gfx Mem
Vă permite să alocați dimensiunea memoriei DVMT a graficii integrate. Opțiunile sunt: 128M, 256M, MAX. (Implicit: 256M) - Aperture Size
Vă permite să setați cantitatea maximă de memorie de sistem care poate fi alocată plăcii grafice. Opțiunile sunt: 128MB, 256MB, 512MB, 1024MB și 2048MB. (Implicit: 256MB) - PCIE Bifurcation Support
Vă permite să determinați modul în care este împărțită lățimea de bandă a slotului PCIEX16. Opțiuni: Auto, PCIE x 8/x8, P CIE x 8/x4/x4. (Implicit: Auto) - OnBoard LAN Controller (Aquantia 10GbE LAN Chip, LAN1)
Activează sau dezactivează funcția Aquantia 10GbE LAN. (Implicit: Activat)
Dacă doriți să instalați o placă de rețea suplimentară de la o terță parte în loc să utilizați LAN-ul integrat, setați acest element pe Disabled (Dezactivat). - OnBoard LAN Controller#2 (Intel® 2.5GbE LAN Chip, LAN2)
Activează sau dezactivează funcția Intel® 2.5GbE LAN. (Implicit: Activat)
Dacă doriți să instalați o placă de rețea suplimentară de la o terță parte în loc să utilizați LAN-ul integrat, setați acest element pe Disabled (Dezactivat). - Audio Controller
Activează sau dezactivează funcția audio integrată. (Implicit: Activat)
Dacă doriți să instalați o placă audio suplimentară de la o terță parte în loc să utilizați sunetul integrat, setați acest element pe Disabled (Dezactivat). - Above 4G Decoding
Activează sau dezactivează decodarea dispozitivelor compatibile cu 64 de biți în spațiul de adrese de peste 4 GB (numai dacă sistemul dvs. acceptă decodarea PCI pe 64 de biți). Setați la Enabled (Activat) dacă sunt instalate mai multe plăci grafice avansate și driverele lor nu pot fi lansate la intrarea în sistemul de operare (din cauza spațiului limitat de adrese de memorie de 4 GB). (Implicit: Dezactivat) - IOAPIC 24-119 Entries
Activează sau dezactivează această funcție. (Implicit: Activat)
(Notă) Acest element este prezent numai când instalați un CPU care acceptă această funcție.
Configurație USB
- Legacy USB Support
Permite utilizarea tastaturii/mouse-ului USB în MS-DOS. (Implicit: Activat) - XHCI Hand-off
Determină dacă se activează funcția XHCI Hand-off pentru un sistem de operare fără suport XHCI Hand-off. (Implicit: Activat) - USB Mass Storage Driver Support
Activează sau dezactivează suportul pentru dispozitivele de stocare USB. (Implicit: Activat) - Mass Storage Devices
Afișează o listă de dispozitive de stocare în masă USB conectate. Acest element apare numai când este instalat un dispozitiv de stocare USB.
Configurație stivă de rețea
- Network Stack
Dezactivează sau activează bootarea de la rețea pentru a instala un sistem de operare în format GPT, cum ar fi instalarea sistemului de operare de pe serverul Windows Deployment Services. (Implicit: Dezactivat) - IPv4 PXE Support
Activează sau dezactivează suportul IPv4 PXE. Acest element este configurabil numai când Network Stack (Stivă de rețea) este activat. - IPv4 HTTP Support
Activează sau dezactivează suportul de bootare HTTP pentru IPv4. Acest element este configurabil numai când Network Stack (Stivă de rețea) este activat. - IPv6 PXE Support
Activează sau dezactivează suportul IPv6 PXE. Acest element este configurabil numai când Network Stack (Stivă de rețea) este activat. - IPv6 HTTP Support
Activează sau dezactivează suportul de bootare HTTP pentru IPv6. Acest element este configurabil numai când Network Stack (Stivă de rețea) este activat. - PXE boot wait time
Vă permite să configurați cât timp să așteptați înainte de a putea apăsa <Esc> pentru a anula bootarea PXE. Acest element este configurabil numai când Network Stack (Stivă de rețea) este activat. (Implicit: 0) - Media detect count
Vă permite să setați numărul de ori pentru a verifica prezența suportului media. Acest element este configurabil numai când Network Stack (Stivă de rețea) este activat. (Implicit: 1)
Configurație NVMe
Afișează informații despre SSD-ul dvs. M.2 NVME PCIe dacă este instalat.
Configurație SATA și RST
- SATA Controller(s)
Activează sau dezactivează controlerele SATA integrate. (Implicit: Activat) - SATA Mode Selection
Activează sau dezactivează RAID pentru controlerele SATA integrate în Chipset sau configurează controlerele SATA în modul AHCI.- Intel RST Premium With Intel Optane System Acceleration: Activează RAID pentru controlerul SATA.
- AHCI: Configurează controlerele SATA în modul AHCI. Advanced Host Controller Interface (AHCI) este o specificație de interfață care permite driverului de stocare să activeze funcții Serial ATA avansate, cum ar fi Native Command Queuing și hot plug. (Implicit)
- Aggressive LPM Support
Activează sau dezactivează funcția de economisire a energiei, ALPM (Aggressive Link Power Management), pentru controlerele SATA ale Chipset-ului. (Implicit: Dezactivat) - Port 0/1/2/3/4/5
Activează sau dezactivează fiecare port SATA. (Implicit: Activat) - SATA Port 0/1/2/3/4/5 DevSlp
Vă permite să determinați dacă dispozitivul SATA conectat va intra în modul de repaus. (Implicit: Dezactivat) - Hot plug
Activează sau dezactivează capacitatea hot plug pentru fiecare port SATA. (Implicit: Dezactivat) - Configured as eSATA
Activează sau dezactivează suportul pentru dispozitivele SATA externe.
Diverse

- LEDs in System Power On State
Vă permite să activați sau să dezactivați iluminarea LED-urilor plăcii de bază când sistemul este pornit.- Off: Dezactivează modul de iluminare selectat când sistemul este pornit.
- On: Activează modul de iluminare selectat când sistemul este pornit. (Implicit)
- LEDs in Sleep, Hibernation, and Soft Off States
Vă permite să setați modul de iluminare al LED-urilor plăcii de bază în starea S3/S4/S5 a sistemului.
Acest element este configurabil când LEDs in System Power On State (LED-uri în starea de pornire a sistemului) este setat pe On (Activat).- Off: Dezactivează modul de iluminare selectat când sistemul intră în starea S3/S4/S5. (Implicit)
- On: Activează modul de iluminare selectat când sistemul intră în starea S3/S4/S5.
- RST_SW (MULTIKEY) (Funcționalitatea butonului RST_SW)
- Setați acest buton la HW Reset: Utilizați butonul pentru a reseta sistemul. (Implicit)
- Setați acest buton la Switch LED On/Off: Utilizați butonul pentru a porni/opri LED-urile plăcii de bază.
- Setați acest buton la Enter BIOS Setup: Utilizați butonul pentru a intra în BIOS Setup.
- Setați acest buton la Boot on Safe Mode: Utilizați butonul pentru a boota sistemul în modul sigur.
- Onboard DB Port LED
Vă permite să activați sau să dezactivați iluminarea LED a LED-urilor de depanare ale plăcii de bază când sistemul este pornit. (Implicit: Activat) - Intel Platform Trust Technology (PTT)
Activează sau dezactivează tehnologia Intel® PTT. (Implicit: Dezactivat) - 3DMark01 Enhancement
Vă permite să determinați dacă se va îmbunătăți performanța unor benchmark-uri vechi. (Implicit: Dezactivat) - CPU PCIe Link Speed
Vă permite să setați modul de operare al sloturilor PCI Express controlate de CPU la Gen 1, Gen 2, Gen 3 sau Gen 4 (Notă). Modul de operare real este supus specificațiilor hardware ale fiecărui slot. Auto (Automat) permite BIOS-ului să configureze automat această setare. (Implicit: Auto) - PCH PCIe Link Speed
Vă permite să setați modul de operare al sloturilor PCI Express controlate de Chipset la Gen 1, Gen 2 sau Gen 3. Modul de operare real este supus specificațiilor hardware ale fiecărui slot. Auto (Automat) permite BIOS-ului să configureze automat această setare. (Implicit: Auto) - VT-d
Activează sau dezactivează tehnologia Intel® Virtualization Technology for Directed I/O (Tehnologia de virtualizare Intel pentru I/O direct). (Implicit: Activat)
(Notă) Acest element este prezent numai când instalați un CPU care acceptă această funcție.
Trusted Computing
Activează sau dezactivează Trusted Platform Module (TPM).
Starea de sănătate a PC-ului

- Reset Case Open Status
- Disabled: Păstrează sau șterge înregistrarea stării anterioare de intruziune în șasiu. (Implicit)
- Enabled: Șterge înregistrarea stării anterioare de intruziune în șasiu și câmpul Case Open (Șasiu deschis) va afișa "No" (Nu) la următoarea bootare.
- Case Open
Afișează starea de detecție a dispozitivului de detecție a intruziunii în șasiu atașat la header-ul CI al plăcii de bază. Dacă capacul șasiului sistemului este scos, acest câmp va afișa "Yes" (Da), altfel va afișa "No" (Nu). Pentru a șterge înregistrarea stării de intruziune în șasiu, setați Reset Case Open Status (Resetare stare șasiu deschis) la Enabled (Activat), salvați setările în CMOS și apoi reporniți sistemul. - CPU Vcore/CPU VCCSA/CPU VCCIO/DRAM Channel A/B Voltage/DDRVpp A/B/+3.3V/+5V/PCH 1.8V/+12V/CPU VAXG
Afișează tensiunile curente ale sistemului.
Informații sistem

Această secțiune oferă informații despre modelul plăcii de bază și versiunea BIOS-ului. De asemenea, puteți selecta limba implicită utilizată de BIOS și puteți seta manual ora sistemului.
- Nivel de acces
Afișează nivelul curent de acces, în funcție de tipul de protecție prin parolă utilizat. (Dacă nu este setată nicio parolă, implicit se va afișa ca Administrator.) Nivelul de Administrator vă permite să faceți modificări la toate setările BIOS-ului; nivelul de Utilizator vă permite doar să faceți modificări la anumite setări ale BIOS-ului, dar nu la toate. - Limba sistemului
Selectează limba implicită utilizată de BIOS. - Data sistemului
Setează data sistemului. Formatul datei este săptămâna (doar pentru citire), luna, ziua și anul. Utilizați <Enter> pentru a comuta între câmpurile Lună, Zi și An și utilizați tasta <Page Up> sau <Page Down> pentru a seta valoarea dorită. - Ora sistemului
Setează ora sistemului. Formatul orei este ora, minutul și secunda. De exemplu, ora 13:00 este 13:00:00. Utilizați <Enter> pentru a comuta între câmpurile Oră, Minut și Secundă și utilizați tasta <Page Up> sau <Page Down> pentru a seta valoarea dorită.
Informații despre dispozitivele conectate
Afișează informații despre dispozitivele PCI Express și M.2 dacă sunt instalate.
Q-Flash
Vă permite să accesați utilitarul Q-Flash pentru a actualiza BIOS-ul sau pentru a face o copie de rezervă a configurației curente a BIOS-ului.
Boot

- Stare Bootup NumLock
Activează sau dezactivează funcția Numlock pe tastatura numerică a tastaturii după POST. (Implicit: Activat) - CFG Lock
Activează sau dezactivează blocarea MSR 0xE2. (Implicit: Dezactivat) - Opțiune de securitate
Specifică dacă este necesară o parolă de fiecare dată când sistemul pornește sau doar când intrați în configurarea BIOS-ului. După configurarea acestui element, setați parola/parolele sub elementul Parola de administrator/Parola de utilizator.- Configurare: O parolă este necesară doar pentru a intra în programul de configurare a BIOS-ului.
- Sistem: O parolă este necesară pentru pornirea sistemului și pentru intrarea în programul de configurare a BIOS-ului. (Implicit)
- Afișare LOGO pe ecran complet
Vă permite să determinați dacă să afișați sigla GIGABYTE la pornirea sistemului. Dezactivat omite sigla GIGABYTE când sistemul pornește. (Implicit: Activat) - Priorități opțiuni de bootare
Specifică ordinea generală de bootare de pe dispozitivele disponibile. Dispozitivele de stocare amovibile care acceptă formatul GPT vor avea prefixul „UEFI:” pe lista de dispozitive de bootare. Pentru a boota de pe un sistem de operare care acceptă partiționarea GPT, selectați dispozitivul cu prefixul „UEFI:”.
Sau dacă doriți să instalați un sistem de operare care acceptă partiționarea GPT, cum ar fi Windows 10 pe 64 de biți, selectați unitatea optică care conține discul de instalare Windows 10 pe 64 de biți și care are prefixul „UEFI:”. - Fast Boot
Activează sau dezactivează Fast Boot (Pornire rapidă) pentru a scurta procesul de bootare a sistemului de operare. Ultra Fast (Ultra rapid) oferă cea mai rapidă viteză de bootare. (Implicit: Dezactivare link) - SATA Support
- Last Boot SATA Devices Only (Numai ultimele dispozitive SATA de bootare): Cu excepția unității de bootare anterioare, toate dispozitivele SATA sunt dezactivate înainte de finalizarea procesului de bootare a sistemului de operare. (Implicit)
- All SATA Devices (Toate dispozitivele SATA): Toate dispozitivele SATA sunt funcționale în sistemul de operare și în timpul POST.
Acest element poate fi configurat doar când Fast Boot (Pornire rapidă) este setat la Enabled (Activat) sau Ultra Fast (Ultra rapid).
- Suport VGA
Vă permite să selectați ce tip de sistem de operare să bootați.- Auto: Activează doar ROM-ul opțiunii legacy.
- Driver EFI: Activează ROM-ul opțiunii EFI. (Implicit)
Acest element poate fi configurat doar când Fast Boot (Pornire rapidă) este setat la Enabled (Activat) sau Ultra Fast (Ultra rapid).
- Suport USB
- Disable Link (Dezactivare link): Toate dispozitivele USB sunt dezactivate înainte de finalizarea procesului de bootare a sistemului de operare.
- Full Initial (Inițializare completă): Toate dispozitivele USB sunt funcționale în sistemul de operare și în timpul POST. (Implicit)
- Partial Initial (Inițializare parțială): O parte din dispozitivele USB sunt dezactivate înainte de finalizarea procesului de bootare a sistemului de operare.
Acest element poate fi configurat doar când Fast Boot (Pornire rapidă) este setat la Enabled (Activat) sau Ultra Fast (Ultra rapid). Această funcție este dezactivată când Fast Boot (Pornire rapidă) este setat la Ultra Fast (Ultra rapid).
- Suport driver stivă de rețea
- Disable Link (Dezactivare link): Dezactivează bootarea de pe rețea. (Implicit)
- Enabled (Activat): Activează bootarea de pe rețea.
Acest element poate fi configurat doar când Fast Boot (Pornire rapidă) este setat la Enabled (Activat) sau Ultra Fast (Ultra rapid).
- Următoarea bootare după pierderea alimentării cu curent alternativ
- Normal Boot (Bootare normală): Activează bootarea normală la revenirea alimentării cu curent alternativ. (Implicit)
- Fast Boot (Pornire rapidă): Păstrează setările Fast Boot (Pornire rapidă) la revenirea alimentării cu curent alternativ.
Acest element poate fi configurat doar când Fast Boot (Pornire rapidă) este setat la Enabled (Activat) sau Ultra Fast (Ultra rapid).
- Viteza mouse-ului
Vă permite să setați viteza de mișcare a cursorului mouse-ului. (Implicit: 1 X) - Funcții Windows 10
Vă permite să selectați sistemul de operare care urmează să fie instalat. (Implicit: Windows 10) - Suport CSM
Activează sau dezactivează UEFI CSM (Compatibility Support Module - Modul de suport pentru compatibilitate) pentru a suporta un proces de bootare PC legacy.- Disabled (Dezactivat): Dezactivează UEFI CSM și acceptă doar procesul de bootare UEFI BIOS. (Implicit)
- Enabled (Activat): Activează UEFI CSM.
- LAN PXE Boot Option ROM
Vă permite să selectați dacă să activați ROM-ul opțiunii legacy pentru controlerul LAN. (Implicit: Dezactivat) Acest element poate fi configurat doar când CSM Support (Suport CSM) este setat la Enabled (Activat). - Storage Boot Option Control
Vă permite să selectați dacă să activați UEFI sau ROM-ul opțiunii legacy pentru controlerul dispozitivului de stocare.- Do not launch (Nu se lansează): Dezactivează ROM-ul opțiunii.
- UEFI: Activează doar ROM-ul opțiunii UEFI.
- Legacy: Activează doar ROM-ul opțiunii legacy. (Implicit)
Acest element poate fi configurat doar când CSM Support (Suport CSM) este setat la Enabled (Activat).
- Alte dispozitive PCI
Vă permite să selectați dacă să activați UEFI sau ROM-ul opțiunii Legacy pentru controlerul dispozitivului PCI, altul decât controlerele LAN, ale dispozitivului de stocare și grafice.- Do not launch (Nu se lansează): Dezactivează ROM-ul opțiunii.
- UEFI: Activează doar ROM-ul opțiunii UEFI. (Implicit)
- Legacy: Activează doar ROM-ul opțiunii legacy.
Acest element poate fi configurat doar când CSM Support (Suport CSM) este setat la Enabled (Activat).
- Parola de administrator
Vă permite să configurați o parolă de administrator. Apăsați <Enter> pe acest element, introduceți parola și apoi apăsați <Enter>. Vi se va solicita să confirmați parola. Introduceți din nou parola și apăsați <Enter>. Trebuie să introduceți parola de administrator (sau parola de utilizator) la pornirea sistemului și când intrați în configurarea BIOS-ului. Spre deosebire de parola de utilizator, parola de administrator vă permite să faceți modificări la toate setările BIOS-ului. - Parola de utilizator
Vă permite să configurați o parolă de utilizator. Apăsați <Enter> pe acest element, introduceți parola și apoi apăsați <Enter>. Vi se va solicita să confirmați parola. Introduceți din nou parola și apăsați <Enter>. Trebuie să introduceți parola de administrator (sau parola de utilizator) la pornirea sistemului și când intrați în configurarea BIOS-ului. Cu toate acestea, parola de utilizator vă permite doar să faceți modificări la anumite setări ale BIOS-ului, dar nu la toate. Pentru a anula parola, apăsați <Enter> pe elementul parolei și, când vi se solicită parola, introduceți-o mai întâi pe cea corectă. Când vi se solicită o parolă nouă, apăsați <Enter> fără a introduce nicio parolă. Apăsați <Enter> din nou când vi se solicită confirmarea.
NOTĂ: Înainte de a seta Parola de utilizator, asigurați-vă că ați setat mai întâi Parola de administrator.
Secure Boot
Vă permite să activați sau să dezactivați Secure Boot (Bootare sigură) și să configurați setările aferente. Acest element poate fi configurat doar când CSM Support (Suport CSM) este setat la Disabled (Dezactivat).
- Preferred Operating Mode
Vă permite să selectați dacă să intrați în modul Easy (Ușor) sau în modul Advanced (Avansat) după intrarea în configurarea BIOS-ului. Auto intră în modul BIOS în care a fost ultima dată. (Implicit: Auto)
Salvare și ieșire

- Salvare și ieșire din configurare
Apăsați <Enter> pe acest element și selectați Yes (Da). Aceasta salvează modificările în CMOS și iese din programul de configurare a BIOS-ului. Selectați No (Nu) sau apăsați <Esc> pentru a reveni la meniul principal de configurare a BIOS-ului. - Ieșire fără salvare
Apăsați <Enter> pe acest element și selectați Yes (Da). Aceasta iese din configurarea BIOS-ului fără a salva modificările efectuate în configurarea BIOS-ului în CMOS. Selectați No (Nu) sau apăsați <Esc> pentru a reveni la meniul principal de configurare a BIOS-ului. - Încărcare valori implicite optimizate
Apăsați <Enter> pe acest element și selectați Yes (Da) pentru a încărca setările implicite optime ale BIOS-ului. Setările implicite ale BIOS-ului ajută sistemul să funcționeze în stare optimă. Încărcați întotdeauna valorile implicite optimizate după actualizarea BIOS-ului sau după ștergerea valorilor CMOS. - Bootare forțată
Vă permite să selectați un dispozitiv pentru a boota imediat. Apăsați <Enter> pe dispozitivul pe care îl selectați și selectați Yes (Da) pentru a confirma. Sistemul dvs. va reporni automat și va boota de pe acel dispozitiv. - Salvare profiluri
Această funcție vă permite să salvați setările curente ale BIOS-ului într-un profil. Puteți crea până la 8 profiluri și salva ca Profil de configurare 1 ~ Profil de configurare 8. Apăsați <Enter> pentru a finaliza. Sau puteți selecta Select File in HDD/FDD/USB (Selectați fișierul în HDD/FDD/USB) pentru a salva profilul pe dispozitivul dvs. de stocare. - Încărcare profiluri
Dacă sistemul dvs. devine instabil și ați încărcat setările implicite ale BIOS-ului, puteți utiliza această funcție pentru a încărca setările BIOS-ului dintr-un profil creat anterior, fără bătăile de cap ale reconfigurării setărilor BIOS-ului. Mai întâi selectați profilul pe care doriți să îl încărcați și apoi apăsați <Enter> pentru a finaliza. Puteți selecta Select File in HDD/FDD/USB (Selectați fișierul în HDD/FDD/USB) pentru a introduce profilul creat anterior de pe dispozitivul dvs. de stocare sau pentru a încărca profilul creat automat de BIOS, cum ar fi revenirea setărilor BIOS-ului la ultimele setări care au funcționat corect (ultima înregistrare bună cunoscută).
Configurarea unui set RAID
Niveluri RAID
Pentru a crea un set RAID, urmați pașii de mai jos:
- Instalați hard disk-uri SATA sau SSD-uri în computer.
- Configurați modul controlerului SATA în BIOS Setup.
- Configurați o matrice RAID în RAID BIOS. (Notă 1)
- Instalați driverul RAID și sistemul de operare.
Înainte de a începe, vă rugăm să pregătiți următoarele elemente:
- Cel puțin două hard disk-uri SATA sau SSD-uri (Notă 2) (pentru a asigura o performanță optimă, se recomandă să utilizați două hard disk-uri cu model și capacitate identice). (Notă 3)
- Un disc de instalare Windows.
- Unitate flash USB AORUS cu drivere.
(Notă 1) Omiteți acest pas dacă nu doriți să creați o matrice RAID pe controlerul SATA.
(Notă 2) Un SSD M.2 PCIe nu poate fi utilizat pentru a configura un set RAID nici cu un SSD M.2 SATA, nici cu un hard disk SATA.
(Notă 3) Consultați „Conectori interni” pentru notificările de instalare pentru conectorii M.2 și SATA.
Configurarea controlerelor SATA
Instalarea hard disk-urilor
Instalați hard disk-urile/SSD-urile în conectorii controlați de chipsetul Intel® de pe placa de bază. Apoi conectați conectorii de alimentare de la sursa de alimentare la hard disk-uri.
Configurarea modului controlerului SATA în BIOS Setup
Asigurați-vă că configurați corect modul controlerului SATA în BIOS Setup al sistemului.
Pași:
Porniți computerul și apăsați <Delete> pentru a intra în BIOS Setup în timpul POST (Power-On Self-Test). Accesați Settings\IO Ports\SATA And RST Configuration, asigurați-vă că SATA Controller(s) este activat. Pentru a crea RAID, setați SATA Mode Selection to Intel RST Premium With Intel Optane System Acceleration. Apoi salvați setările și reporniți computerul (Figura 1). Notă: Când utilizați un SSD PCIe, asigurați-vă că setați elementul RST Control PCIe Storage Devices de sub Settings\IO Ports\SATA And RST Configuration la Manual. Apoi, în funcție de conectorul M.2 pe care îl utilizați, setați elementul corespunzător PCIe Storage Dev on Port XX la RST Controlled. În cele din urmă, salvați setările și ieșiți din BIOS Setup.

Configurare RAID UEFI
Pasul 1:
După repornirea sistemului, intrați din nou în BIOS Setup. Apoi intrați în submeniul Settings\IO Ports\Intel(R) Rapid Storage Technology (Figura 2).

Meniurile BIOS Setup descrise în această secțiune pot diferi de setările exacte pentru placa de bază. Opțiunile reale din meniul BIOS Setup pe care le veți vedea vor depinde de placa de bază pe care o aveți și de versiunea BIOS-ului.
Pasul 2:
În meniul Intel(R) Rapid Storage Technology, apăsați <Enter> pe Create RAID Volume pentru a intra în ecranul Create RAID Volume. Introduceți un nume de volum cu 1~16 litere (literele nu pot fi caractere speciale) sub elementul Name și apăsați <Enter>. Apoi, selectați un nivel RAID (Figura 3). Nivelurile RAID acceptate includ RAID 0, RAID 1, RAID 10 și RAID 5 (selecțiile disponibile depind de numărul de hard disk-uri instalate). Apoi, utilizați tasta săgeată în jos pentru a vă deplasa la Select Disks.

Pasul 3:
Sub elementul Select Disks, selectați hard disk-urile care vor fi incluse în matricea RAID. Apăsați tasta <Space> pe hard disk-urile care urmează să fie selectate (hard disk-urile selectate sunt marcate cu „X”). Apoi setați dimensiunea blocului stripe (Figura 4). Dimensiunea blocului stripe poate fi setată de la 4 KB la 128 KB. După ce ați selectat dimensiunea blocului stripe, setați capacitatea volumului.

Pasul 4:
După setarea capacității, deplasați-vă la Create Volume și apăsați <Enter> pentru a începe. (Figura 5)

După finalizare, veți fi readus la ecranul Intel® Rapid Storage Technology. Sub RAID Volumes puteți vedea noul volum RAID. Pentru a vedea informații mai detaliate, apăsați <Enter> pe volum pentru a verifica informațiile despre nivelul RAID, dimensiunea blocului stripe, numele matricei și capacitatea matricei etc. (Figura 6)

Ștergere volum RAID
Pentru a șterge o matrice RAID, apăsați <Enter> pe volumul care urmează să fie șters pe ecranul Intel® Rapid Storage Technology. După ce ați intrat în ecranul RAID VOLUME INFO, apăsați <Enter> pe Delete pentru a intra în ecranul Delete . Apăsați <Enter> pe Yes (Figura 7).

Instalarea driverului RAID și a sistemului de operare
Cu setările BIOS corecte, sunteți gata să instalați sistemul de operare.
Deoarece unele sisteme de operare includ deja driverul RAID, nu trebuie să instalați un driver RAID separat în timpul procesului de instalare Windows. După instalarea sistemului de operare, vă recomandăm să instalați toate driverele necesare de pe discul cu drivere al plăcii de bază folosind "Xpress Install" pentru a asigura performanța și compatibilitatea sistemului. Dacă sistemul de operare care urmează să fie instalat necesită să furnizați un driver RAID suplimentar în timpul procesului de instalare a sistemului de operare, vă rugăm să consultați pașii de mai jos:
Pasul 1:
Bootați de pe discul de instalare Windows și efectuați pașii standard de instalare a sistemului de operare. Când apare ecranul care vă solicită să încărcați driverul, selectați Browse (Răsfoire).
Pasul 2:
Introduceți unitatea flash USB AORUS furnizată și apoi navigați la locația driverului. Locația driverului este următoarea:
Boot\IRST\f6flpy-x64
Pasul 3:
Când apare un ecran așa cum se arată în Figura 1, selectați Intel® Chipset SATA/PCIe RST Premium Controller și faceți clic pe Next pentru a încărca driverul și a continua instalarea sistemului de operare.

Instalarea Intel® Optane™ Memory and Storage Management

Pasul 1:
După ce ați intrat în sistemul de operare, introduceți unitatea flash USB AORUS în computer. Pe ecranul Xpress Install, selectați Intel® Rapid Storage Technology pentru a instala și urmați instrucțiunile de pe ecran pentru a finaliza instalarea. Când ați terminat, reporniți sistemul.
Pasul 2:
După ce instalați driverele plăcii de bază incluse, asigurați-vă că conexiunea la Internet funcționează corect. Sistemul va instala automat software-ul de la Intel®. Reporniți sistemul după instalarea driverului.
Activarea unui Intel® Optane™ Memory
Cerințe de sistem
- Intel® Optane™ memory
- Memoria Optane™ trebuie să aibă o capacitate de cel puțin 16 GB și trebuie să aibă o capacitate egală sau mai mică decât hard disk-ul/SSD-ul care urmează să fie accelerat.
- Memoria Optane™ nu poate fi utilizată pentru a accelera o matrice RAID existentă; hard disk-ul/SSD-ul accelerat nu poate fi inclus într-o matrice RAID.
- Hard disk-ul/SSD-ul care urmează să fie accelerat trebuie să fie un hard disk SATA sau SSD M.2 SATA.
- Hard disk-ul/SSD-ul care urmează să fie accelerat poate fi o unitate de sistem sau o unitate de date. Unitatea de sistem trebuie să fie formatată GPT și să aibă Windows 10 pe 64 de biți (sau o versiune ulterioară) instalat pe ea. Unitatea de date trebuie să fie, de asemenea, formatată GPT.
- Controlerul SATA trebuie setat în modul Intel RST Premium With Intel Optane System Acceleration.
Instrucțiuni de instalare
Pasul 1:
Accesați Settings\IO Ports\SATA And RST Configuration și asigurați-vă că RST Control PCIe Storage Devices este setat la Manual. Apoi, în funcție de conectorul M.2 în care instalați memoria Optane™, setați elementul corespunzător PCIe Storage Dev on Port XX la RST Controlled.

Pasul 2:
După reintroducerea sistemului de operare, lansați aplicația Intel® Optane™ Memory and Storage Management din meniul Start. Dacă instalați mai mult de o memorie Optane™, vă rugăm să selectați pe care dintre ele o veți folosi. Apoi selectați ce unitate va fi accelerată. Faceți clic pe Enable Intel® Optane™ Memory. Toate datele de pe memoria Optane™ vor fi șterse. Asigurați-vă că faceți o copie de rezervă a datelor înainte de a continua. Urmați instrucțiunile de pe ecran pentru a continua. Când ați terminat, reporniți sistemul.

Pasul 3:
Lansați aplicația Intel® Optane™ Memory and Storage Management din meniul Start și asigurați-vă că Intel® Optane™ Memory a fost activată.

Pasul 4:
Dacă doriți să accelerați unitatea de sistem, puteți selecta foldere, fișiere sau aplicații specifice pentru a accelera utilizând funcția Intel® Optane™ Memory Pinning. (Memoria Optane™ utilizată trebuie să aibă o capacitate de cel puțin 32 GB.)


- O memorie Optane™ nu poate fi utilizată pentru a accelera un SSD M.2 PCIe.
- Dacă este instalată mai mult de o memorie Optane™, puteți selecta doar una dintre ele pentru a accelera unitatea de boot bazată pe SATA. Cealaltă(e) poate(pot) fi utilizată(e) doar ca unitate(ți) de date.
- Nu scoateți brusc memoria Optane™. Acest lucru va face ca sistemul de operare să nu mai funcționeze corect.
- Dacă doriți să schimbați/eliminați memoria Optane™, trebuie să o dezactivați mai întâi folosind aplicația Intel® Optane™ Memory and Storage Management.
- După activarea memoriei Optane™, setările BIOS aferente vor rămâne chiar și după o actualizare BIOS.
Reconstruirea unei matrice
Reconstruirea este procesul de restaurare a datelor pe un hard disk de pe alte unități din matrice. Reconstruirea se aplică numai matricelor tolerante la erori, cum ar fi matricele RAID 1, RAID 5 sau RAID 10. Procedurile de mai jos presupun că o nouă unitate este adăugată pentru a înlocui o unitate defectă pentru a reconstrui o matrice RAID 1. (Notă: Noua unitate trebuie să aibă o capacitate egală sau mai mare decât cea veche.)
Opriți computerul și înlocuiți hard disk-ul defect cu unul nou. Reporniți computerul.
În timp ce vă aflați în sistemul de operare, lansați utilitarul Intel® Optane™ Memory and Storage Management din meniul Start.
Pasul 1:
Accesați meniul Manage și faceți clic pe Rebuild to another disk în Manage Volume.

Pasul 2:
Selectați o nouă unitate pentru a reconstrui RAID-ul și faceți clic pe Rebuild.

Elementul Status din dreapta ecranului afișează progresul reconstruirii. După reconstruirea volumului RAID 1, Status se va afișa ca Normal.

Instalarea driverelor

- Înainte de a instala driverele, instalați mai întâi sistemul de operare.
- După instalarea sistemului de operare, introduceți discul cu drivere al plăcii de bază în unitatea optică. Faceți clic pe mesajul "Tap to choose what happens with this disc" (Atingeți pentru a alege ce se întâmplă cu acest disc) din colțul din dreapta sus al ecranului și selectați "Run Run.exe." (Execută Run.exe). (Sau accesați Computerul meu, faceți dublu clic pe unitatea optică și executați programul Run.exe.)
Drivere și software
"Xpress Install" (Instalare Xpress) va scana automat sistemul și apoi va lista toate driverele recomandate pentru instalare. Puteți face clic pe butonul Xpress Install și "Xpress Install" (Instalare Xpress) va instala toate driverele selectate. Sau faceți clic pe săgeată
pentru a instala individual driverele de care aveți nevoie.


- Vă rugăm să ignorați casetele de dialog pop-up (de exemplu, Expertul de găsit hardware nou) afișate atunci când "Xpress Install" (Instalare Xpress) instalează driverele. Nerespectarea acestui lucru poate afecta instalarea driverului.
- Unele drivere de dispozitiv vor reporni automat sistemul în timpul instalării driverului. După repornirea sistemului, "Xpress Install" (Instalare Xpress) va continua să instaleze alte drivere.
Software de aplicație
Această pagină afișează aplicațiile pe care GIGABYTE le dezvoltă și unele software-uri gratuite. Puteți selecta aplicațiile dorite și faceți clic pe pictograma Install (Instalare)
pentru a începe instalarea.

Informații
Această pagină oferă informații detaliate despre driverele de pe discul cu drivere. Pagina Contact (Contact) oferă informații de contact ale sediului GIGABYTE Taiwan. Puteți face clic pe URL-ul de pe această pagină pentru a accesa site-ul web GIGABYTE pentru a verifica mai multe informații despre sediul GIGABYTE sau filialele din întreaga lume.

Caracteristici unice
Utilitare de actualizare BIOS
Plăcile de bază GIGABYTE oferă două instrumente unice de actualizare BIOS, Q-Flash™ și @BIOS™. GIGABYTE Q-Flash și @BIOS sunt ușor de utilizat și vă permit să actualizați BIOS-ul fără a fi nevoie să intrați în modul MS-DOS. În plus, această placă de bază dispune de designul DualBIOS™ și acceptă Q-Flash Plus, oferind protecție multiplă pentru siguranța și stabilitatea computerului dumneavoastră.
Ce este DualBIOS™?
Plăcile de bază care acceptă DualBIOS au două BIOS-uri la bord, un BIOS principal și un BIOS de rezervă. În mod normal, sistemul funcționează pe BIOS-ul principal. Cu toate acestea, dacă BIOS-ul principal este corupt sau deteriorat, BIOS-ul de rezervă va prelua controlul la următoarea pornire a sistemului pentru a asigura funcționarea normală a sistemului.
Ce este Q-Flash Plus?
Q-Flash Plus vă permite să actualizați BIOS-ul atunci când sistemul dumneavoastră este oprit (stare de oprire S5). Salvați cel mai recent BIOS pe o unitate USB și conectați-o la portul dedicat, apoi puteți acum să flash-uiți automat BIOS-ul pur și simplu apăsând butonul Q-Flash Plus.
Ce este Q-Flash™?
Cu Q-Flash puteți actualiza BIOS-ul sistemului fără a fi nevoie să intrați mai întâi în sisteme de operare precum MS-DOS sau Window. Încorporat în BIOS, instrumentul Q-Flash vă scutește de necazurile de a trece printr-un proces complicat de flashing a BIOS-ului.
Ce este @BIOS™?
@BIOS vă permite să actualizați BIOS-ul sistemului în timp ce vă aflați în mediul Windows. @BIOS va descărca cel mai recent fișier BIOS de pe cel mai apropiat site al serverului @BIOS și va actualiza BIOS-ul.
Actualizarea BIOS-ului cu utilitarul Q-Flash
Înainte de a începe
- De pe site-ul web al GIGABYTE, descărcați cel mai recent fișier comprimat de actualizare BIOS care se potrivește modelului plăcii dumneavoastră de bază.
- Extrageți fișierul și salvați noul fișier BIOS (de exemplu, Z590AORUSXTREMEWB.F1) pe unitatea flash USB sau pe hard disk. Notă: Unitatea flash USB sau hard disk-ul trebuie să utilizeze sistemul de fișiere FAT32/16/12.
- Reporniți sistemul. În timpul POST, apăsați tasta <End> pentru a intra în Q-Flash. Notă: Puteți accesa Q-Flash fie apăsând tasta <End> în timpul POST, fie făcând clic pe pictograma Q-Flash (sau apăsând tasta <F8>) în BIOS Setup. Cu toate acestea, dacă fișierul de actualizare BIOS este salvat pe un hard disk în modul RAID/AHCI sau pe un hard disk conectat la un controler SATA independent, utilizați tasta <End> în timpul POST pentru a accesa Q-Flash.
Deoarece flashing-ul BIOS-ului este potențial riscant, vă rugăm să o faceți cu precauție. Flashing-ul inadecvat al BIOS-ului poate duce la funcționarea defectuoasă a sistemului.
![GIGABYTE - Z590 AORUS XTREME WATERFORCE - Înainte de a începe actualizarea BIOS-ului cu Q-Flash Înainte de a începe actualizarea BIOS-ului cu Q-Flash]()
Faceți clic pe Q-Flash (F8) sau selectați elementul Q-Flash din meniul System Info pentru a accesa Q-Flash.
Actualizarea BIOS-ului
În meniul principal al Q-Flash, utilizați tastatura sau mouse-ul pentru a selecta un element de executat. Când actualizați BIOS-ul, alegeți locația unde este salvat fișierul BIOS. Următoarea procedură presupune că ați salvat fișierul BIOS pe o unitate flash USB.
Pasul 1:
- Introduceți unitatea flash USB care conține fișierul BIOS în computer. În ecranul principal al Q-Flash, selectați Update BIOS (Actualizare BIOS).
![GIGABYTE - Z590 AORUS XTREME WATERFORCE - Actualizarea BIOS-ului - Pasul 1 Actualizarea BIOS-ului - Pasul 1]()
- Opțiunea Save BIOS (Salvare BIOS) vă permite să salvați fișierul BIOS curent.
- Q-Flash acceptă numai unități flash USB sau hard disk-uri care utilizează sistemul de fișiere FAT32/16/12.
- Dacă fișierul de actualizare BIOS este salvat pe un hard disk în modul RAID/AHCI sau pe un hard disk conectat la un controler SATA independent, utilizați tasta <End> în timpul POST pentru a accesa Q-Flash.
- Selectați fișierul de actualizare BIOS.
Asigurați-vă că fișierul de actualizare BIOS se potrivește cu modelul plăcii dumneavoastră de bază.
Pasul 2:
Ecranul va afișa că fișierul BIOS este citit de pe unitatea flash USB. Vă rugăm să selectați Fast (Rapid) sau Intact (Intact) pentru a începe actualizarea BIOS-ului. Ecranul va afișa apoi procesul de actualizare.
- Nu opriți sau reporniți sistemul atunci când sistemul citește/actualizează BIOS-ul.
- Nu scoateți unitatea flash USB sau hard disk-ul atunci când sistemul actualizează BIOS-ul.
Pasul 3:
Sistemul va reporni după finalizarea procesului de actualizare.
Pasul 4:
În timpul POST, apăsați <Delete> pentru a intra în BIOS Setup. Selectați Load Optimized Defaults (Încărcare valori implicite optimizate) pe ecranul Save & Exit (Salvare și ieșire) și apăsați <Enter> pentru a încărca valorile implicite ale BIOS-ului. Sistemul va re-detecta toate dispozitivele periferice după o actualizare BIOS, așa că vă recomandăm să reîncărcați valorile implicite ale BIOS-ului.

Selectați Yes (Da) pentru a încărca valorile implicite ale BIOS-ului
Pasul 5:
Selectați Save & Exit Setup (Salvare și ieșire configurare) și apăsați <Enter>. Apoi selectați Yes (Da) pentru a salva setările în CMOS și a ieși din BIOS Setup. Procedura este finalizată după repornirea sistemului.
Actualizarea BIOS-ului cu utilitarul @BIOS
Înainte de a începe

- În Windows, închideți toate aplicațiile și programele TSR (Terminate and Stay Resident). Acest lucru ajută la prevenirea defecțiunilor neașteptate atunci când efectuați o actualizare BIOS.
- Dacă BIOS-ul este actualizat prin Internet, asigurați-vă că conexiunea la Internet este stabilă și NU întrerupeți conexiunea la Internet (de exemplu, evitați o pierdere de energie sau oprirea Internetului). Nerespectarea acestui lucru poate duce la un BIOS corupt sau la un sistem care nu poate porni.
- Garanția produsului GIGABYTE nu acoperă nicio deteriorare a BIOS-ului sau defecțiune a sistemului rezultată dintr-un flashing inadecvat al BIOS-ului.
Utilizarea @BIOS
- Actualizarea BIOS-ului folosind funcția Internet Update:
![]()
Faceți clic pe Update from Server (Actualizare de pe server), selectați site-ul serverului @BIOS cel mai apropiat de locația dumneavoastră și apoi descărcați fișierul BIOS care se potrivește cu modelul plăcii dumneavoastră de bază. Urmați instrucțiunile de pe ecran pentru a finaliza.
Dacă fișierul de actualizare BIOS pentru placa dumneavoastră de bază nu este prezent pe site-ul serverului @BIOS, vă rugăm să descărcați manual fișierul de actualizare BIOS de pe site-ul web GIGABYTE și să urmați instrucțiunile din "Actualizarea BIOS-ului fără a utiliza funcția Internet Update" de mai jos. - Actualizarea BIOS-ului fără a utiliza funcția Internet Update:
![]()
Faceți clic pe Update from File (Actualizare din fișier), apoi selectați locația unde salvați fișierul de actualizare BIOS obținut de pe Internet sau prin altă sursă. Urmați instrucțiunile de pe ecran pentru a finaliza. - Salvarea fișierului BIOS curent:
![]()
Faceți clic pe Save to File (Salvare în fișier) pentru a salva fișierul BIOS curent. - Schimbarea logo-ului de pornire:
![]()
Faceți clic pe Upload new image (Încărcare imagine nouă) în Face-Wizard și veți putea schimba logo-ul de pornire cu propria dumneavoastră imagine, creând un ecran de pornire personalizat. Faceți clic pe Backup current image (Backup imagine curentă) pentru a salva logo-ul de pornire curent.
Formatele de imagine acceptate includ jpg, bmp și gif.
După actualizarea BIOS-ului
Reporniți sistemul după actualizarea BIOS-ului.
- Asigurați-vă că fișierul BIOS care urmează să fie flash-uit se potrivește cu modelul plăcii dumneavoastră de bază. Actualizarea BIOS-ului cu un fișier BIOS incorect ar putea face ca sistemul dumneavoastră să nu pornească.
- Nu opriți sistemul și nu scoateți alimentarea în timpul procesului de actualizare BIOS, altfel BIOS-ul se poate corupe și sistemul poate să nu pornească.
Utilizarea Q-Flash Plus
Înainte de a începe
- De pe site-ul web al GIGABYTE, descărcați cel mai recent fișier comprimat de actualizare BIOS care se potrivește modelului plăcii dumneavoastră de bază.
- Dezarhivați fișierul BIOS descărcat, salvați-l pe unitatea flash USB și redenumiți-l în GIGABYTE.bin. Notă: Unitatea flash USB trebuie să utilizeze sistemul de fișiere FAT32/16 și trebuie să fie o unitate flash USB 2.0.
- Conectați cablurile de alimentare la conectorul de alimentare de 12V (conectați oricare dintre ele dacă există două) și la conectorul de alimentare principal.
- Vă rugăm să porniți sursa de alimentare înainte de a conecta unitatea flash USB la portul Q-Flash Plus de pe panoul din spate.
Utilizarea Q-Flash Plus
Apăsați butonul Q-Flash Plus și sistemul va căuta și potrivi automat fișierul BIOS din unitatea flash USB de pe portul Q-Flash Plus. QFLED și butonul Q-Flash Plus de pe panoul din spate vor clipi în timpul procesului de potrivire și flashing a BIOS-ului. Așteptați 6-8 minute și LED-urile vor înceta să clipească când flashing-ul BIOS-ului este finalizat.

- Dacă alegeți să actualizați BIOS-ul manual, asigurați-vă mai întâi că sistemul dumneavoastră este oprit (stare de oprire S5).
- Dacă placa dumneavoastră de bază are un comutator BIOS și un comutator SB, resetați-le la setările implicite. (Setarea implicită pentru comutatorul BIOS: Boot de pe BIOS-ul principal; setarea implicită pentru comutatorul SB: Dual BIOS)
- Pe plăcile de bază cu DualBIOS™, funcția DualBIOS™ va continua să actualizeze BIOS-ul de rezervă după ce BIOS-ul principal a fost flash-uit și sistemul repornește. După finalizare, sistemul va reporni din nou și va porni de pe BIOS-ul principal.
APP Center
GIGABYTE App Center vă oferă acces facil la o multitudine de aplicații GIGABYTE care vă ajută să profitați la maximum de placa de bază GIGABYTE (Note). Utilizând o interfață de utilizator simplă și unificată, GIGABYTE App Center vă permite să lansați cu ușurință toate aplicațiile GIGABYTE instalate pe sistemul dumneavoastră, să verificați online actualizările aferente și să descărcați aplicațiile, driverele și BIOS-ul.
Rularea APP Center
Introduceți discul cu driverele plăcii de bază. În ecranul Autorun, accesați Application Software\Install GIGABYTE Utilities pentru a instala GIGABYTE App Center și aplicațiile selectate. Reporniți computerul după finalizarea instalării. În modul Desktop, faceți clic pe pictograma App Center
în zona de notificare pentru a lansa utilitarul App Center (Figura 1). În meniul principal, puteți selecta o aplicație pentru a o rula sau faceți clic pe LiveUpdate (Actualizare live) pentru a actualiza o aplicație online.

Dacă App Center este închis, îl puteți reporni făcând clic pe Launch App Center (Lansați App Center) în meniul Start (Figura 2).

(Note) Aplicațiile disponibile în APP Center pot diferi în funcție de modelul plăcii de bază. Funcțiile acceptate ale fiecărei aplicații pot varia, de asemenea, în funcție de specificațiile plăcii de bază.
EasyTune
EasyTune de la GIGABYTE este o interfață simplă și ușor de utilizat, care permite utilizatorilor să își regleze fin setările sistemului sau să facă overclock/supratensiune în mediul Windows.
Interfața EasyTune
Informații despre file

Funcțiile disponibile în EasyTune pot varia în funcție de modelul plăcii de bază și de CPU. Zona(ele) gri indică faptul că elementul nu este configurabil sau funcția nu este acceptată.
Efectuarea incorectă a overclock-ului/supratensiunii poate duce la deteriorarea componentelor hardware, cum ar fi CPU, chipset și memorie, și poate reduce durata de viață utilă a acestor componente. Înainte de a face overclock/supratensiune, asigurați-vă că cunoașteți pe deplin fiecare funcție a EasyTune, altfel pot apărea instabilitatea sistemului sau alte rezultate neașteptate.
Fast Boot
Prin interfața simplă GIGABYTE Fast Boot, puteți activa sau modifica setarea Fast Boot (Bootare rapidă) sau Next Boot After AC Power Loss (Următoarea bootare după pierderea alimentării cu CA) direct în sistemul de operare.
Interfața Fast Boot
Utilizarea Fast Boot
- BIOS Fast Boot:
Această opțiune este aceeași cu opțiunea Fast Boot (Bootare rapidă) (Note) din BIOS Setup. Vă permite să activați sau să dezactivați funcția de bootare rapidă pentru a scurta timpul de bootare al sistemului de operare. - Next Boot After AC Power Loss:
Această opțiune este aceeași cu opțiunea Next Boot After AC Power Loss din BIOS Setup. Vă permite să selectați modul de bootare al sistemului la revenirea unei pierderi de energie CA. (Acest mod este configurabil numai când BIOS Fast Boot (Bootare rapidă BIOS) este setat pe Enabled (Activat) sau Ultra Fast (Ultra rapid).)
După ce configurați setările, faceți clic pe Save (Salvare) pentru a salva și faceți clic pe Exit (Ieșire). Setările vor intra în vigoare la următoarea bootare. Dacă faceți clic pe butonul Enter BIOS Setup Now (Intrați acum în BIOS Setup), sistemul va reporni și va intra imediat în BIOS Setup.
(Note) Pentru mai multe detalii despre această funcție, consultați capitolul „BIOS Setup”.
Game Boost
Această aplicație vă permite să vă gestionați flexibil aplicațiile pentru a optimiza performanța jocurilor, eliberând resursele sistemului și utilizarea memoriei.
Interfața Game Boost
Utilizarea Game Boost
Selectați aplicația pe care doriți să o suspendați și apoi faceți clic pe Go (Pornire) pentru a optimiza sistemul pentru jocuri. Pentru a readuce computerul la starea în care era înainte, faceți clic pe Revert (Revenire). În plus, sunt furnizate două taste rapide, după cum urmează:
- Optimize (Ctrl+Alt+B): (Optimizare (Ctrl+Alt+B)): Optimează automat platforma de jocuri și performanța jocurilor.
- Revert (Ctrl+Alt+R): (Revenire (Ctrl+Alt+R)): Restabilește computerul la starea de dinainte de începerea jocului.
RGB Fusion
Această aplicație vă permite să activați sau să specificați modul de iluminare al dispozitivului selectat (Note 1) în timp ce vă aflați în mediul Windows.
Interfața RGB Fusion

Utilizarea RGB Fusion
- Pictograma
din colțul din dreapta sus: Permite computerului să se conecteze la aplicația GIGABYTE RGB Fusion instalată pe dispozitivele dumneavoastră portabile. (Note 2) - Faceți clic pe pictograma dispozitivului dorit și selectați culoarea LED/comportamentul de iluminare în secțiunea din dreapta a ecranului.
Static Toate LED-urile emit o singură culoare. Pulse Toate LED-urile se estompează simultan. Flash Toate LED-urile se aprind și se sting simultan. Double Flash Toate LED-urile clipesc într-un model împletit. Color Cycle Toate LED-urile parcurg simultan un spectru complet de culori. Music Toate LED-urile sunt sincronizate cu muzica dumneavoastră. Random Regiunile cu un singur LED clipesc aleatoriu. Wave Un spectru complet de culori cade în cascadă în tot LED-ul. Game Toate LED-urile sunt sincronizate cu jocul dumneavoastră. Off Opriți toate LED-urile. ![GIGABYTE - Z590 AORUS XTREME WATERFORCE - Utilizarea RGB Fusion Utilizarea RGB Fusion]()
- Opțiuni pentru controlul LED-urilor de pe placa de bază și banda LED digitală. Faceți clic pe pictograma plăcii de bază pentru setări suplimentare. (Note)
Selectați zona dorită și selectați culoarea LED/comportamentul de iluminare în secțiunea din dreapta a ecranului.Static LED-urile din regiunea selectată emit o singură culoare. Pulse LED-urile din regiunea selectată se estompează simultan. Flash LED-urile din regiunea selectată se aprind și se sting simultan. Double Flash Toate LED-urile clipesc într-un model împletit. Color Cycle Toate LED-urile parcurg simultan un spectru complet de culori. Digital Wave Un spectru complet de culori cade în cascadă în tot LED-ul armurii. Digital A~I Mode Oferă multiple moduri de iluminare digitală în tot LED-ul armurii și banda LED. Off Dezactivați LED-urile din regiunea selectată.
(Note) Regiunile/Modurile/Culorile disponibile pot varia în funcție de placa de bază.
(Note 1) RGB Fusion va căuta automat dispozitivele care au funcția de iluminare LED și le va afișa în listă.
(Note 2) Vă rugăm să descărcați aplicația GIGABYTE RGB Fusion din App Store sau Google Play.
Smart Backup
Smart Backup vă permite să faceți backup unei partiții ca fișier imagine în fiecare oră. Puteți utiliza aceste imagini pentru a vă restaura sistemul sau fișierele atunci când este necesar.

Meniul principal Smart Backup:
| Button | Descriere |
| Settings (Setări) | Vă permite să selectați partiția sursă și destinație |
| Start (Start) | Vă permite să creați o unitate de salvare |
| Backup Now (Backup acum) | Vă permite să efectuați imediat backup-ul |
| File Recovery... (Recuperare fișiere...) | Vă permite să vă recuperați fișierele din imaginea de backup |
| System Recovery... (Recuperare sistem...) | Vă permite să vă recuperați sistemul din imaginea de backup |

- Smart Backup acceptă doar sistemul de fișiere NTFS.
- Trebuie să selectați partiția de destinație în Settings (Setări) prima dată când utilizați Smart Backup.
- Butonul Backup Now (Backup acum) va fi disponibil doar după 10 minute după ce v-ați conectat la Windows.
- Bifați caseta de selectare Always run on next reboot (Rulează întotdeauna la următoarea repornire) pentru a activa automat Smart Backup după repornirea sistemului.
Crearea unui backup:
Faceți clic pe butonul Settings (Setări) din meniul principal. În caseta de dialog Settings (Setări), selectați partiția sursă și partiția destinație și faceți clic pe OK. Backup-ul inițial va începe după 10 minute și backup-ul regulat va fi efectuat orar. Notă: În mod implicit, toate partițiile de pe unitatea de sistem sunt selectate ca sursă de backup. Destinația backup-ului nu poate fi pe aceeași partiție cu sursa backup-ului.

Salvarea backup-ului într-o locație de rețea:
Dacă doriți să salvați backup-ul într-o locație de rețea, selectați Browse network location (Răsfoiți locația de rețea). Asigurați-vă că computerul dumneavoastră și computerul unde doriți să salvați backup-ul se află în același domeniu. Alegeți locația de rețea unde doriți să stocați backup-ul și introduceți numele de utilizator și parola. Urmați instrucțiunile de pe ecran pentru a finaliza.
Recuperarea unui fișier:
Faceți clic pe butonul File Recovery (Recuperare fișiere) din meniul principal. Utilizați glisorul de timp din partea de sus a ferestrei pop-up pentru a selecta un timp de backup anterior. Panoul din dreapta va afișa partițiile copiate în locația de backup (în folderul My Backup (Backup-ul meu)). Navigați la fișierul dorit și copiați-l.

Recuperarea sistemului cu Smart Backup:
Pași:
- Faceți clic pe butonul System Recovery (Recuperare sistem) din meniul principal.
- Selectați locația unde este salvat backup-ul.
- Utilizați glisorul de timp pentru a selecta un punct în timp.
- Selectați un backup de partiție creat la momentul selectat și faceți clic pe Restore (Restaurare).
- Confirmați dacă doriți să reporniți sistemul pentru a continua cu restaurarea imediat sau mai târziu. Odată ce răspundeți cu „Da”, sistemul va reporni în mediul de recuperare Windows. Urmați instrucțiunile de pe ecran pentru a vă restaura sistemul.
Toate fișierele și programele dumneavoastră vor fi șterse și înlocuite cu cele din backup-ul selectat. Dacă este necesar, asigurați-vă că faceți o copie a datelor dumneavoastră înainte de restaurare.
System Information Viewer
GIGABYTE System Information Viewer vă permite să monitorizați și să reglați viteza ventilatorului în sistemul de operare. De asemenea, puteți afișa informațiile de monitorizare hardware pe desktop pentru a vizualiza starea sistemului în orice moment.
Interfața System Information Viewer
Informații despre file


- Funcția de control al vitezei necesită utilizarea unui ventilator cu design de control al vitezei ventilatorului.
- Pentru a utiliza funcția de detectare a zgomotului, trebuie să aveți o placă de bază cu un header de detectare a zgomotului.
Configurarea intrărilor și ieșirilor audio
După ce instalați driverele incluse ale plăcii de bază, asigurați-vă că conexiunea dvs. la internet funcționează corect. Sistemul va instala automat driverul audio din Microsoft Store. Reporniți sistemul după instalarea driverului audio.
Configurarea audio pe 2/4/5.1/7.1 canale
Placa de bază oferă cinci mufe audio pe panoul din spate care acceptă audio pe 2/4/5.1/7.1 canale. Imaginea de mai jos prezintă atribuirile implicite ale mufelor audio.

Pentru a configura audio pe 4/5.1/7.1 canale, trebuie să reatribuiți mufa Line in pentru a fi ieșire difuzor lateral prin intermediul driverului audio.
Configurarea difuzoarelor
Pasul 1:
Accesați meniul Start și faceți clic pe Realtek Audio Console (Consola audio Realtek).

Pasul 2:
În ecranul Speakers (Difuzoare), faceți clic pe fila Speaker Configuration (Configurare difuzoare). În lista Speaker Configuration (Configurare difuzoare), selectați Stereo, Quadraphonic (Cvadrafonic), 5.1 Speaker (Difuzor 5.1) sau 7.1 Speaker (Difuzor 7.1) în funcție de tipul de configurare a difuzoarelor pe care doriți să o configurați. Apoi, configurarea difuzoarelor este finalizată.

Activarea amplificatorului inteligent pentru căști
Funcția Smart Headphone Amp detectează automat impedanța dispozitivului dvs. audio purtat pe cap, fie că este vorba de căști intraauriculare sau căști high-end, pentru a oferi o dinamică audio optimă. Pentru a activa această funcție, conectați dispozitivul audio purtat pe cap la mufa Line out de pe panoul frontal și apoi accesați pagina Realtek HD Audio 2nd output (A doua ieșire audio HD Realtek). Activați funcția Smart Headphone Amp (Amplificator inteligent pentru căști). Lista Headphone Power (Alimentare căști) de mai jos vă permite să setați manual nivelul volumului căștilor, împiedicând ca volumul să fie prea mare sau prea mic.

Pentru a activa Smart Headphone Amp pentru mufa Line Out din spate, asigurați-vă că conectați dispozitivul audio purtat pe cap la mufa Line Out/Front Speaker Out din spate.
Accesați ecranul Speakers (Difuzoare), elementul Headphone Impedance Sensing (Detectare impedanță căști) din dreapta afișează impedanța curentă a căștilor.

Configurarea căștilor
Când conectați căștile la mufa Line out de pe panoul din spate sau panoul frontal, asigurați-vă că dispozitivul implicit de redare este configurat corect.
Pasul 1:
Localizați pictograma
în zona de notificare și faceți clic dreapta pe pictogramă. Selectați Open Sound settings (Deschideți setările de sunet).

Pasul 2:
Selectați Sound Control Panel (Panou de control al sunetului).

Pasul 3:
În fila Playback (Redare), asigurați-vă că căștile dvs. sunt setate ca dispozitiv implicit de redare. Pentru dispozitivul conectat la mufa Line out de pe panoul din spate, faceți clic dreapta pe Speakers (Difuzoare) și selectați Set as Default Device (Setează ca dispozitiv implicit); pentru dispozitivul conectat la mufa Line out de pe panoul frontal, faceți clic dreapta pe Realtek HD Audio 2nd output (A doua ieșire audio HD Realtek).

Configurarea ieșirii S/PDIF
Mufa S/PDIF Out poate transmite semnale audio către un decodor extern pentru decodare pentru a obține cea mai bună calitate audio.
- Conectarea unui cablu de ieșire S/PDIF:
Conectați un cablu optic S/PDIF la un decodor extern pentru a transmite semnalele audio digitale S/PDIF.
![GIGABYTE - Z590 AORUS XTREME WATERFORCE - Conectarea unui cablu de ieșire S/PDIF Conectarea unui cablu de ieșire S/PDIF]()
- Configurarea ieșirii S/PDIF:
În ecranul Realtek Digital Output (Ieșire digitală Realtek), selectați rata de eșantionare și adâncimea de biți în secțiunea Default Format (Format implicit).
![GIGABYTE - Z590 AORUS XTREME WATERFORCE - Configurarea ieșirii S/PDIF Configurarea ieșirii S/PDIF]()
Utilizarea reportofonului
După configurarea dispozitivului de intrare audio, pentru a deschide Voice Recorder (Reportofonul), accesați meniul Start și căutați Voice Recorder (Reportofonul).

Înregistrarea audio
- Pentru a începe înregistrarea, faceți clic pe pictograma Record (Înregistrare)
. - Pentru a opri înregistrarea, faceți clic pe pictograma Stop recording (Oprire înregistrare)
.
Redarea sunetului înregistrat
Înregistrările vor fi salvate în Documents>Sound Recordings (Documente>Înregistrări sonore). Voice Recorder înregistrează audio în format MPEG-4 (.m4a). Puteți reda înregistrarea cu un program de redare media digitală care acceptă formatul fișierului audio.
DTS:X® Ultra
Auziți ceea ce ați pierdut! Tehnologia DTS:X® Ultra este concepută pentru a vă îmbunătăți experiențele de joc, film, AR și VR pe căști și difuzoare. Oferă o soluție audio avansată care redă sunete deasupra, în jurul și aproape de dvs., intensificând jocul la noi niveluri. Acum, cu suport pentru sunet spațial Microsoft. Caracteristicile cheie includ:
- Sunet 3D credibil
Cea mai recentă redare audio spațială DTS care oferă sunet 3D credibil prin căști și difuzoare. - Sunetul PC devine real
Tehnologia de decodare DTS:X plasează sunetul acolo unde s-ar produce în mod natural în lumea reală. - Auziți sunetul așa cum a fost conceput
Reglarea difuzoarelor și căștilor care păstrează experiența audio așa cum a fost proiectată.
Utilizarea DTS:X Ultra

Pasul 1:
După ce instalați driverele incluse ale plăcii de bază, asigurați-vă că conexiunea dvs. la internet funcționează corect. Sistemul va instala automat DTS:X Ultra din Microsoft Store. Reporniți sistemul după ce este instalat.
Pasul 2:
Conectați dispozitivul audio și selectați DTS:X Ultra (DTS:X Ultra) din meniul Start. Meniul principal Content Mode (Mod conținut) vă permite să selectați moduri de conținut, inclusiv Music (Muzică), Video (Video) și Movies (Filme), sau puteți selecta moduri de sunet reglate special, inclusiv Strategy (Strategie), RPG și Shooter (Împușcături), pentru a se potrivi diferitelor genuri de jocuri. Custom Audio (Audio personalizat) vă permite să creați profiluri audio personalizate pe baza preferințelor personale pentru utilizare ulterioară.
Utilizarea DTS Sound Unbound

Instalarea DTS Sound Unbound
Pasul 1:
Conectați căștile la mufa de ieșire a liniei panoului frontal și asigurați-vă că conexiunea dvs. la internet funcționează corect, Localizați pictograma
în zona de notificare și faceți clic dreapta pe pictogramă. Faceți clic pe Spatial Sound (Sunet spațial) și apoi selectați DTS Sound Unbound (DTS Sound Unbound).
Pasul 2:
Sistemul se va conecta la Microsoft Store. Când apare aplicația DTS Sound Unbound, faceți clic pe Install (Instalare) și urmați instrucțiunile de pe ecran pentru a continua cu instalarea.
Pasul 3:
După ce aplicația DTS Sound Unbound este instalată, faceți clic pe Launch (Lansare). Acceptați End User License Agreement (Acordul de licență pentru utilizatorul final) și reporniți sistemul.
Pasul 4:
Selectați DTS Sound Unbound (DTS Sound Unbound) din meniul Start. DTS Sound Unbound vă permite să utilizați funcțiile DTS Headphone: X și DTS:X.
Depanare
Întrebări frecvente
Pentru a citi mai multe întrebări frecvente pentru placa dvs. de bază, accesați pagina Support\FAQ (Asistență\Întrebări frecvente) de pe site-ul web GIGABYTE.
Î: De ce lumina tastaturii/mouse-ului optic este încă aprinsă după ce computerul se oprește?
R: Unele plăci de bază oferă o cantitate mică de energie de rezervă după ce computerul se oprește și de aceea lumina este încă aprinsă.
Î: Cum șterg valorile CMOS?
R: Pentru plăcile de bază care au un buton Clear CMOS, apăsați acest buton pentru a șterge valorile CMOS (înainte de a face acest lucru, vă rugăm să opriți computerul și să scoateți cablul de alimentare). Pentru plăcile de bază care au un jumper Clear CMOS, consultați instrucțiunile din capitolul „Instalare hardware” pentru a scurta jumperul pentru a șterge valorile CMOS. Dacă placa dvs. nu are acest jumper/buton, consultați instrucțiunile despre bateria plăcii de bază din capitolul „Instalare hardware”. Puteți scoate temporar bateria din suportul bateriei pentru a opri alimentarea CMOS, ceea ce va șterge valorile CMOS după aproximativ un minut.
Î: De ce obțin totuși un sunet slab, chiar dacă am dat difuzorul la volum maxim?
R: Asigurați-vă că difuzorul dvs. este echipat cu un amplificator intern. Dacă nu, încercați un difuzor cu alimentare/amplificator.
Procedura de depanare
Dacă întâmpinați dificultăți în timpul pornirii sistemului, urmați procedura de depanare de mai jos pentru a rezolva problema.


Dacă procedura de mai sus nu poate rezolva problema, contactați locul de achiziție sau dealerul local pentru ajutor. Sau accesați pagina Support\Technical Support (Asistență\Asistență tehnică) pentru a trimite întrebarea dvs. Personalul nostru de asistență pentru clienți vă va răspunde cât mai curând posibil.
Coduri LED de depanare
Bootare normală
| Cod | Descriere |
| 10 | PEI Core este pornit. |
| 11 | Inițializarea pre-memorie a procesorului este pornită. |
| 12~14 | Rezervat. |
| 15 | Inițializarea pre-memorie North-Bridge este pornită. |
| 16~18 | Rezervat. |
| 19 | Inițializarea pre-memorie South-Bridge este pornită. |
| 1A~2A | Rezervat. |
| 2B~2F | Inițializare memorie. |
| 31 | Memoria este instalată. |
| 32~36 | Inițializare CPU PEI. |
| 37~3A | Inițializare IOH PEI. |
| 3B~3E | Inițializare PCH PEI. |
| 3F~4F | Rezervat. |
| 60 | DXE Core este pornit. |
| 61 | Inițializare NVRAM. |
| 62 | Instalarea serviciilor de rulare PCH. |
| 63~67 | Inițializarea CPU DXE este pornită. |
| 68 | Inițializarea punții gazdă PCI este pornită. |
| 69 | Inițializare IOH DXE. |
| 6A | Inițializare IOH SMM. |
| 6B~6F | Rezervat. |
| 70 | Inițializare PCH DXE. |
| 71 | Inițializare PCH SMM. |
| 72 | Inițializarea dispozitivelor PCH. |
| 73~77 | Inițializare PCH DXE (specific modulului PCH). |
| 78 | Inițializare ACPI Core. |
| 79 | Inițializarea CSM este pornită. |
| 7A~7F | Rezervat pentru utilizare AMI. |
| 80~8F | Rezervat pentru utilizare OEM (coduri de inițializare OEM DXE). |
| 90 | Transfer de fază către BDS (Selectarea dispozitivului de bootare) din DXE. |
| 91 | Emite eveniment pentru a conecta driverele. |
| 92 | Inițializarea magistralei PCI este pornită. |
| 93 | Inițializarea hot plug a magistralei PCI. |
| 94 | Enumerarea magistralei PCI pentru a detecta câte resurse sunt solicitate. |
| 95 | Verifică resursele solicitate de dispozitivul PCI. |
| 96 | Alocă resursele dispozitivului PCI. |
| 97 | Dispozitivele de ieșire ale consolei se conectează (ex. Monitorul este aprins). |
| 98 | Dispozitivele de intrare ale consolei se conectează (ex. tastatura/mouse-ul PS2/USB sunt activate). |
| 99 | Inițializare Super IO. |
| 9A | Inițializarea USB este pornită. |
| 9B | Emite resetare în timpul procesului de inițializare USB. |
| 9C | Detectează și instalează toate dispozitivele USB conectate în prezent. |
| 9D | Activează toate dispozitivele USB conectate în prezent. |
| 9E~9F | Rezervat. |
| A0 | Inițializarea IDE este pornită. |
| A1 | Emite resetare în timpul procesului de inițializare IDE. |
| A2 | Detectează și instalează toate dispozitivele IDE conectate în prezent. |
| A3 | Activează toate dispozitivele IDE conectate în prezent. |
| A4 | Inițializarea SCSI este pornită. |
| A5 | Emite resetare în timpul procesului de inițializare SCSI. |
| A6 | Detectează și instalează toate dispozitivele SCSI conectate în prezent. |
| A7 | Activează toate dispozitivele SCSI conectate în prezent. |
| A8 | Verifică parola dacă este necesar. |
| A9 | Configurarea BIOS-ului este pornită. |
| AA | Rezervat. |
| AB | Așteaptă comanda utilizatorului în configurarea BIOS-ului. |
| AC | Rezervat. |
| AD | Emite evenimentul Ready To Boot pentru bootarea sistemului de operare. |
| AE | Bootare către sistemul de operare Legacy. |
| AF | Ieșire din serviciile de bootare. |
| B0 | Începe instalarea AP runtime. |
| B1 | Se termină instalarea AP runtime. |
| B2 | Inițializare Legacy Option ROM. |
| B3 | Repornire sistem dacă este necesar. |
| B4 | Conectare la cald a dispozitivului USB. |
| B5 | Conectare la cald a dispozitivului PCI. |
| B6 | Curățarea NVRAM-ului. |
| B7 | Reconfigurarea setărilor NVRAM. |
| B8~BF | Rezervat. |
| C0~CF | Rezervat. |
Reluare S3
| Cod | Descriere |
| E0 | Reluarea S3 este pornită (apelată de la DXE IPL). |
| E1 | Completează datele scriptului de bootare pentru reluarea S3. |
| E2 | Inițializează VGA pentru reluarea S3. |
| E3 | Apel vector de trezire OS S3. |
Recuperare
| Cod | Descriere |
| F0 | Modul de recuperare va fi declanșat din cauza detectării unui volum de firmware nevalid. |
| F1 | Modul de recuperare va fi declanșat de decizia utilizatorului. |
| F2 | Recuperarea este pornită. |
| F3 | Este găsită imaginea firmware de recuperare. |
| F4 | Este încărcată imaginea firmware de recuperare. |
| F5~F7 | Rezervat pentru codurile de progres AMI viitoare. |
Eroare
| Cod | Descriere |
| 50~55 | Apare o eroare de inițializare a memoriei. |
| 56 | Tip sau viteză CPU nevalidă. |
| 57 | Nepotrivire CPU. |
| 58 | Testul propriu al procesorului a eșuat sau posibilă eroare de cache a procesorului. |
| 59 | Microcodul CPU nu este găsit sau actualizarea microcodului a eșuat. |
| 5A | Eroare internă a procesorului. |
| 5B | Resetarea PPI a eșuat. |
| 5C~5F | Rezervat. |
| D0 | Eroare de inițializare a procesorului. |
| D1 | Eroare de inițializare IOH. |
| D2 | Eroare de inițializare PCH. |
| D3 | Unele dintre protocoalele arhitecturale nu sunt disponibile. |
| D4 | Eroare de alocare a resurselor PCI. Fără resurse. |
| D5 | Fără spațiu pentru inițializarea Legacy Option ROM. |
| D6 | Nu sunt găsite dispozitive de ieșire ale consolei. |
| D7 | Nu sunt găsite dispozitive de intrare ale consolei. |
| D8 | Este o parolă nevalidă. |
| D9~DA | Nu se poate încărca opțiunea de bootare. |
| DB | Actualizarea blițului a eșuat. |
| DC | Protocolul de resetare a eșuat. |
| DE~DF | Rezervat. |
| E8 | Reluarea S3 a eșuat. |
| E9 | S3 Resume PPI nu este găsit. |
| EA | Scriptul de bootare de reluare S3 este nevalid. |
| EB | Apelul de trezire S3 OS a eșuat. |
| EC~EF | Rezervat. |
| F8 | Recuperarea PPI este nevalidă. |
| F9 | Capsula de recuperare nu este găsită. |
| FA | Capsulă de recuperare nevalidă. |
| FB~FF | Rezervat. |
Contactați-ne
- GIGA-BYTE TECHNOLOGY CO., LTD.
Adresă: No.6, Baoqiang Rd., Xindian Dist., New Taipei City 231, Taiwan
TEL: +886-2-8912-4000
FAX: +886-2-8912-4005
Asistență tehnică și non-tehnică (vânzări/marketing): https://esupport.gigabyte.com
Adresă WEB (engleză): https://www.gigabyte.com
Adresă WEB (chineză): https://www.gigabyte.com/tw - G.B.T. INC. - U.S.A.
TEL: +1-626-854-9338
FAX: +1-626-854-9326
Asistență tehnică: https://esupport.gigabyte.com
Informații despre garanție: http://rma.gigabyte.us
Adresă web: https://www.gigabyte.com/us - G.B.T. INC (USA) - Mexico
Tel: +1-626-854-9338 x 215 (Asistență în spaniolă)
FAX: +1-626-854-9326
Correo: soporte@gigabyte-usa.com
Asistență tehnică: http://rma.gigabyte.us
Adresă web: https://www.gigabyte.com/latam - Giga-Byte SINGAPORE PTE. LTD. - Singapore
Adresă WEB: https://www.gigabyte.com/sg - Thailand
Adresă WEB: https://www.gigabyte.com/th - Vietnam
Adresă WEB: https://www.gigabyte.com/vn - NINGBO G.B.T. TECH. TRADING CO., LTD. - China
Adresă WEB: https://www.gigabyte.cn/
Shanghai
TEL: +86-21-63400912
FAX: +86-21-63400682
Beijing
TEL: +86-10-62102838
FAX: +86-10-62102848
Wuhan
TEL: +86-27-87685981
FAX: +86-27-87579461
GuangZhou
TEL: +86-20-87540700
FAX: +86-20-87544306
Chengdu
TEL: +86-28-85483135
FAX: +86-28-85256822
Xian
TEL: +86-29-85531943
FAX: +86-29-85510930
Shenyang
TEL: +86-24-83992342
FAX: +86-24-83992102 - GIGABYTE TECHNOLOGY (INDIA) LIMITED - India
Adresă WEB: https://www.gigabyte.com/in - Saudi Arabia
Adresă WEB: https://www.gigabyte.com/sa - Gigabyte Technology Pty. Ltd. - Australia
Adresă WEB: https://www.gigabyte.com/au - G.B.T. TECHNOLOGY TRADING GMBH - Germany
Adresă WEB: https://www.gigabyte.com/de - G.B.T. TECH. CO., LTD. - U.K.
Adresă WEB: https://www.gigabyte.com/uk - Giga-Byte Technology B.V. - The Netherlands
Adresă WEB: https://www.gigabyte.com/nl - GIGABYTE TECHNOLOGY FRANCE - France
Adresă WEB: https://www.gigabyte.com/fr - Sweden
Adresă WEB: https://www.gigabyte.com/se - Italy
Adresă WEB: http://it.gigabyte.com/ - Spain
Adresă WEB: http://es.gigabyte.com/ - Greece
Adresă WEB: http://www.gigabyte.com.gr/ - Czech Republic
Adresă WEB: http://www.gigabyte.cz/ - Hungary
Adresă WEB: http://hu.gigabyte.com/ - Turkey
Adresă WEB: http://www.gigabyte.com.tr/ - Russia
Adresă WEB: http://www.gigabyte.ru/ - Poland
Adresă WEB: http://www.gigabyte.pl/ - Ukraine
Adresă WEB: http://www.gigabyte.ua/ - Romania
Adresă WEB: https://www.gigabyte.com/ro - Serbia
Adresă WEB: http://www.gigabyte.rs/ - Kazakhstan
Adresă WEB: http://www.gigabyte.kz/
- GIGABYTE eSupport
Pentru a trimite o întrebare tehnică sau non-tehnică (Vânzări/Marketing), vă rugăm să accesați:
https://esupport.gigabyte.com
![GIGABYTE eSupport]()
Referințe
GIGABYTE - eSupport
GIGABYTE Global
GIGABYTE 技嘉科技
GIGABYTE USA RMA
GIGABYTE U.S.A.
GIGABYTE Latin America
GIGABYTE Singapore
GIGABYTE Thailand
GIGABYTE Vietnam
GIGABYTE 技嘉科技
GIGABYTE India
GIGABYTE Saudi Arabia
GIGABYTE Australia
GIGABYTE Germany
GIGABYTE U.K.
GIGABYTE Netherlands
GIGABYTE France
GIGABYTE Sweden
GIGABYTE Italy
GIGABYTE Spain
Descărcați manualul
Aici puteți descărca versiunea completă pdf a manualului, aceasta poate conține instrucțiuni suplimentare de siguranță, informații despre garanție, reguli FCC etc.
Descărcați GIGABYTE Z590 AORUS XTREME WATERFORCE - Manual de utilizare al plăcii de bază



















din colțul din dreapta sus: Permite computerului să se conecteze la aplicația GIGABYTE RGB Fusion instalată pe dispozitivele dumneavoastră portabile. 


.
.