GIGABYTE GA-A320M-DS2 – Manuál k základní desce

Rozvržení základní desky GA-A320M-DS2

Obsah balení
- Základní deska GA-A320M-DS2
- Disk s ovladači základní desky
- Uživatelská příručka
- Dva kabely SATA
- I/O štít
* Výše uvedený obsah balení je pouze orientační a skutečné položky se budou lišit v závislosti na zakoupeném balení produktu.
Obsah balení se může bez upozornění změnit.
Instalace hardwaru
Bezpečnostní opatření při instalaci
Základní deska obsahuje četné citlivé elektronické obvody a komponenty, které se mohou poškodit v důsledku elektrostatického výboje (ESD). Před instalací si pečlivě přečtěte uživatelskou příručku a dodržujte následující postupy:
- Před instalací se ujistěte, že je skříň vhodná pro základní desku.
- Před instalací neodstraňujte ani nepoškozujte štítek S/N (sériové číslo) základní desky nebo záruční štítek poskytnutý vaším prodejcem. Tyto štítky jsou vyžadovány pro ověření záruky.
- Před instalací nebo demontáží základní desky nebo jiných hardwarových komponent vždy odpojte napájení střídavým proudem odpojením napájecího kabelu ze zásuvky.
- Při připojování hardwarových komponent k interním konektorům na základní desce se ujistěte, že jsou pevně a bezpečně připojeny.
- Při manipulaci se základní deskou se nedotýkejte žádných kovových vodičů nebo konektorů.
- Při manipulaci s elektronickými součástkami, jako je základní deska, CPU nebo paměť, je nejlepší nosit elektrostatický náramek (ESD). Pokud nemáte ESD náramek, udržujte ruce suché a nejprve se dotkněte kovového předmětu, abyste eliminovali statickou elektřinu.
- Před instalací základní desky ji umístěte na antistatickou podložku nebo do elektrostaticky stíněného kontejneru.
- Před připojením nebo odpojením napájecího kabelu od základní desky se ujistěte, že je napájení vypnuté.
- Před zapnutím napájení se ujistěte, že bylo nastaveno napětí zdroje podle místní normy napětí.
- Před použitím produktu ověřte, zda jsou připojeny všechny kabely a napájecí konektory hardwarových komponent.
- Abyste zabránili poškození základní desky, nedovolte, aby se šrouby dostaly do kontaktu s obvody základní desky nebo jejími součástmi.
- Ujistěte se, že na základní desce nebo uvnitř počítačové skříně nejsou žádné zbylé šrouby nebo kovové součásti.
- Neumisťujte počítačový systém na nerovný povrch.
- Neumisťujte počítačový systém do prostředí s vysokou teplotou nebo vlhkostí.
- Zapnutí napájení počítače během procesu instalace může vést k poškození systémových komponent i k fyzickému poškození uživatele.
- Pokud si nejste jisti některým z instalačních kroků nebo máte problém související s použitím produktu, obraťte se na certifikovaného počítačového technika.
- Pokud používáte adaptér, prodlužovací napájecí kabel nebo napájecí lištu, ujistěte se, že jste se seznámili s pokyny k instalaci a/nebo uzemnění.
Specifikace produktu
CPU |
|
Čipová sada |
|
Paměť |
|
Integrovaná grafika |
|
Zvuk |
|
LAN |
|
Rozšiřující sloty |
|
Rozhraní úložiště |
|
USB |
|
Interní konektory |
|
Konektory zadního panelu |
|
Řadič I/O |
|
Monitorování hardwaru |
|
BIOS |
|
Jedinečné funkce |
|
Přibalený software |
|
Operační systém |
|
Formát |
|
* Společnost GIGABYTE si vyhrazuje právo provádět jakékoli změny ve specifikacích produktu a informacích souvisejících s produktem bez předchozího upozornění.
(Poznámka) Skutečná podpora se může lišit v závislosti na CPU.
Seznamy podporovaných CPU, paměťových modulů a SSD zařízení naleznete na webových stránkách společnosti GIGABYTE.

Nejnovější verzi aplikací si můžete stáhnout na stránce Support\Utility List na webových stránkách společnosti GIGABYTE.

Instalace CPU
Než začnete instalovat CPU, přečtěte si následující pokyny:
- Ujistěte se, že základní deska podporuje CPU. (Nejnovější seznam podporovaných CPU najdete na webových stránkách společnosti GIGABYTE.)
- Před instalací CPU vždy vypněte počítač a odpojte napájecí kabel ze zásuvky, abyste zabránili poškození hardwaru.
- Vyhledejte pin jedna CPU. Pokud CPU není správně orientována, nelze ji vložit.
- Na povrch CPU naneste rovnoměrnou a tenkou vrstvu teplovodivé pasty.
- Nezapínejte počítač, pokud není nainstalován chladič CPU, jinak může dojít k přehřátí a poškození CPU.
- Nastavte frekvenci hostitele CPU v souladu se specifikacemi CPU. Nedoporučuje se, aby byla frekvence systémové sběrnice nastavena nad rámec hardwarových specifikací, protože nesplňuje standardní požadavky na periferie. Pokud si přejete nastavit frekvenci nad rámec standardních specifikací, učiňte tak podle specifikací vašeho hardwaru, včetně CPU, grafické karty, paměti, pevného disku atd.
Instalace CPU
Vyhledejte pin jedna (označený malým trojúhelníkem) patice CPU a CPU.

Instalace paměti
Před instalací paměti si přečtěte následující pokyny:
- Ujistěte se, že základní deska podporuje paměť. Doporučuje se používat paměť se stejnou kapacitou, značkou, rychlostí a čipy. (Nejnovější podporované rychlosti pamětí a paměťové moduly najdete na webových stránkách společnosti GIGABYTE.)
- Před instalací paměti vždy vypněte počítač a odpojte napájecí kabel ze zásuvky, abyste zabránili poškození hardwaru.
- Paměťové moduly mají spolehlivou konstrukci. Paměťový modul lze nainstalovat pouze jedním směrem. Pokud nemůžete paměť vložit, změňte směr.
Konfigurace dvoukanálové paměti
Tato základní deska poskytuje dvě patice pro paměť a podporuje technologii Dual Channel. Po instalaci paměti systém BIOS automaticky rozpozná specifikace a kapacitu paměti. Povolení režimu Dual Channel memory zdvojnásobí původní šířku pásma paměti. Dvě patice pro paměť jsou rozděleny do dvou kanálů a každý kanál má jednu patici pro paměť, jak následuje:
Kanál A: DDR4_2
Kanál B: DDR4_1
Kvůli omezením CPU si před instalací paměti v režimu Dual Channel přečtěte následující pokyny.
- Režim Dual Channel nelze povolit, pokud je nainstalován pouze jeden paměťový modul.
- Při povolování režimu Dual Channel se dvěma paměťovými moduly se doporučuje používat paměť se stejnou kapacitou, značkou, rychlostí a čipy.
Podrobnosti o instalaci hardwaru najdete na webových stránkách společnosti GIGABYTE.

Instalace rozšiřující karty
Před instalací rozšiřující karty si přečtěte následující pokyny:
- Ujistěte se, že základní deska podporuje rozšiřující kartu. Pečlivě si přečtěte příručku, která byla dodána s vaší rozšiřující kartou.
- Před instalací rozšiřující karty vždy vypněte počítač a odpojte napájecí kabel ze zásuvky, abyste zabránili poškození hardwaru.
Konektory zadního panelu

- Port USB 2.0/1.1
Port USB podporuje specifikaci USB 2.0. Použijte tento port pro zařízení USB. - Port PS/2 pro klávesnici/myš
Použijte tento port pro připojení myši nebo klávesnice PS/2. - Port D-Sub
Port D-Sub podporuje 15kolíkový konektor D-Sub a podporuje maximální rozlišení 1920x1200@60 Hz (skutečné podporované rozlišení závisí na použitém monitoru). K tomuto portu připojte monitor, který podporuje připojení D-Sub. - Port DVI-D (Poznámka)
Port DVI-D odpovídá specifikaci DVI-D a podporuje maximální rozlišení 1920x1200@60 Hz (skutečné podporované rozlišení závisí na použitém monitoru). K tomuto portu připojte monitor, který podporuje připojení DVI-D. - Port USB 3.1 Gen 1
Port USB 3.1 Gen 1 podporuje specifikaci USB 3.1 Gen 1 a je kompatibilní se specifikací USB 2.0. Použijte tento port pro zařízení USB. - Port RJ-45 LAN
Port Gigabit Ethernet LAN poskytuje připojení k internetu s datovou rychlostí až 1 Gb/s. Následuje popis stavů diod LED portu LAN.
![]()
LED připojení/rychlosti:
LED aktivity:Stav Popis Oranžová Datová rychlost 1 Gb/s Zelená Datová rychlost 100 Mb/s Vypnuto Datová rychlost 10 Mb/s Stav Popis Bliká Probíhá přenos nebo příjem dat Vypnuto Neprobíhá žádný přenos ani příjem dat - Port USB 3.1 Gen 2 Type-A (červený)
Port USB 3.1 Gen 2 Type-A podporuje specifikaci USB 3.1 Gen 2 a je kompatibilní se specifikací USB 3.1 Gen 1 a USB 2.0. Použijte tento port pro zařízení USB. - Line In (modrý)
Konektor linkového vstupu. Použijte tento audio konektor pro zařízení linkového vstupu, jako je optická jednotka, walkman atd. - Line Out (zelený)
Konektor linkového výstupu. Použijte tento audio konektor pro sluchátka nebo 2kanálový reproduktor. Tento konektor lze použít k připojení předních reproduktorů v konfiguraci 4/5.1/7.1kanálového zvuku. - Mic In (růžový)
Konektor mikrofonního vstupu.

Chcete-li nakonfigurovat 7.1kanálový zvuk, musíte použít audio modul HD na předním panelu a povolit funkci vícekanálového zvuku prostřednictvím zvukového ovladače. Další informace o softwaru najdete na webových stránkách společnosti GIGABYTE.
- Při odpojování kabelu připojeného ke konektoru na zadním panelu nejprve odpojte kabel od svého zařízení a poté jej odpojte od základní desky.
- Při odpojování kabelu jej vytáhněte přímo z konektoru. Nekývejte s ním ze strany na stranu, abyste zabránili zkratu uvnitř konektoru kabelu.
(Poznámka) Port DVI-D nepodporuje připojení D-Sub pomocí adaptéru.
Interní konektory

- ATX_12V
- ATX
- CPU_FAN
- SYS_FAN1
- SATA3 0/1/2/3
- SPDIF_O
- F_PANEL
- F_AUDIO
- SPEAKER
- CI
- F_USB30
- F_USB1/F_USB2
- COM
- TPM
- BAT
- CLR_CMOS
Před připojením externích zařízení si přečtěte následující pokyny:
- Nejprve se ujistěte, že jsou vaše zařízení kompatibilní s konektory, které chcete připojit.
- Před instalací zařízení se ujistěte, že jste zařízení a počítač vypnuli. Odpojte napájecí kabel ze zásuvky, abyste zabránili poškození zařízení.
- Po instalaci zařízení a před zapnutím počítače se ujistěte, že je kabel zařízení bezpečně připojen ke konektoru na základní desce.
1/2) ATX_12V/ATX (2x4 12V napájecí konektor a 2x12 hlavní napájecí konektor)
Pomocí napájecího konektoru může napájecí zdroj dodávat dostatek stabilního napájení všem komponentám na základní desce. Před připojením napájecího konektoru se nejprve ujistěte, že je napájecí zdroj vypnutý a všechna zařízení jsou správně nainstalována. Napájecí konektor má spolehlivé provedení. Připojte napájecí kabel ke konektoru napájení ve správné orientaci. 12V napájecí konektor dodává napájení hlavně do CPU. Pokud 12V napájecí konektor není připojen, počítač se nespustí.

Pro splnění požadavků na rozšíření se doporučuje používat napájecí zdroj, který odolá vysoké spotřebě energie (500 W nebo více). Pokud se použije napájecí zdroj, který neposkytuje požadovaný výkon, může to vést k nestabilnímu nebo nespustitelnému systému.

| Číslo pinu | Definice | Číslo pinu | Definice |
| 1 | GND (pouze pro 2x4pinový 12V) | 5 | +12V (pouze pro 2x4pinový 12V) |
| 2 | GND (pouze pro 2x4pinový 12V) | 6 | +12V (pouze pro 2x4pinový 12V) |
| 3 | GND | 7 | +12V |
| 4 | GND | 8 | +12V |

| Číslo pinu | Definice | Číslo pinu | Definice |
| 1 | 3.3V | 13 | 3.3V |
| 2 | 3.3V | 14 | -12V |
| 3 | GND | 15 | GND |
| 4 | +5V | 16 | PS_ON (soft On/Off) |
| 5 | GND | 17 | GND |
| 6 | +5V | 18 | GND |
| 7 | GND | 19 | GND |
| 8 | Power Good | 20 | NC |
| 9 | 5VSB (stand by +5V) | 21 | +5V |
| 10 | +12V | 22 | +5V |
| 11 | +12V (pouze pro 2x12pinový ATX) | 23 | +5V (pouze pro 2x12pinový ATX) |
| 12 | 3.3V (pouze pro 2x12pinový ATX) | 24 | GND (pouze pro 2x12pinový ATX) |
3/4) CPU_FAN/SYS_FAN1 (konektory ventilátorů)
Všechny konektory ventilátorů na této základní desce jsou 4pinové. Většina konektorů ventilátorů má spolehlivé provedení pro vložení. Při připojování kabelu ventilátoru jej nezapomeňte připojit ve správné orientaci (černý vodič konektoru je zemnící vodič). Funkce řízení otáček vyžaduje použití ventilátoru s konstrukcí řízení otáček ventilátoru. Pro optimální odvod tepla se doporučuje nainstalovat systémový ventilátor uvnitř šasi.

| Číslo pinu | Definice |
| 1 | GND |
| 2 | Řízení otáček napětí |
| 3 | Snímací |
| 4 | Řízení otáček PWM |
- Nezapomeňte připojit kabely ventilátorů ke konektorům ventilátorů, abyste zabránili přehřátí procesoru a systému. Přehřátí může způsobit poškození procesoru nebo se systém může zablokovat.
- Tyto konektory ventilátorů nejsou konfigurační propojky. Neumisťujte na konektory propojovací krytku.
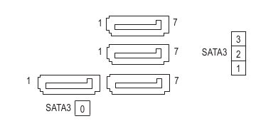
- SATA3 0/1/2/3 (konektory SATA 6Gb/s)
Konektory SATA odpovídají standardu SATA 6Gb/s a jsou kompatibilní se standardy SATA 3Gb/s a SATA 1.5Gb/s. Každý konektor SATA podporuje jedno zařízení SATA. Konektory SATA podporují RAID 0, RAID 1 a RAID 10. Pokyny pro konfiguraci pole RAID naleznete v kapitole „Konfigurace sady RAID“.
Číslo pinu Definice 1 GND 2 TXP 3 TXN 4 GND 5 RXN 6 RXP 7 GND
- SPDIF_O (S/PDIF Out Header)
Tato patice podporuje digitální výstup S/PDIF a připojuje digitální audio kabel S/PDIF (dodávaný rozšiřujícími kartami) pro digitální audio výstup ze základní desky do určitých rozšiřujících karet, jako jsou grafické karty a zvukové karty. Například některé grafické karty mohou vyžadovat použití digitálního audio kabelu S/PDIF pro digitální audio výstup ze základní desky do grafické karty, pokud chcete připojit displej HDMI ke grafické kartě a současně mít digitální audio výstup z displeje HDMI. Informace o připojení digitálního audio kabelu S/PDIF naleznete v příručce k rozšiřující kartě.
Číslo pinu Definice 1 SPDIFO 2 GND
- F_PANEL (patice předního panelu)
Připojte vypínač, resetovací spínač a indikátor stavu systému na šasi k této patici podle níže uvedeného přiřazení pinů. Před připojením kabelů si všimněte kladných a záporných pinů.
- PLED (Power LED):
Připojuje se k indikátoru stavu napájení na předním panelu šasi. LED dioda svítí, když je systém v provozu. LED dioda nesvítí, když je systém v režimu spánku S3/S4 nebo je vypnutý (S5).Stav systému LED S0 Zapnuto S3/S4/S5 Vypnuto - PW (vypínač): Připojuje se k vypínači na předním panelu šasi. Můžete nakonfigurovat způsob vypnutí systému pomocí vypínače (více informací naleznete v kapitole "Nastavení BIOS", "Napájení").
- HD (LED indikátor aktivity pevného disku): Připojuje se k LED indikátoru aktivity pevného disku na předním panelu šasi. LED dioda svítí, když pevný disk čte nebo zapisuje data.
- RES (resetovací spínač): Připojuje se k resetovacímu spínači na předním panelu šasi. Stiskněte resetovací spínač pro restartování počítače, pokud počítač zamrzne a nelze provést normální restart.
- NC: Bez připojení.
- PLED (Power LED):

Provedení předního panelu se může u jednotlivých šasi lišit. Modul předního panelu se skládá hlavně z vypínače, resetovacího spínače, LED indikátoru napájení, LED indikátoru aktivity pevného disku atd. Při připojování modulu předního panelu šasi k této patici se ujistěte, že se přiřazení vodičů a přiřazení pinů správně shodují.
- F_AUDIO (patice předního audio panelu)
Patice předního audio panelu podporuje zvuk Intel High Definition (HD) a zvuk AC'97. K této patici můžete připojit audio modul předního panelu šasi. Ujistěte se, že se přiřazení vodičů konektoru modulu shoduje s přiřazením pinů patice základní desky. Nesprávné připojení mezi konektorem modulu a paticí základní desky způsobí, že zařízení nebude fungovat nebo jej dokonce poškodí.
Pro HD audio na předním panelu:
Číslo pinu Definice 1 MIC2_L 2 GND 3 MIC2_R 4 NC 5 LINE2_R 6 Snímací 7 FAUDIO_JD 8 Bez pinu 9 LINE2_L 10 Snímací Pro AC'97 Audio na předním panelu:
Číslo pinu Definice 1 MIC 2 GND 3 Napájení mikrofonu 4 NC 5 Linkový výstup (R) 6 NC 7 NC 8 Bez pinu 9 Linkový výstup (L) 10 NC ![]()
- Audio header na předním panelu ve výchozím nastavení podporuje HD audio.
- Audio signály budou přítomny současně na audio konektorech na předním i zadním panelu.
- Některé skříně poskytují audio modul na předním panelu, který má na každém vodiči oddělené konektory namísto jedné zástrčky. Informace o připojení audio modulu na předním panelu, který má jiné přiřazení vodičů, získáte od výrobce skříně.
- REPRODUKTOR (konektor reproduktoru)
Připojuje se k reproduktoru na předním panelu skříně. Systém hlásí stav spouštění systému vydáním zvukového kódu. Pokud při spuštění systému není zjištěn žádný problém, uslyšíte jedno krátké pípnutí.
Číslo pinu Definice 1 VCC 2 NC 3 NC 4 SPK-
- CI (konektor detekce vniknutí do skříně)
Tato základní deska poskytuje funkci detekce skříně, která detekuje, zda byl sejmut kryt skříně. Tato funkce vyžaduje skříň s konstrukcí detekce vniknutí do skříně.
Číslo pinu Definice 1 Signál 2 GND
- F_USB30 (USB 3.1 Gen 1 Header)
Header odpovídá specifikaci USB 3.1 Gen 1 a USB 2.0 a může poskytovat dva USB porty. Pro zakoupení volitelného 3,5" předního panelu, který poskytuje dva porty USB 3.1 Gen 1, kontaktujte místního prodejce.
Číslo pinu Definice Číslo pinu Definice 1 VBUS 11 D2+ 2 SSRX1- 12 D2- 3 SSRX1+ 13 GND 4 GND 14 SSTX2+ 5 SSTX1- 15 SSTX2- 6 SSTX1+ 16 GND 7 GND 17 SSRX2+ 8 D1- 18 SSRX2- 9 D1+ 19 VBUS 10 NC 20 Žádný pin
- F_USB1/F_USB2 (USB 2.0/1.1 Headers)
Headery odpovídají specifikaci USB 2.0/1.1. Každý USB header může poskytovat dva USB porty prostřednictvím volitelné USB záslepky. Pro zakoupení volitelné USB záslepky kontaktujte místního prodejce.
Číslo pinu Definice Číslo pinu Definice 1 Napájení (5V) 6 USB DY+ 2 Napájení (5V) 7 GND S 3 USB DX- 8 GND 4 USB DY- 9 Žádný pin 5 USB DX+ 10 NC
- Nezapojujte kabel IEEE 1394 (2x5-pin) do headeru USB 2.0/1.1.
- Před instalací USB záslepky se ujistěte, že jste vypnuli počítač a odpojili napájecí kabel ze zásuvky, aby nedošlo k poškození USB záslepky.
- COM (header sériového portu)
COM header může poskytovat jeden sériový port prostřednictvím volitelného kabelu COM portu. Pro zakoupení volitelného kabelu COM portu kontaktujte místního prodejce.
Číslo pinu Definice Číslo pinu Definice 1 NDCD- 6 NDSR- 2 NSIN 7 NRTS- 3 NSOUT 8 NCTS- 4 NDTR- 9 NRI- 5 GND S F 10 Žádný pin
- TPM (Trusted Platform Module Header)
K tomuto headeru můžete připojit modul TPM (Trusted Platform Module).
Číslo pinu Definice Číslo pinu Definice 1 LCLK 11 LAD0 2 GND 12 GND 3 LFRAME 13 NC 4 Žádný pin 14 NC 5 LRESET 15 SB3V 6 NC 16 SERIRQ 7 LAD3 17 GND 8 LAD2 18 NC 9 VCC3 19 NC 10 LAD1 20 NC
- BAT (baterie)
Baterie dodává energii pro uchování hodnot (jako jsou konfigurace systému BIOS, informace o datu a čase) v CMOS, když je počítač vypnutý. Vyměňte baterii, když napětí baterie klesne na nízkou úroveň, jinak hodnoty CMOS nemusí být přesné nebo mohou být ztraceny.
Hodnoty CMOS můžete vymazat vyjmutím baterie:
- Vypněte počítač a odpojte napájecí kabel.
- Jemně vyjměte baterii z držáku baterie a počkejte jednu minutu. (Nebo použijte kovový předmět, jako je šroubovák, abyste se dotkli kladných a záporných pólů držáku baterie a zkratovali je na 5 sekund.)
- Vyměňte baterii.
- Zapojte napájecí kabel a restartujte počítač.
- Před výměnou baterie vždy vypněte počítač a odpojte napájecí kabel.
- Vyměňte baterii za ekvivalentní. Nebezpečí výbuchu při výměně baterie za nesprávný model.
- Pokud si nejste jisti modelem baterie, obraťte se na místo nákupu nebo místního prodejce nebo si nejste jisti modelem baterie.
- Při instalaci baterie dbejte na orientaci kladné strany (+) a záporné strany (-) baterie (kladná strana by měla směřovat nahoru).
- S použitými bateriemi je nutné nakládat v souladu s místními předpisy o ochraně životního prostředí.
- CLR_CMOS (propojka Clear CMOS)
Použijte tuto propojku k vymazání konfigurace systému BIOS a resetování hodnot CMOS na výchozí tovární nastavení. Chcete-li vymazat hodnoty CMOS, dotkněte se kovovým předmětem, jako je šroubovák, obou pinů na několik sekund.![]()
Otevřít: Normální ![]()
Zkrat: Vymazat hodnoty CMOS
- Před vymazáním hodnot CMOS vždy vypněte počítač a odpojte napájecí kabel ze zásuvky.
- Po restartování systému přejděte do nastavení BIOS a načtěte výchozí tovární nastavení (vyberte možnost Load Optimized Defaults (Načíst optimalizovaná výchozí nastavení)) nebo ručně nakonfigurujte nastavení BIOS (viz kapitola „Nastavení BIOS“ pro konfigurace BIOS).
Nastavení systému BIOS
BIOS (Basic Input and Output System) zaznamenává hardwarové parametry systému do CMOS na základní desce. Mezi jeho hlavní funkce patří provedení testu Power-On Self-Test (POST) při spuštění systému, ukládání systémových parametrů a načítání operačního systému atd. BIOS obsahuje program BIOS Setup, který uživateli umožňuje upravit základní nastavení konfigurace systému nebo aktivovat určité funkce systému. Když je napájení vypnuté, baterie na základní desce dodává potřebnou energii do CMOS, aby udržela konfigurační hodnoty v CMOS. Chcete-li získat přístup do programu BIOS Setup, stiskněte klávesu <Delete> během testu POST, když je zapnuté napájení. Chcete-li aktualizovat systém BIOS, použijte nástroj GIGABYTE Q-Flash nebo @BIOS.
- Q-Flash umožňuje uživateli rychle a snadno aktualizovat nebo zálohovat systém BIOS bez nutnosti vstupovat do operačního systému.
- @BIOS je nástroj pro systém Windows, který vyhledává a stahuje nejnovější verzi systému BIOS z internetu a aktualizuje systém BIOS.
- Protože aktualizace systému BIOS je potenciálně riskantní, pokud se při používání aktuální verze systému BIOS nevyskytnou žádné problémy, doporučujeme systém BIOS neaktualizovat. Pokud chcete systém BIOS aktualizovat, provádějte to opatrně. Nedostatečná aktualizace systému BIOS může vést k poruše systému.
- Doporučujeme neměnit výchozí nastavení (pokud to není nutné), abyste předešli nestabilitě systému nebo jiným neočekávaným výsledkům. Nedostatečná změna nastavení může vést k selhání spuštění systému. Pokud k tomu dojde, zkuste vymazat hodnoty CMOS a resetovat desku na výchozí hodnoty. (Informace o tom, jak vymazat hodnoty CMOS, naleznete v části "Load Optimized Defaults" (Načíst optimalizovaná výchozí nastavení) v této kapitole nebo v úvodech o baterii/propojce pro vymazání CMOS.)
Úvodní obrazovka
Při spuštění počítače se zobrazí následující úvodní obrazovka s logem.
(Vzorová verze systému BIOS: F1b)

Existují dva různé režimy systému BIOS, jak je uvedeno níže, a mezi těmito dvěma režimy můžete přepínat pomocí klávesy <F2>. Režim Classic Setup (Klasické nastavení) poskytuje podrobné nastavení systému BIOS. Pomocí kláves se šipkami na klávesnici se můžete pohybovat mezi položkami a stisknutím klávesy <Enter> přijmout nebo vstoupit do podnabídky. Nebo můžete použít myš k výběru požadované položky. Easy Mode (Snadný režim) umožňuje uživatelům rychle zobrazit aktuální informace o systému nebo provést úpravy pro optimální výkon. V Easy Mode (Snadném režimu) můžete používat myš k pohybu mezi konfiguračními položkami.

- Pokud systém není stabilní jako obvykle, vyberte položku Load Optimized Defaults (Načíst optimalizovaná výchozí nastavení) a nastavte systém na výchozí hodnoty.
- Nabídky nastavení systému BIOS popsané v této kapitole jsou pouze orientační a mohou se lišit podle verze systému BIOS.
M.I.T.

To, zda bude systém stabilně fungovat s nastavením přetaktování/přepětí, které jste provedli, závisí na celkové konfiguraci systému. Nesprávné provedení přetaktování/přepětí může vést k poškození CPU, čipové sady nebo paměti a snížit životnost těchto komponent. Tato stránka je určena pouze pro pokročilé uživatele a doporučujeme vám neměnit výchozí nastavení, abyste předešli nestabilitě systému nebo jiným neočekávaným výsledkům. (Neadekvátní změna nastavení může vést k nespustitelnosti systému. Pokud k tomu dojde, vymažte hodnoty CMOS a resetujte desku na výchozí hodnoty.)
- Pokročilé nastavení frekvence
Hodnota frekvence hostitele
Zobrazuje aktuální provozní frekvenci hostitele.
Poměr taktu CPU
Umožňuje změnit poměr taktu pro nainstalovaný CPU. Nastavitelný rozsah závisí na nainstalovaném CPU.
Frekvence CPU
Zobrazuje aktuální provozní frekvenci CPU. - Pokročilé nastavení jader CPU
Poměr taktu CPU, Frekvence CPU
Výše uvedená nastavení jsou synchronní s nastaveními pod stejnými položkami v nabídce Pokročilé nastavení frekvence.
Zvýšení výkonu jader (Poznámka)
Umožňuje určit, zda povolit technologii Core Performance Boost (CPB), technologii zvýšení výkonu CPU. (Výchozí: Automaticky)
Poměr zvýšení výkonu jader (Poznámka)
Umožňuje změnit poměr pro CPB. Nastavitelný rozsah závisí na nainstalovaném CPU. (Výchozí: Automaticky)
Poměr zvýšení výkonu Turbo (Poznámka)
Umožňuje určit, zda zlepšit výkon CPU. (Výchozí: Zakázáno)
Funkce AMD Cool&Quiet
PovolenoUmožňuje ovladači AMD Cool'n'Quiet dynamicky upravovat takt CPU a VID, aby se snížil výdej tepla z počítače a jeho spotřeba energie. (Výchozí)
ZakázánoZakáže tuto funkci.
Režim SVM
Virtualizace vylepšená virtualizační technologií umožní platformě spouštět více operačních systémů a aplikací v nezávislých oddílech. S virtualizací může jeden počítačový systém fungovat jako více virtuálních systémů. (Výchozí: Zakázáno)
Režim C6 (Poznámka 1)
Umožňuje určit, zda má CPU vstoupit do režimu C6 ve stavu zastavení systému. Pokud je tato možnost povolena, frekvence jádra CPU se během stavu zastavení systému sníží, aby se snížila spotřeba energie. Stav C6 je pokročilejší stav úspory energie než C1. (Výchozí: Povoleno)
Globální řízení stavu C (Poznámka 1)
Umožňuje určit, zda má CPU vstoupit do stavů C. Pokud je tato možnost povolena, frekvence jádra CPU se během stavu zastavení systému sníží, aby se snížila spotřeba energie. (Výchozí: Povoleno)
Režim SMT (Poznámka 1)
Umožňuje povolit nebo zakázat technologii Simultaneous Multi-Threading CPU. Tato funkce funguje pouze pro operační systémy, které podporují režim více procesorů. Automatické nastavení umožňuje systému BIOS automaticky konfigurovat toto nastavení. (Výchozí: Automaticky)
Řízení Downcore (Poznámka 1)
Umožňuje vybrat počet jader CPU, které se mají povolit (počet jader CPU se může lišit podle CPU). Automatické nastavení umožňuje systému BIOS automaticky konfigurovat toto nastavení. (Výchozí: Automaticky)
Extreme Memory Profile (X.M.P.) (Poznámka 2)
Umožňuje systému BIOS číst data SPD na paměťovém modulu(ech) XMP, aby se zvýšil výkon paměti, když je povolena.Zakázáno Zakáže tuto funkci. (Výchozí) Profil1 Používá nastavení Profilu 1. Profil2 (Poznámka 2) Používá nastavení Profilu 2.
Násobitel systémové paměti
Umožňuje nastavit násobitel systémové paměti. Automatické nastavení nastaví násobitel paměti podle dat SPD paměti. (Výchozí: Automaticky)
Frekvence paměti (MHz)
První hodnota frekvence paměti je normální provozní frekvence používané paměti; druhá je frekvence paměti, která se automaticky upravuje podle nastavení Násobitele systémové paměti. -
Pokročilé nastavení paměti
Extreme Memory Profile (X.M.P.) (Poznámka 2), Násobitel systémové paměti, Frekvence paměti (MHz)
Výše uvedená nastavení jsou synchronní s nastaveními pod stejnými položkami v nabídce Pokročilé nastavení frekvence.
Režim časování paměti
Ruční a Pokročilé ruční umožňuje konfigurovat Prokládání kanálů, Prokládání úrovní a nastavení časování paměti níže. Možnosti jsou: Automaticky (výchozí), Ruční, Pokročilé ruční.
Napětí DDR profilu
Při použití paměťového modulu jiného než XMP nebo je-li nastaveno Extreme Memory Profile (X.M.P.) na Zakázáno, zobrazí se hodnota podle specifikace paměti. Pokud je nastaveno Extreme Memory Profile (X.M.P.) na Profil1 nebo Profil2, zobrazí se hodnota podle dat SPD v paměti XMP.
Prokládání kanálů
Povolí nebo zakáže prokládání paměťových kanálů. Povoleno umožňuje systému současně přistupovat k různým kanálům paměti, aby se zvýšil výkon a stabilita paměti. Automatické nastavení umožňuje systému BIOS automaticky konfigurovat toto nastavení. (Výchozí: Automaticky)
Prokládání úrovní
Povolí nebo zakáže prokládání úrovní paměti. Povoleno umožňuje systému současně přistupovat k různým úrovním paměti, aby se zvýšil výkon a stabilita paměti. Automatické nastavení umožňuje systému BIOS automaticky konfigurovat toto nastavení. (Výchozí: Automaticky) -
Podčasování paměti kanálu A/B
Tato podnabídka poskytuje nastavení časování paměti pro každý kanál paměti. Příslušné obrazovky nastavení časování jsou konfigurovatelné pouze tehdy, když je Režim časování paměti nastaven na Ruční nebo Pokročilé ruční. Poznámka: Váš systém se může stát nestabilním nebo se po provedení změn v časování paměti nespustí. Pokud k tomu dojde, resetujte desku na výchozí hodnoty načtením optimalizovaných výchozích hodnot nebo vymazáním hodnot CMOS. -
Pokročilé nastavení napětí
Tato podnabídka umožňuje nastavit napětí CPU, čipové sady a paměti. -
Stav PC Health
Resetovat stav otevření skříně
ZakázánoZachová nebo vymaže záznam o předchozím stavu narušení šasi. (Výchozí)
PovolenoVymaže záznam o předchozím stavu narušení šasi a pole Otevření skříně zobrazí při příštím spuštění „Ne“.
Otevření skříně
Zobrazuje stav detekce zařízení pro detekci narušení šasi připojeného k hlavičce CI základní desky. Pokud je kryt šasi systému odstraněn, toto pole zobrazí „Ano“, jinak zobrazí „Ne“. Chcete-li vymazat záznam o stavu narušení šasi, nastavte možnost Resetovat stav otevření skříně na Povoleno, uložte nastavení do CMOS a poté restartujte systém.
CPU Vcore/CPU VDDP/Napětí kanálu A/B DRAM/+3,3V/+5V/+12V/VCORE SOC
Zobrazuje aktuální systémová napětí. -
Různé nastavení
Konfigurace slotu PCIe
Umožňuje nastavit provozní režim slotů PCI Express na Gen 1, Gen 2 nebo Gen 3. Skutečný provozní režim podléhá hardwarové specifikaci každého slotu. Automatické nastavení umožňuje systému BIOS automaticky konfigurovat toto nastavení. (Výchozí: Automaticky)
Vylepšení 3DMark01
Umožňuje určit, zda se má vylepšit výkon některých starších benchmarků. (Výchozí: Zakázáno) -
Nastavení Smart Fan 5
Monitor
Umožňuje vybrat cíl pro monitorování a provést další úpravy. (Výchozí: Ventilátor CPU)
Řízení otáček ventilátoru
Umožňuje určit, zda povolit funkci řízení otáček ventilátoru a upravit otáčky ventilátoru.
NormálníUmožňuje ventilátoru běžet různými rychlostmi v závislosti na teplotě. Rychlost ventilátoru můžete upravit pomocí nástroje System Information Viewer na základě požadavků vašeho systému. (Výchozí)
TichýUmožňuje ventilátoru běžet nízkou rychlostí.
RučníUmožňuje ovládat otáčky ventilátoru v křivkovém grafu.
Plná rychlostUmožňuje ventilátoru běžet plnou rychlostí.
Vstup teploty pro řízení ventilátoru
Umožňuje vybrat referenční teplotu pro řízení otáček ventilátoru.
Teplotní interval
Umožňuje vybrat teplotní interval pro změnu otáček ventilátoru.
Režim řízení ventilátoru
AutomatickyUmožňuje systému BIOS automaticky detekovat typ nainstalovaného ventilátoru a nastavit optimální režim řízení. (Výchozí)
NapětíRežim napětí se doporučuje pro 3kolíkový ventilátor.
PWMRežim PWM se doporučuje pro 4kolíkový ventilátor.
Teplota
Zobrazuje aktuální teplotu vybrané cílové oblasti.
Otáčky ventilátoru
Zobrazuje aktuální otáčky ventilátoru.
Řízení teplotního varování
Nastaví varovnou prahovou hodnotu pro teplotu. Když teplota překročí prahovou hodnotu, systém BIOS vydá varovný zvuk. Možnosti jsou: Zakázáno (výchozí), 60 º C/140 º F, 70 º C/158 º F, 80 º C/176 º F, 90 º C/194 º F.
Varování při selhání ventilátoru
Umožňuje systému vydávat varovný zvuk, pokud ventilátor není připojen nebo selže. V takovém případě zkontrolujte stav ventilátoru nebo připojení ventilátoru. (Výchozí: Zakázáno)
(Poznámka) Tato položka je přítomna pouze tehdy, když nainstalujete CPU, který tuto funkci podporuje.
(Poznámka 1) Tato položka je přítomna pouze tehdy, když nainstalujete CPU, který tuto funkci podporuje.
(Poznámka 2) Tato položka je přítomna pouze tehdy, když nainstalujete CPU a paměťový modul, které tuto funkci podporují.
Systém

Tato část poskytuje informace o modelu vaší základní desky a verzi systému BIOS. Můžete také vybrat výchozí jazyk používaný systémem BIOS a ručně nastavit systémový čas.
Jazyk systému
Vybere výchozí jazyk používaný systémem BIOS.
Datum systému
Nastaví datum systému. Formát data je týden (pouze pro čtení), měsíc, den a rok. Pomocí <Enter> můžete přepínat mezi poli Měsíc, Den a Rok a pomocí klávesy <Page Up> nebo <Page Down> nastavit požadovanou hodnotu.
Čas systému
Nastaví čas systému. Formát času je hodina, minuta a sekunda. Například 13:00 je 13:00:00. Pomocí <Enter> můžete přepínat mezi poli Hodina, Minuta a Sekunda a pomocí klávesy <Page Up> nebo <Page Down> nastavit požadovanou hodnotu.
Úroveň přístupu
Zobrazí aktuální úroveň přístupu v závislosti na typu použité ochrany heslem. (Pokud není nastaveno žádné heslo, jako výchozí se zobrazí možnost Správce.) Úroveň Správce umožňuje provádět změny všech nastavení systému BIOS; úroveň Uživatel umožňuje provádět změny pouze určitých nastavení systému BIOS, ale ne všech.
BIOS

Priority spouštění
Určuje celkové pořadí spouštění z dostupných zařízení. Zařízení pro výměnná média, která podporují formát GPT, budou v seznamu spouštěcích zařízení označena předponou "UEFI:". Chcete-li spustit operační systém, který podporuje dělení GPT, vyberte zařízení s předponou "UEFI:". Nebo pokud chcete nainstalovat operační systém, který podporuje dělení GPT, jako je Windows 7 64bit, vyberte optickou jednotku, která obsahuje instalační disk Windows 7 64bit a je označena předponou "UEFI:".
Priority BBS pevných disků/CD/DVD ROM mechanik/diskety/síťového zařízení
Určuje pořadí spouštění pro konkrétní typ zařízení, jako jsou pevné disky, optické jednotky, disketové jednotky a zařízení, která podporují funkci Boot from LAN (Spuštění ze sítě) atd. Stisknutím <Enter> na této položce vstoupíte do podnabídky, která zobrazuje zařízení stejného typu, která jsou připojena. Tato položka je přítomna pouze v případě, že je nainstalováno alespoň jedno zařízení tohoto typu.
Bootup NumLock State (Stav NumLock při spuštění)
Povolí nebo zakáže funkci Numlock na numerické klávesnici po testu POST. (Výchozí: Zapnuto)
Možnost zabezpečení
Určuje, zda je heslo vyžadováno při každém spuštění systému, nebo pouze při vstupu do nastavení systému BIOS.
Po konfiguraci této položky nastavte hesla pod položkou Heslo správce/Heslo uživatele.
Nastavení | Heslo je vyžadováno pouze pro vstup do programu nastavení systému BIOS. |
Systém | Heslo je vyžadováno pro spuštění systému a pro vstup do programu nastavení systému BIOS. (Výchozí) |
Zobrazit LOGO na celou obrazovku
Umožňuje určit, zda se má při spuštění systému zobrazit logo GIGABYTE. Pokud je možnost Zakázáno, logo GIGABYTE se při spuštění systému přeskočí. (Výchozí: Povoleno)
Rychlé spuštění
Povolí nebo zakáže rychlé spuštění, aby se zkrátil proces spouštění operačního systému. Ultra Fast (Velmi rychlé) poskytuje nejrychlejší rychlost spouštění. (Výchozí: Zakázáno)
Podpora SATA
Všechna zařízení Sata | Všechna zařízení SATA jsou funkční v operačním systému a během testu POST. |
Pouze poslední spouštěcí HDD | Kromě předchozího spouštěcího disku jsou všechna zařízení SATA před dokončením procesu spouštění operačního systému zakázána. (Výchozí) |
Tuto položku lze konfigurovat pouze v případě, že je u možnosti Rychlé spuštění nastaveno Povoleno nebo Velmi rychlé.
Podpora VGA
Umožňuje vybrat typ operačního systému, který se má spustit.
Automaticky | Povolí pouze starší verzi volitelné paměti ROM. |
EFI Driver (Ovladač EFI) | Povolí volitelnou paměť ROM EFI. (Výchozí) |
Tuto položku lze konfigurovat pouze v případě, že je u možnosti Rychlé spuštění nastaveno Povoleno nebo Velmi rychlé.
Podpora USB
Zakázáno | Všechna zařízení USB jsou před dokončením procesu spouštění operačního systému zakázána. |
Full Initial (Plná inicializace) | Všechna zařízení USB jsou funkční v operačním systému a během testu POST. (Výchozí) |
Partial Initial (Částečná inicializace) | Část zařízení USB je před dokončením procesu spouštění operačního systému zakázána. |
Tuto položku lze konfigurovat pouze v případě, že je u možnosti Rychlé spuštění nastaveno Povoleno. Tato funkce je zakázána, pokud je u možnosti Rychlé spuštění nastaveno Velmi rychlé.
Podpora zařízení PS2
Zakázáno | Všechna zařízení PS/2 jsou před dokončením procesu spouštění operačního systému zakázána. |
Povoleno | Všechna zařízení PS/2 jsou funkční v operačním systému a během testu POST. (Výchozí) |
Tuto položku lze konfigurovat pouze v případě, že je u možnosti Rychlé spuštění nastaveno Povoleno. Tato funkce je zakázána, pokud je u možnosti Rychlé spuštění nastaveno Velmi rychlé.
Podpora ovladače síťového zásobníku
Zakázáno | Zakáže spouštění ze sítě. (Výchozí) |
Povoleno | Povolí spouštění ze sítě. |
Tuto položku lze konfigurovat pouze v případě, že je u možnosti Rychlé spuštění nastaveno Povoleno nebo Velmi rychlé.
Funkce Windows 10
Umožňuje vybrat operační systém, který se má nainstalovat. (Výchozí: Jiný operační systém)
Podpora CSM
Povolí nebo zakáže UEFI CSM (modul podpory kompatibility) pro podporu staršího procesu spouštění počítače.
Povoleno | Povolí UEFI CSM. (Výchozí) |
Zakázáno | Zakáže UEFI CSM a podporuje pouze proces spouštění systému UEFI BIOS. |
Tuto položku lze konfigurovat pouze v případě, že je u možnosti Funkce Windows 10 nastaveno Windows 10 nebo Windows 10 WHQL.
LAN PXE Boot Option ROM
Umožňuje vybrat, zda se má povolit starší verze volitelné paměti ROM pro řadič LAN. (Výchozí: Zakázáno) Tuto položku lze konfigurovat pouze v případě, že je u možnosti Podpora CSM nastaveno Povoleno.
Storage Boot Option Control (Ovládání možností spouštění úložiště)
Umožňuje vybrat, zda se má povolit UEFI nebo starší verze volitelné paměti ROM pro řadič úložného zařízení.
Zakázáno | Zakáže volitelnou paměť ROM. |
Pouze UEFI | Povolí pouze volitelnou paměť ROM UEFI. |
Pouze starší verze | Povolí pouze starší verzi volitelné paměti ROM. (Výchozí) |
Tuto položku lze konfigurovat pouze v případě, že je u možnosti Podpora CSM nastaveno Povoleno.
Priorita paměti ROM jiného zařízení PCI
Umožňuje vybrat, zda se má povolit UEFI nebo starší verze volitelné paměti ROM pro řadič zařízení PCI jiného než LAN, úložné zařízení a grafické řadiče.
Zakázáno | Zakáže volitelnou paměť ROM. |
Pouze UEFI | Povolí pouze volitelnou paměť ROM UEFI. (Výchozí) |
Pouze starší verze | Povolí pouze starší verzi volitelné paměti ROM. |
Tuto položku lze konfigurovat pouze v případě, že je u možnosti Podpora CSM nastaveno Povoleno.
Síťový zásobník
Zakáže nebo povolí spouštění ze sítě pro instalaci operačního systému ve formátu GPT, například instalaci operačního systému ze serveru Windows Deployment Services. (Výchozí: Zakázáno)
Podpora Ipv4 PXE
Povolí nebo zakáže podporu IPv4 PXE. Tuto položku lze konfigurovat pouze v případě, že je u možnosti Síťový zásobník nastaveno Povoleno.
Podpora Ipv4 HTTP
Povolí nebo zakáže podporu spouštění HTTP pro IPv4. Tuto položku lze konfigurovat pouze v případě, že je u možnosti Síťový zásobník nastaveno Povoleno.
Podpora Ipv6 PXE
Povolí nebo zakáže podporu IPv6 PXE. Tuto položku lze konfigurovat pouze v případě, že je u možnosti Síťový zásobník nastaveno Povoleno.
Podpora Ipv6 HTTP
Povolí nebo zakáže podporu spouštění HTTP pro IPv6. Tuto položku lze konfigurovat pouze v případě, že je u možnosti Síťový zásobník nastaveno Povoleno.
Heslo správce
Umožňuje konfigurovat heslo správce. Stiskněte <Enter> na této položce, zadejte heslo a poté stiskněte <Enter>. Budete vyzváni k potvrzení hesla. Zadejte heslo znovu a stiskněte <Enter>. Heslo správce (nebo heslo uživatele) musíte zadat při spuštění systému a při vstupu do nastavení systému BIOS. Na rozdíl od hesla uživatele vám heslo správce umožňuje provádět změny všech nastavení systému BIOS.
Heslo uživatele
Umožňuje konfigurovat heslo uživatele. Stiskněte <Enter> na této položce, zadejte heslo a poté stiskněte <Enter>. Budete vyzváni k potvrzení hesla. Zadejte heslo znovu a stiskněte <Enter>. Heslo správce (nebo heslo uživatele) musíte zadat při spuštění systému a při vstupu do nastavení systému BIOS. Heslo uživatele vám však umožňuje provádět změny pouze určitých nastavení systému BIOS, ale ne všech. Chcete-li heslo zrušit, stiskněte <Enter> na položce hesla, a když budete vyzváni k zadání hesla, zadejte nejprve správné heslo. Když budete vyzváni k zadání nového hesla, stiskněte <Enter> bez zadání jakéhokoli hesla. Stiskněte <Enter> znovu, když budete vyzváni k potvrzení.
POZNÁMKA: Před nastavením hesla uživatele se ujistěte, že jste nejprve nastavili heslo správce.
Periferní zařízení

AMD CPU fTPM
Povolí nebo zakáže funkci TPM 2.0 integrovanou v procesoru AMD CPU. (Výchozí: Zakázáno)
Primární videozařízení (Poznámka)
Určuje první inicializaci zobrazení monitoru z nainstalované grafické karty PCI Express nebo integrované grafiky.
IGD Video | Nastaví integrovanou grafiku jako první zobrazení. |
NB PCIe Slot Video | Nastaví grafickou kartu PCI Express na slotu PCI Express ovládaném severním můstkem jako první zobrazení. (Výchozí) |
Ambient LED
Povolí nebo zakáže zvukovou LED na desce. (Výchozí: Zapnuto)
Podpora starší verze USB
Umožňuje použití klávesnice/myši USB v MS-DOS. (Výchozí: Povoleno)
XHCI Hand-off
Určuje, zda se má povolit funkce XHCI Hand-off pro operační systém bez podpory XHCI Hand-off. (Výchozí: Povoleno)
EHCI Hand-off
Určuje, zda se má povolit funkce EHCI Hand-off pro operační systém bez podpory EHCI Hand-off. (Výchozí: Zakázáno)
Emulace portu 60/64
Povolí nebo zakáže emulaci I/O portů 64h a 60h. Toto by mělo být povoleno pro plnou podporu starších zařízení pro klávesnice/myši USB v MS-DOS nebo v operačním systému, který nativně nepodporuje zařízení USB. (Výchozí: Zakázáno)
Podpora ovladače velkokapacitních paměťových zařízení USB
Povolí nebo zakáže podporu paměťových zařízení USB. (Výchozí: Povoleno)
Paměťová zařízení USB
Zobrazí seznam připojených velkokapacitních paměťových zařízení USB. Tato položka se zobrazí pouze v případě, že je nainstalováno paměťové zařízení USB.
- Trusted Computing
Povolí nebo zakáže modul Trusted Platform Module (TPM). - Konfigurace Super IO
Sériový port 1
Povolí nebo zakáže sériový port na desce. (Výchozí: Povoleno) - Konfigurace NVMe
Zobrazí informace o vašem NVME PCIe SSD, pokud je nainstalován. - Konfigurace řadiče OffBoard SATA
Zobrazí informace o vašem PCIe SSD, pokud je nainstalován.
(Poznámka) Tato položka je k dispozici pouze v případě, že nainstalujete procesor, který podporuje tuto funkci.
Čipová sada

IOMMU
Povolí nebo zakáže podporu AMD IOMMU. (Výchozí: Automaticky)
Integrovaná grafika (Poznámka)
Povolí nebo zakáže funkci integrované grafiky.
Auto | Systém BIOS automaticky povolí nebo zakáže integrovanou grafiku v závislosti na nainstalované grafické kartě. (Výchozí) |
Disabled | Zakáže integrovanou grafiku. |
Velikost vyrovnávací paměti rámce UMA (Poznámka)
Velikost vyrovnávací paměti rámce je celkové množství systémové paměti vyhrazené výhradně pro integrovaný grafický řadič. MS-DOS, například, bude používat pouze tuto paměť pro zobrazení. Možnosti jsou: Automaticky (výchozí), 32M, 64M, 128M, 256M, 512M, 1G, 2G.
Režim SATA
Povolí nebo zakáže RAID pro řadiče SATA nebo konfiguruje řadiče SATA do režimu AHCI.
RAID | Povolí RAID pro řadič SATA. |
AHCI | Konfiguruje řadiče SATA do režimu AHCI. Advanced Host Controller Interface (AHCI) je specifikace rozhraní, která umožňuje ovladači úložiště povolit pokročilé funkce Serial ATA, jako je Native Command Queuing a hot plug. (Výchozí) |
Povolení portu SATA čipové sady
Povolí nebo zakáže integrované řadiče SATA. (Výchozí: Povoleno)
Port SATA čipové sady 0/1/2/3
Povolí nebo zakáže každý port SATA.
(Poznámka) Tato položka je k dispozici pouze v případě, že nainstalujete procesor, který podporuje tuto funkci.
Napájení

AC BACK
Určuje stav systému po obnovení napájení ze ztráty střídavého proudu.
Memory | Systém se po obnovení napájení střídavým proudem vrátí do svého posledního známého stavu probuzení. |
Always On | Systém se zapne po obnovení napájení střídavým proudem. |
Always Off | Systém zůstane vypnutý po obnovení napájení střídavým proudem. (Výchozí) |
Zapnutí klávesnicí
Umožňuje zapnutí systému událostí probuzení klávesnice PS/2.
Poznámka: Chcete-li používat tuto funkci, potřebujete napájecí zdroj ATX poskytující alespoň 1A na vodiči +5VSB.
Disabled | Zakáže tuto funkci. (Výchozí) |
Password | Nastavte heslo s 1~5 znaky pro zapnutí systému. |
Keyboard 98 | Stiskněte tlačítko POWER na klávesnici Windows 98 pro zapnutí systému. |
Any key | Stisknutím libovolné klávesy zapnete systém. |
Heslo pro zapnutí
Nastavte heslo, když je možnost Power On By Keyboard nastavena na Heslo. Stiskněte <Enter> na této položce a nastavte heslo s až 5 znaky a poté stiskněte <Enter> pro přijetí. Chcete-li zapnout systém, zadejte heslo a stiskněte <Enter>.
Poznámka: Chcete-li heslo zrušit, stiskněte <Enter> na této položce. Po zobrazení výzvy k zadání hesla stiskněte znovu <Enter> bez zadání hesla pro vymazání nastavení hesla.
Zapnutí myší
Umožňuje zapnutí systému událostí probuzení myši PS/2.
Poznámka: Chcete-li používat tuto funkci, potřebujete napájecí zdroj ATX poskytující alespoň 1A na vodiči +5VSB.
Disabled | Zakáže tuto funkci. (Výchozí) |
Move | Pohybem myši zapněte systém. |
Double Click | Dvojitým kliknutím levým tlačítkem myši zapnete systém. |
ErP
Určuje, zda má systém spotřebovávat nejmenší energii ve stavu S5 (vypnuto). Poznámka: Pokud je tato položka nastavena na Povoleno, následující funkce nebudou k dispozici: Obnovení pomocí budíku, probuzení událostí PME, zapnutí myší, zapnutí klávesnicí a probuzení přes LAN.
Soft-Off by PWR-BTTN
Konfiguruje způsob vypnutí počítače v režimu MS-DOS pomocí vypínače.
Instant-Off | Stiskněte vypínač a systém se okamžitě vypne. (Výchozí) |
Delay 4 Sec. | Stiskněte a podržte vypínač po dobu 4 sekund pro vypnutí systému. Pokud je vypínač stisknut po dobu kratší než 4 sekundy, systém přejde do režimu spánku. |
Obnovení pomocí budíku
Určuje, zda se má systém zapnout v požadovaný čas. (Výchozí: Zakázáno) Pokud je povoleno, nastavte datum a čas následovně:
Den probuzení: Zapněte systém v určitou dobu každý den nebo v určitý den v měsíci.
Hodina/minuta/sekunda probuzení: Nastavte čas, ve kterém se systém automaticky zapne.
Poznámka: Při používání této funkce se vyhněte nedostatečnému vypnutí z operačního systému nebo odpojení napájení střídavým proudem, jinak nemusí být nastavení účinná.
Probuzení přes LAN
Povolí nebo zakáže funkci probuzení přes LAN. (Výchozí: Povoleno)
Časovač událostí s vysokou přesností
Povolí nebo zakáže časovač událostí s vysokou přesností (HPET) v operačním systému. (Výchozí: Povoleno)
Uložit & Ukončit

Uložit & Ukončit nastavení
Stiskněte <Enter> na této položce a vyberte Ano. Tím se uloží změny do CMOS a ukončí program nastavení systému BIOS. Vyberte Ne nebo stiskněte <Esc> pro návrat do hlavní nabídky nastavení systému BIOS.
Ukončit bez uložení
Stiskněte <Enter> na této položce a vyberte Ano. Tím se ukončí nastavení systému BIOS bez uložení změn provedených v nastavení systému BIOS do CMOS. Vyberte Ne nebo stiskněte <Esc> pro návrat do hlavní nabídky nastavení systému BIOS.
Načíst optimalizovaná výchozí nastavení
Stiskněte <Enter> na této položce a vyberte Ano pro načtení optimálních výchozích nastavení systému BIOS. Výchozí nastavení systému BIOS pomáhají systému fungovat v optimálním stavu. Vždy načtěte optimalizovaná výchozí nastavení po aktualizaci systému BIOS nebo po vymazání hodnot CMOS.
Přepsání spouštění
Umožňuje vybrat zařízení pro okamžité spuštění. Stiskněte <Enter> na zařízení, které vyberete, a vyberte Ano pro potvrzení. Váš systém se automaticky restartuje a spustí z tohoto zařízení.
Uložit profily
Tato funkce umožňuje uložit aktuální nastavení systému BIOS do profilu. Můžete vytvořit až 8 profilů a uložit je jako Setup Profile 1~ Setup Profile 8. Stiskněte <Enter> pro dokončení. Nebo můžete vybrat Select File in HDD/FDD/USB (Vybrat soubor v HDD/FDD/USB) pro uložení profilu do úložného zařízení.
Načíst profily
Pokud se váš systém stane nestabilním a načetli jste výchozí nastavení systému BIOS, můžete použít tuto funkci k načtení nastavení systému BIOS z dříve vytvořeného profilu, bez potíží s opětovnou konfigurací nastavení systému BIOS. Nejprve vyberte profil, který chcete načíst, a poté stiskněte <Enter> pro dokončení. Můžete vybrat Select File in HDD/FDD/USB (Vybrat soubor v HDD/FDD/USB) pro vložení profilu dříve vytvořeného z vašeho úložného zařízení nebo načtení profilu automaticky vytvořeného systémem BIOS, například vrácení nastavení systému BIOS na poslední nastavení, která fungovala správně (poslední známý dobrý záznam).
Konfigurace sady RAID
Úrovně RAID
| RAID 0 | RAID 1 | RAID 10 | |
| Minimální počet pevných disků | ≥2 | 2 | 4 |
| Kapacita pole | Počet pevných disků * Velikost nejmenšího disku | Velikost nejmenšího disku | (Počet pevných disků/2) * Velikost nejmenšího disku |
| Tolerance chyb | Ne | Ano | Ano |
Než začnete, připravte si následující položky:
- Alespoň dva pevné disky SATA nebo SSD (pro zajištění optimálního výkonu se doporučuje použít dva pevné disky se stejným modelem a kapacitou).
- Instalační disk Windows.
- Disk s ovladači základní desky.
- USB flash disk.
Konfigurace řadičů SATA
- Instalace pevných disků
Nainstalujte pevné disky do konektorů SATA na základní desce. Poté připojte napájecí konektory ze zdroje k pevným diskům. - Konfigurace režimu řadiče SATA v nastavení systému BIOS
Ujistěte se, že jste správně nakonfigurovali režim řadiče SATA v nastavení systému BIOS.
Kroky:- Zapněte počítač a stisknutím klávesy <Delete> vstoupíte do nastavení systému BIOS během POST (Power-On Self-Test). V části Chipset (Čipová sada) zkontrolujte, zda je povoleno Chipset SATA Port Enable (Povolení portu SATA čipové sady). Nastavte SATA Mode (Režim SATA) na RAID. Poté uložte nastavení a restartujte počítač.
- Chcete-li nakonfigurovat UEFI RAID, postupujte podle kroků v části "C-1." Pro vstup do staršího systému RAID ROM uložte nastavení a ukončete nastavení systému BIOS. Další informace naleznete v části "C-2".
![]()
Nabídky nastavení systému BIOS popsané v této části se mohou lišit od přesného nastavení vaší základní desky. Skutečné možnosti nabídky nastavení systému BIOS, které uvidíte, budou záviset na základní desce, kterou máte, a na verzi systému BIOS.
-
- Konfigurace UEFI RAID
Pouze 64bitová verze Windows 10 podporuje konfiguraci UEFI RAID.
Krok:- V nastavení systému BIOS přejděte do systému BIOS a nastavte položku Windows 10 Features (Funkce Windows 10) na Windows 10 a položku CSM Support (Podpora CSM) na Disabled (Zakázáno). Uložte změny a ukončete nastavení systému BIOS.
- Po restartování systému znovu vstupte do nastavení systému BIOS. Poté vstupte do podnabídky Peripherals\RAIDXpert2 Configuration Utility (Periferie\Konfigurace RAIDXpert2).
- Na obrazovce RAIDXpert2 Configuration Utility (Konfigurace RAIDXpert2) stiskněte <Enter> na Array Management (Správa pole) pro vstup na obrazovku Create Array (Vytvořit pole). Poté vyberte úroveň RAID. Podporované úrovně RAID zahrnují RAID 0, RAID 1 a RAID 10 (dostupné možnosti závisí na počtu instalovaných pevných disků). Dále stiskněte <Enter> na Select Physical Disks (Vybrat fyzické disky) pro vstup na obrazovku Select Physical Disks (Vybrat fyzické disky).
- Na obrazovce Select Physical Disks (Vybrat fyzické disky) vyberte pevné disky, které mají být zahrnuty do pole RAID, a nastavte je na Enabled (Povoleno). Dále pomocí klávesy se šipkou dolů přejděte na Apply Changes (Použít změny) a stiskněte <Enter>. Poté se vraťte na předchozí obrazovku a nastavte Array Size (Velikost pole), Array Size Unit (Jednotka velikosti pole), Read Cache Policy (Zásady vyrovnávací paměti čtení) a Write Cache Policy (Zásady vyrovnávací paměti zápisu).
- Po nastavení kapacity přejděte na Create Array (Vytvořit pole) a stisknutím klávesy <Enter> spusťte.
- Po dokončení budete přesměrováni zpět na obrazovku Array Management (Správa pole). V části Manage Array Properties (Spravovat vlastnosti pole) můžete vidět nový svazek RAID a informace o úrovni RAID, názvu pole, kapacitě pole atd.
- Konfigurace staršího systému RAID ROM
Chcete-li nakonfigurovat pole RAID, vstupte do nástroje pro nastavení staršího systému RAID BIOS. Tento krok přeskočte a pokračujte v instalaci operačního systému Windows pro konfiguraci bez RAID.
Krok:
- Konfigurace UEFI RAID
- Po zahájení testu paměti POST a před zahájením spouštění operačního systému vyhledejte zprávu, která říká "Press <Ctrl-R> to Configure" (Stiskněte <Ctrl-R> pro konfiguraci). Stisknutím kláves <Ctrl> + <R> vstoupíte do nástroje pro nastavení systému RAID BIOS.
- Chcete-li vytvořit nové pole, stiskněte <Enter> na možnost Create Array (Vytvořit pole).
- Výběrový pruh se přesune do sekce Disks (Disky) na pravé straně obrazovky. Vyberte pevné disky, které mají být zahrnuty do pole RAID. Pomocí klávesy se šipkou nahoru nebo dolů vyberte pevný disk a stiskněte <Insert>. Vybraný pevný disk se zobrazí zeleně. Chcete-li použít všechny pevné disky, jednoduše stiskněte <A> pro výběr všech. Poté stiskněte <Enter> a výběrový pruh se přesune do sekce User Input (Uživatelský vstup) v levé dolní části obrazovky.
- Nejprve vyberte režim RAID a stiskněte <Enter>. Dostupné možnosti závisí na počtu pevných disků , které jsou nainstalovány. Poté postupujte podle pokynů na obrazovce a zadejte velikost pole. Můžete vybrat možnost All available space (Veškeré dostupné místo) pro použití maximální povolené velikosti nebo pomocí klávesy se šipkou nahoru nebo dolů upravit velikost a stisknout <Enter>.
- Vyberte režim ukládání do mezipaměti. Možnosti zahrnují Read/Write (Čtení/Zápis), Read Only (Pouze čtení) a None (Žádný). Poté stisknutím klávesy <Enter> pokračujte.
- Nakonec se zobrazí zpráva "Confirm Creation of Array" (Potvrdit vytvoření pole). Stiskněte <C> pro potvrzení nebo <Esc> pro návrat na předchozí obrazovku.
- Po dokončení se na hlavní obrazovce zobrazí nové pole. Chcete-li ukončit nástroj RAID BIOS, stiskněte <Esc> a poté stiskněte <C> pro potvrzení.
Instalace ovladače SATA RAID/AHCI a operačního systému
Se správným nastavením systému BIOS jste připraveni nainstalovat operační systém.
Instalace operačního systému
Protože některé operační systémy již obsahují ovladač SATA RAID/AHCI, nemusíte během procesu instalace systému Windows instalovat samostatný ovladač RAID/AHCI. Po instalaci operačního systému doporučujeme nainstalovat všechny požadované ovladače z disku s ovladači základní desky pomocí "Xpress Install" (Expresní instalace), abyste zajistili výkon a kompatibilitu systému. Pokud instalovaný operační systém vyžaduje, abyste během procesu instalace OS poskytli další ovladač SATA RAID/AHCI, postupujte podle následujících kroků:
- Zkopírujte složku Hw10 ve složce \Boot na disku s ovladači na USB flash disk.
- Spusťte systém z instalačního disku Windows a proveďte standardní kroky instalace OS. Když se zobrazí obrazovka s požadavkem na načtení ovladače, vyberte Browse (Procházet).
- Vložte USB flash disk a poté přejděte do umístění ovladače. Umístění ovladače je následující: \Hw10\RAID\x64
- Nejprve vyberte AMD-RAID Bottom Device a kliknutím na Next (Další) načtěte ovladač. Poté vyberte AMD-RAID Controller a kliknutím na Next (Další) načtěte ovladač. Nakonec pokračujte v instalaci OS.
Podrobnosti o konfiguraci pole RAID naleznete na webových stránkách společnosti GIGABYTE.

Instalace ovladačů

- Před instalací ovladačů nejprve nainstalujte operační systém. (Následující pokyny používají Windows 10 jako příklad operačního systému.)
- Po instalaci operačního systému vložte disk s ovladači základní desky do optické mechaniky. Klikněte na zprávu "Tap to choose what happens with this disc" (Klepnutím vyberte, co se má s tímto diskem stát) v pravém horním rohu obrazovky a vyberte "Run Run.exe" (Spustit Run.exe). (Nebo přejděte do složky Tento počítač, dvakrát klikněte na optickou mechaniku a spusťte program Run.exe.)
"Xpress Install" (Expresní instalace) automaticky prohledá váš systém a poté zobrazí seznam všech ovladačů, které se doporučuje nainstalovat. Můžete kliknout na tlačítko Xpress Install a "Xpress Install" (Expresní instalace) nainstaluje všechny vybrané ovladače. Nebo klikněte na ikonu šipky
pro individuální instalaci ovladačů, které potřebujete.

Další informace o softwaru naleznete na webových stránkách společnosti GIGABYTE.

Podrobnosti o konfiguraci zvukového softwaru naleznete na webových stránkách společnosti GIGABYTE.


Kontaktujte nás
GIGA-BYTE TECHNOLOGY CO., LTD.
Address: No.6, Baoqiang Rd., Xindian Dist., New Taipei City 231, Taiwan
TEL: +886-2-8912-4000, FAX: +886-2-8912-4005
Tech. and Non-Tech. Support (Sales/Marketing): http://esupport.gigabyte.com
WEB address (English): http://www.gigabyte.com
WEB address (Chinese): http://www.gigabyte.tw
- GIGABYTE eSupport
To submit a technical or non-technical (Sales/Marketing) question, please link to: http://esupport.gigabyte.com
![GIGABYTE - GA-A320M-DS2 - eSupport eSupport]()
Identifikace revize základní desky
Číslo revize na vaší základní desce vypadá takto: "REV: X.X." Například "REV: 1.0" znamená, že revize základní desky je 1.0. Před aktualizací systému BIOS základní desky, ovladačů nebo při hledání technických informací zkontrolujte revizi základní desky.
Příklad:

Další podrobnosti o produktu naleznete na webových stránkách společnosti GIGABYTE.

Copyright
© 2017 GIGA-BYTE TECHNOLOGY CO., LTD. Všechna práva vyhrazena. Ochranné známky uvedené v této příručce jsou zákonně registrovány příslušným vlastníkům.

Reference
Stáhnout návod
Zde si můžete stáhnout úplnou verzi návodu ve formátu pdf, může obsahovat další bezpečnostní pokyny, informace o záruce, pravidla FCC atd.
Stáhnout GIGABYTE GA-A320M-DS2 – Manuál k základní desce





















